GM Service Manual Online
For 1990-2009 cars only

Object Number: 882358  Size: MF
OBD II Symbol Description Notice

Circuit Description

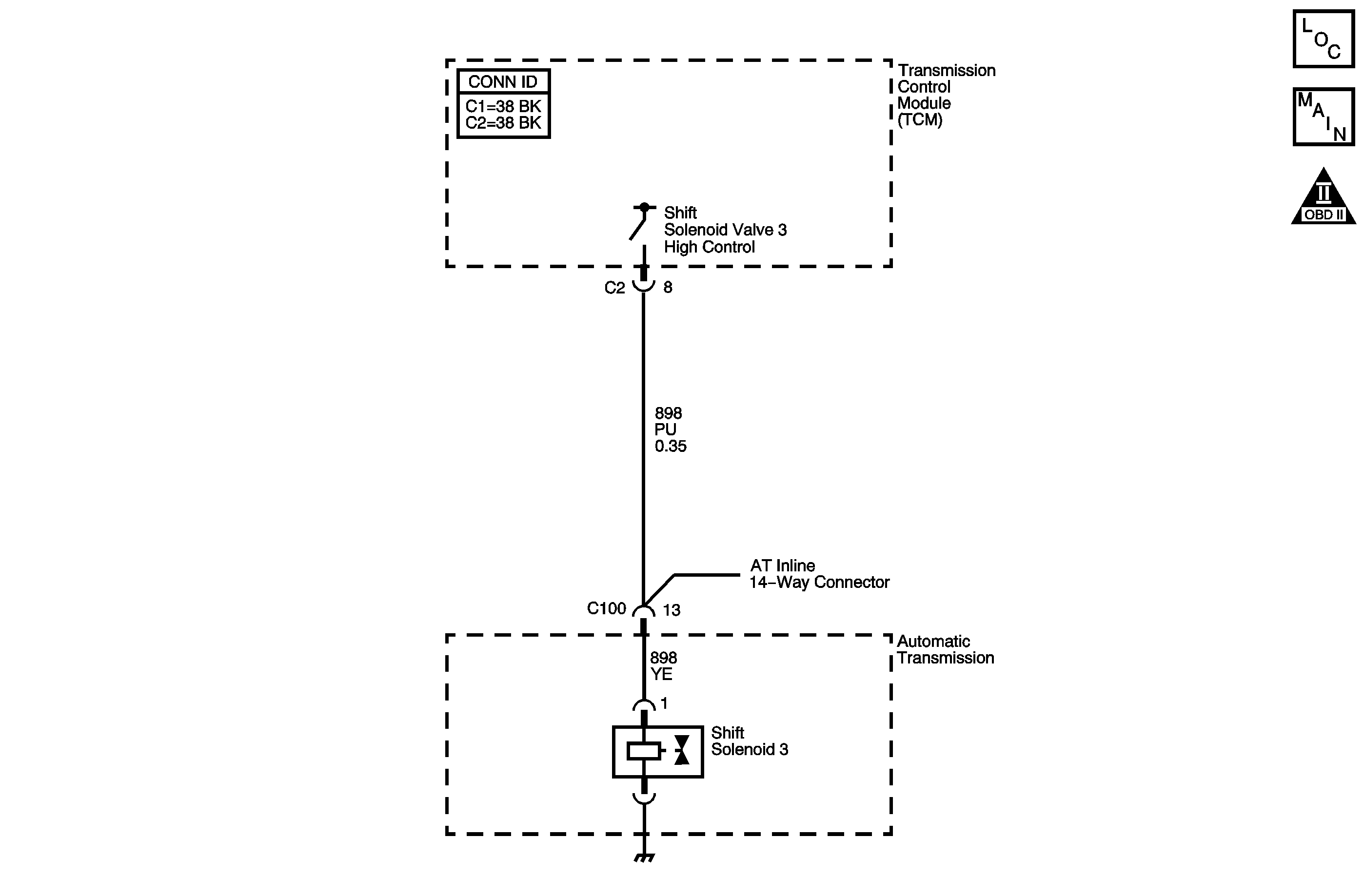
The 1-2, 2-3, reverse shift solenoid (SS) valve (S3) controls transmission fluid pressure acting on the U2 shift valve to position the valve for the appropriate gear. The 1-2, 2-3, reverse SS valve (S3) is a normally open exhaust valve located on the front control valve body. The solenoid is case grounded. The output driver module (ODM), within the TCM, commands the solenoid ON or OFF by providing voltage. When the 1-2, 2-3, reverse SS valve (S3) is commanded ON, the TCM senses high voltage. When the 1-2, 2-3, reverse SS valve (S3) is commanded OFF, the TCM senses low voltage.

If the TCM detects a continuous short to ground in the 1-2, 2-3, reverse SS valve (S3) circuit, then DTC P0979 sets. DTC P0979 is a type A DTC.

Conditions for Running the DTC

    • The system voltage is 8-18 volts.
    • The engine run time is greater than 5 seconds.
    • Trans. Protection Mode is OFF.
    • The TCM commands the 1-2, 2-3, reverse SS valve (S3) ON.

Conditions for Setting the DTC

The 1-2, 2-3, reverse SS valve (S3) feedback circuit indicates a continuous short to ground for 0.5 seconds.

Action Taken When the DTC Sets

    • The TCM requests the engine control module (ECM) to illuminate the malfunction indicator lamp (MIL).
    • The TCM turns the Trans. Protection Mode ON. When the Trans. Protection Mode is ON, the following conditions occur:
       - The transmission will operate in 5th gear when the transmission is shifted into D or I range and 2nd gear when shifted into L range.
       - The line pressure is at maximum.
       - The torque converter clutch (TCC) is disabled.
       - The TCM freezes the transmission adaptive functions.
    • The ECM records the operating conditions when the Conditions for Setting the DTC are met. The ECM stores this information as Freeze Frame and Failure Records.
    • The TCM records the operating conditions when the Conditions for Setting the DTC are met. The TCM stores this information as Failure Record.
    • The TCM stores DTC P0979 in TCM history.

Conditions for Clearing the MIL/DTC

    • The ECM turns off the MIL after the third consecutive drive trip in which the TCM does not send a MIL illumination request.
    • A scan tool can clear the MIL/DTC.
    • The TCM clears the DTC from TCM history if the vehicle completes 40 warm-up cycles without an emission-related diagnostic fault occurring.
    • The TCM cancels the DTC default actions when the ignition switch is OFF long enough in order to power down the TCM.

Test Description

The numbers below refer to the step numbers on the diagnostic table.

  1. This step tests the TCM and the wiring to the transmission.

  2. This step verifies that the circuit has the correct resistance.

Step

Action

Values

Yes

No

1

Did you perform the Diagnostic System Check - Engine Controls?

--

Go to Step 2

Go to Diagnostic System Check - Engine Controls in Engine Controls - 3.0L (L81)

2

  1. Install a scan tool.
  2. Turn ON the ignition, with the engine OFF.
  3. Important: Before clearing the DTC, use the scan tool in order to record the Freeze Frame and Failure Records. Using the Clear Eng./Trans. DTC Info function erases the Freeze Frame and Failure Records from the TCM.

  4. Record the DTC Freeze Frame and Failure Records.
  5. Clear the DTC.
  6. Start the engine.
  7. Shift transmission into Drive.
  8. Select Shift Solenoid 3 CKT Status on the scan tool.

Does the scan tool display indicate a short to ground?

--

Go to Step 3

Go to Intermittent Conditions in Engine Controls - 3.0L (L81)

3

  1. Turn OFF the ignition.
  2. Disconnect the AT inline 14-way connector. Additional DTCs may set.
  3. Using the J-35616 GM terminal test kit, connect a test lamp between terminal 13 of the harness side of the AT inline 14-way connector and B+.
  4. Turn ON the ignition, with the engine OFF.

Is the test lamp ON?

--

Go to Step 4

Go to Step 5

4

Test the control circuit (CKT 898) of the 1-2, 2-3, reverse shift solenoid (SS) valve (S3) for a short to ground between the TCM connector C2 and the AT inline 14-way connector.

Refer to Testing for Short to Ground and Wiring Repairs in Wiring Systems.

Did you find and correct the condition?

--

Go to Step 11

Go to Step 10

5

  1. Turn OFF the ignition.
  2. Using the digital multimeter (DMM) and the J-35616 GM-approved terminal test kit measure the resistance between terminal 13 of the transmission side of the AT inline 14-way connector and ground.

Is the resistance within the specified range?

8.4-22.6 ohms

Go to Step 7

Go to Step 6

6

  1. Leave the DMM test leads connected.
  2. Remove the control valve body cover.
  3. Disconnect the dark gray 1-way connector from the 1-2, 2-3, reverse SS valve (S3).

Is the resistance less than the specified value?

100 ohms

Go to Step 8

Go to Step 9

7

Measure the resistance between terminal 13 and all other terminals of the transmission side of the AT inline 14-way connector.

Is the resistance between terminal 13 and any other terminal less than the specified value?

100 ohms

Go to Step 8

Go to Intermittent Conditions in Engine Controls - 3.0L (L81)

8

Replace the automatic transmission wiring harness.

Refer to Wiring Harness Removal .

Did you complete the replacement?

--

Go to Step 11

--

9

Replace the 1-2, 2-3, reverse SS valve (S3).

Refer to Control Valve Body Assembly Disassemble .

Did you complete the replacement?

--

Go to Step 11

--

10

Replace the TCM.

Refer to Transmission Control Module Replacement .

Did you complete the replacement?

--

Go to Step 11

--

11

Perform the following procedure in order to verify the repair:

  1. Select DTC.
  2. Select Clear Info.
  3. Operate the vehicle.
  4. Select Specific DTC.
  5. Enter DTC P0979.

Does the DTC reset?

--

Go to Step 2

Go to Step 12

12

With the scan tool, observe the stored information, capture info, and DTC info.

Does the scan tool display any DTCs that you have not diagnosed?

--

Go to Diagnostic Trouble Code (DTC) List in Engine Controls - 3.0L (L81)

System OK