GM Service Manual Online
For 1990-2009 cars only

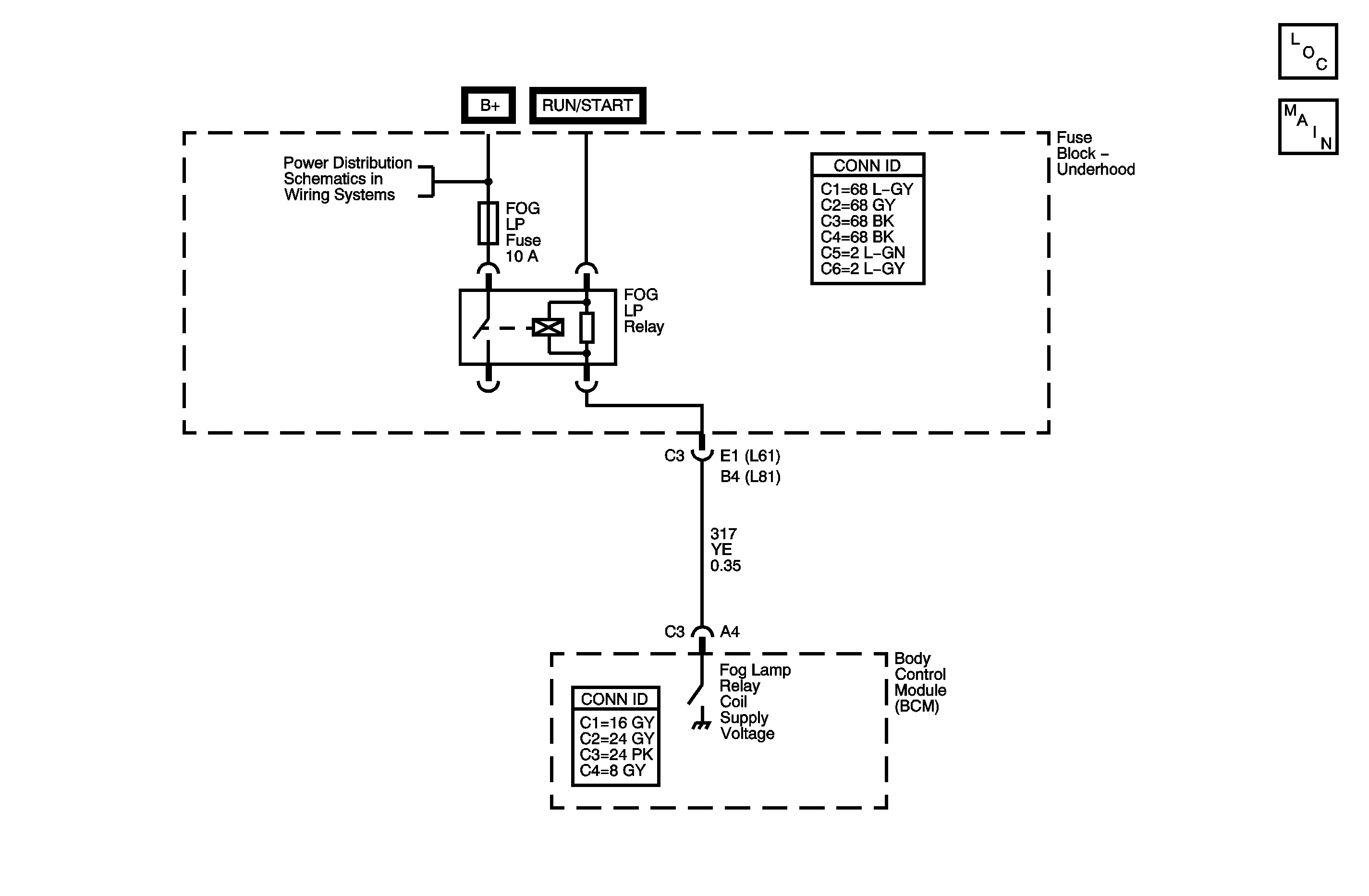
Object Number: 1351218  Size: MF

Step

Action

Yes

No

Schematic Reference: Fog Lights Schematics

1

Did you perform the Lighting System Diagnostic System Check?

Go to Step 2

Go to Diagnostic System Check - Lighting Systems

2

  1. Turn ON the ignition, with the engine OFF.
  2. Place the fog lamp switch in the OFF position.
  3. Place the headlamp switch in the OFF position.

Do the fog lamps remain illuminated?

Go to Step 3

Go to Testing for Intermittent Conditions and Poor Connections in Wiring Systems

3

Disconnect the fog lamp relay.

Did the fog lamps turn off?

Go to Step 4

Go to Step 6

4

Test the fog lamp relay control circuit for a short to ground. Refer to Circuit Testing and Wiring Repairs in Wiring Systems.

Did you find and correct the condition?

Go to Step 8

Go to Step 5

5

Inspect for poor connections at the fog lamp relay. Refer to Testing for Intermittent Conditions and Poor Connections and Connector Repairs in Wiring Systems.

Did you find and correct the condition?

Go to Step 8

Go to Step 7

6

Repair a short to voltage in the front fog lamp supply voltage circuit. Refer to Circuit Testing and Wiring Repairs in Wiring Systems.

Did you complete the repair?

Go to Step 8

--

7

Replace the fog lamp relay. Refer to Relay Replacement in Wiring Systems.

Did you complete the replacement?

Go to Step 8

--

8

Operate the system in order to verify the repair.

Did you correct the condition?

System OK

Go to Step 3