GM Service Manual Online
For 1990-2009 cars only

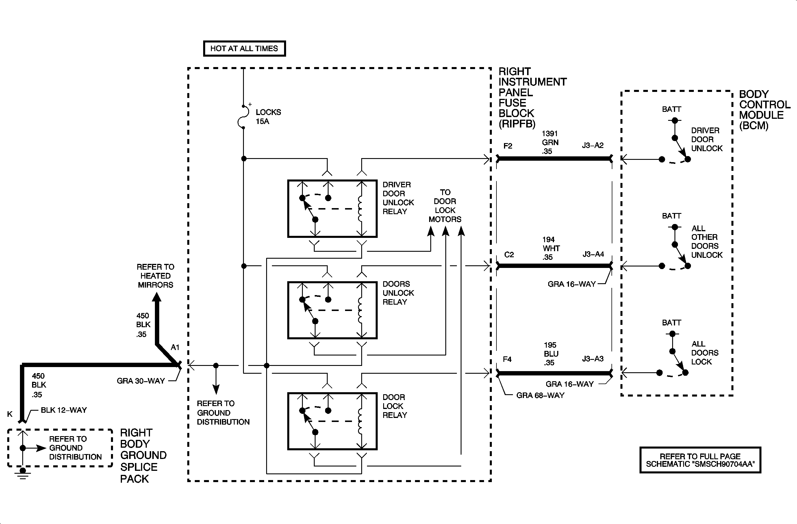
Object Number: 899091  Size: MF

Circuit Description

The body control module (BCM) controls the door lock relay. Voltage is applied to the door lock relay through the door lock relay control circuit when the BCM senses a door lock switch activation or a keyless entry lock command.

Conditions for Running the DTC

Battery positive voltage is between 9 and 16 volts.

Conditions for Setting the DTC

    • The BCM detects an open in the door lock relay control. This condition must be present for more than 0.3 seconds.
    • The BCM detects a short to ground in the door lock relay control while commanding the door lock relay. This condition must be present for more than 0.3 seconds.

Action Taken When the DTC Sets

    • The door lock relay will be inoperative.
    • The BCM stores either DTC B3137 or DTC B31238 in memory.

Conditions for Clearing the DTC

    • A history DTC will clear after 100 consecutive fault free ignition cycles.
    • A scan tool may be used to clear the DTC.

Diagnostic Aids

    • The following conditions may cause the DTC to set:
       - An open or short to ground in the door lock relay control circuit
       - The a faulty door lock relay
       - The BCM is shorted to ground internally.
    • If the DTC's are a history DTC, the fault may be intermittent. Refer to Testing for Intermittent Conditions and Poor Connections in Wiring Systems.

Test Description

The numbers below refer to the step numbers on the diagnostic table.

  1. Listen for an audible noise when the door lock relay is commanded. Command the door locks to lock and unlock. Repeat the commands as necessary.

  2. Verifies that the BCM is providing voltage to the door lock relay.

  3. Tests for an open in the door lock relay ground circuit.

Step

Action

Yes

No

Schematic Reference: Door Lock/Indicator Schematics

Connector End View Reference: Power Door Systems Connector End Views

1

Did you perform the Diagnostic System Check for the door systems?

Go to Step 2

Go to Diagnostic System Check - Door Systems

2

  1. Install a scan tool.
  2. Turn ON the ignition, with the engine OFF.
  3. With a scan tool, command the door lock relay ON.

Does the door lock relay energize when commanded?

Go to Diagnostic Aids

Go to Step 3

3

  1. Turn OFF the ignition.
  2. Remove the door lock relay.
  3. Turn ON the ignition, with the engine OFF.
  4. Probe the door lock relay control circuit with a test lamp connected to a good ground.
  5. With a scan tool, command the door lock relay ON.

Does the test lamp flash when the door lock relay is commanded ON?

Go to Step 4

Go to Step 5

4

Connect a test lamp between the door lock relay ground circuit and battery positive voltage.

Does the test lamp illuminate?

Go to Step 7

Go to Step 8

5

Test for an open or short to ground in the door lock relay control circuit. Refer to Circuit Testing and Wiring Repairs in Wiring Systems.

Did you find and correct the condition?

Go to Step 12

Go to Step 6

6

Inspect for poor connections at the BCM. Refer to Testing for Intermittent Conditions and Poor Connections and Connector Repairs in Wiring Systems.

Did you find and correct the condition?

Go to Step 12

Go to Step 9

7

Inspect for poor connections at the door lock relay. Refer to Testing for Intermittent Conditions and Poor Connections and Connector Repairs in Wiring Systems.

Did you find and correct the condition?

Go to Step 12

Go to Step 10

8

Repair open in the door lock relay ground circuit. Refer to Wiring Repairs in Wiring Systems.

Did you complete the repair?

Go to Step 12

--

9

  1. Replace the body control module. Refer to Body Control Module Replacement in Body Control System.
  2. Perform the set up procedure for the body control module. Refer to Body Control Module (BCM) Programming/RPO Configuration in Body Control System.

Did you complete the replacement?

Go to Step 12

--

10

Replace the door lock relay.

Did you complete the replacement?

Go to Step 12

--

12

  1. Use the scan tool in order to clear the DTCs.
  2. Operate the vehicle within the Conditions for Running the DTC as specified in the supporting text.

Does the DTC reset?

Go to Step 2

System OK