GM Service Manual Online
For 1990-2009 cars only

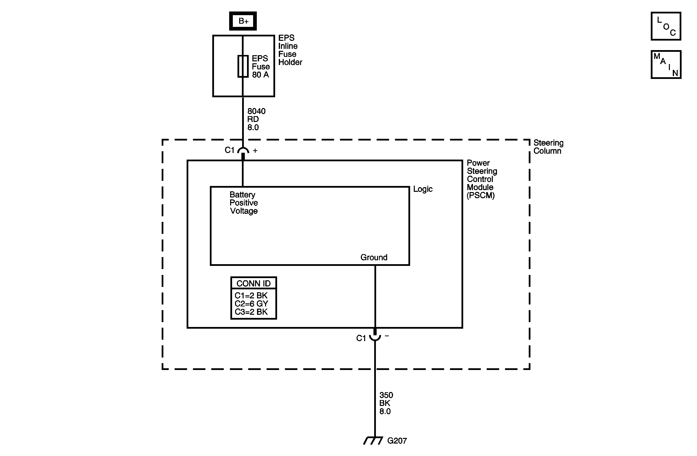
Object Number: 1198157  Size: MF

Circuit Description

The Power Steering Control Module (PSCM) has a discrete battery voltage supply circuit. The PSCM monitors the voltage level on this circuit to protect itself against high voltage damage.

Conditions for Running the DTC

The ignition is ON.

Conditions for Setting the DTC

EPS system voltage is greater than 17 volts.

Action Taken When the DTC Sets

    • DTC C0900 is stored in memory.
    • The IPC displays the SERVICE VEHICLE SOON warning indicator.
    • The PSCM is disabled to protect itself.

Conditions for Clearing the MIL/DTC

    • A current DTC will clear when the EPS system voltage returns to less than 15.5 volts.
    • A history DTC will clear after 100 consecutive ignition cycles with the EPS system voltage less than 15.5 volts.
    • Using a scan tool

Diagnostic Aids

Jump starting the vehicle can cause DTC C0900 to set. If an intermittent malfunction exists, refer to Testing for Intermittent Conditions and Poor Connections in Wiring Systems for further diagnosis.

Step

Action

Values

Yes

No

Connector End Views Reference: Power Steering Connector End Views

1

Did you perform the Power Steering Diagnostic System Check?

--

Go to Step 2

Go to Diagnostic System Check - Power Steering System

2

  1. Install a scan tool.
  2. Turn ON the ignition, with the engine OFF.
  3. With a scan tool, observe the Battery Voltage parameter in the Engine Control Module (ECM) data list.

Does the scan tool display greater than the specified value?

17 V

Go to Diagnostic System Check - Engine Electrical in Engine Electrical

Go to Step 3

3

Test the ground circuit of the PSCM for a high resistance. Refer to Circuit Testing and to Wiring Repairs in Wiring Systems.

Did you find and correct the condition?

 

Go to Step 4

Go to Diagnostic Aids

4

  1. Use the scan tool in order to clear the DTC.
  2. Operate the vehicle within the conditions for running the DTC.

Does the DTC reset?

 

Go to Step 2

System OK