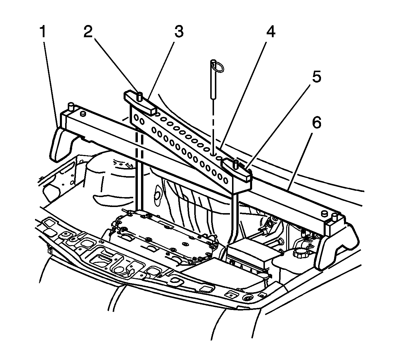
Tools Required
SA9105E Engine Support Fixture
(3-Bar)
Installation Procedure
- Install the engine support fixture long
bar (6) to the vehicle.
- Install the engine support fixture long bar legs (1) .
- Install the crossbar (4) to the engine support fixture long bar.
- Install the lift hook (2) to the rear of the engine support fixture
crossbar, and install the lift hook wing nut (3).
- Install the lift hook (5) to the front of the engine support fixture
crossbar, and install the lift hook wing nut (3).
- Install the engine support fixture long bar to crossbar holding pin.