GM Service Manual Online
For 1990-2009 cars only
Makes
🢒
Saturn
🢒
2004
🢒
VUE - FWD
🢒
Engine
🢒
Engine Mechanical - 3.5L (L66)
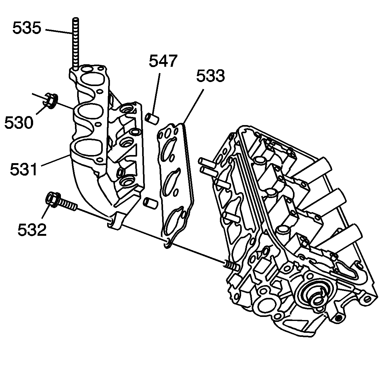
🢒 Fuel Injection Manifold Removal - Left Side
Remove the nuts (530) and bolts (532).
Remove the manifold (531), gasket (533) and pins (547).
Remove the studs (535), if required.