GM Service Manual Online
For 1990-2009 cars only

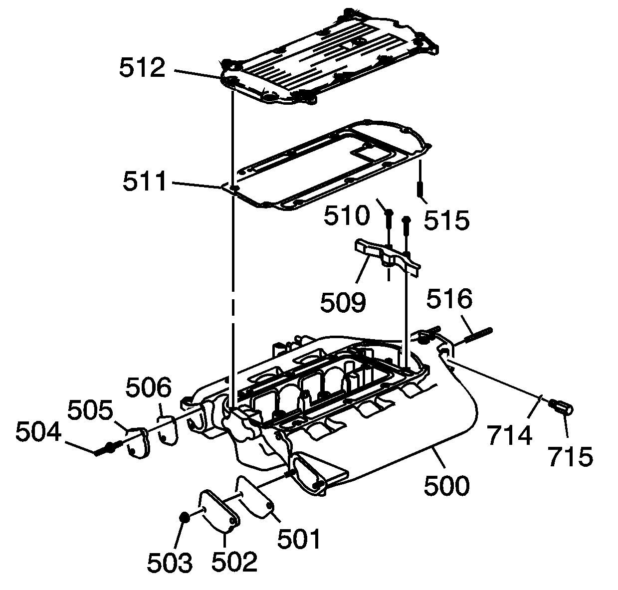
Object Number: 897412  Size: SH

Inspect the manifold (500) for the following conditions:

    • Damaged sealing surfaces
    • Damaged or loose throttle body studs (516)
    • Loose covers (502 and 505) or damaged or missing gaskets (501 and 506)
    • Plugged or loose exhaust gas recirculation (EGR) tube (509)
    • Damage to the exterior of the manifold
    • Damaged bolt hole threads