GM Service Manual Online
For 1990-2009 cars only

    Object Number: 897030  Size: SH
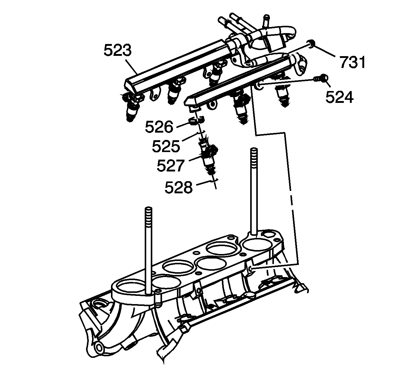
  1. Install new O-rings (525 and 528) to the injectors (527).
  2. Install the injectors (527) and clips (526) to the fuel rails.
  3. Install the fuel rail and injectors (523), hoses, and fuel pipe to the manifolds as an assembly.
  4. Notice: Refer to Fastener Notice in the Preface section.

  5. Install the bolts (524) and nuts (731).
  6. Tighten

    1. Tighten the bolts to 9.8 N·m (87 lb in).
    2. Tighten the nuts to 12 N·m (106 lb in).