GM Service Manual Online
For 1990-2009 cars only
Table 1: 3rd Clutch Pressure Switch
Table 2: 4th Clutch Pressure Switch
Table 3: Clutch Pressure Control Solenoid Valve 1 Harness
Table 4: Clutch Pressure Control Solenoid Valve 2 Harness
Table 5: Input Speed Sensor (ISS) Harness
Table 6: Output Speed Sensor (OSS) Harness
Table 7: Park Neutral Position (PNP) Switch
Table 8: Torque Converter Clutch (TCC) Pressure Control (PC) Solenoid Valve Harness
Table 9: Transmission Fluid Temperature (TFT) Sensor Harness

3rd Clutch Pressure Switch


Object Number: 1290304  Size: CH

Connector Part Information

    • 61890591
    • 1-Way F M/P 150 BK

Pin

Wire Color

Circuit No.

Function

1

BU/WH

6746

3rd Clutch Pressure Switch Signal

4th Clutch Pressure Switch


Object Number: 1290304  Size: CH

Connector Part Information

    • 61891113
    • 1-Way F M/P 150 BK

Pin

Wire Color

Circuit No.

Function

1

BU/YE

6747

4th Clutch Pressure Switch Signal

Clutch Pressure Control Solenoid Valve 1 Harness


Object Number: 1290299  Size: CH

Connector Part Information

    • 61890552
    • 2-Way F M/P 150 (BK)

Pin

Wire Color

Circuit No.

Function

1

WH

1991

Clutch Pressure Control Solenoid Valve 1 Low Control

2

RD

1525

Clutch Pressure Control Solenoid Valve 1 High Control

Clutch Pressure Control Solenoid Valve 2 Harness


Object Number: 1290300  Size: CH

Connector Part Information

    • 61890593
    • 2-Way F M/P 150 (BK)

Pin

Wire Color

Circuit No.

Function

1

D-GN

1992

Clutch Pressure Control Solenoid Valve 2 Low Control

2

BN/WH

1526

Clutch Pressure Control Solenoid Valve 2 High Control

Input Speed Sensor (ISS) Harness


Object Number: 1290301  Size: CH

Connector Part Information

    • 61890958
    • 3-Way M M/P 150 (BK)

Pin

Wire Color

Circuit No.

Function

1

GN/YE

2751

Low Reference

2

RD

1230

ISS High Signal

3

YE/BU

605

5 Volt Reference

Output Speed Sensor (OSS) Harness


Object Number: 1290301  Size: CH

Connector Part Information

    • 61890596
    • 3-Way M M/P 150 (BK)

Pin

Wire Color

Circuit No.

Function

1

GN/WH

469

Low Reference

2

D-BU

400

OSS High Signal

3

YE/RD

474

5 Volt Reference

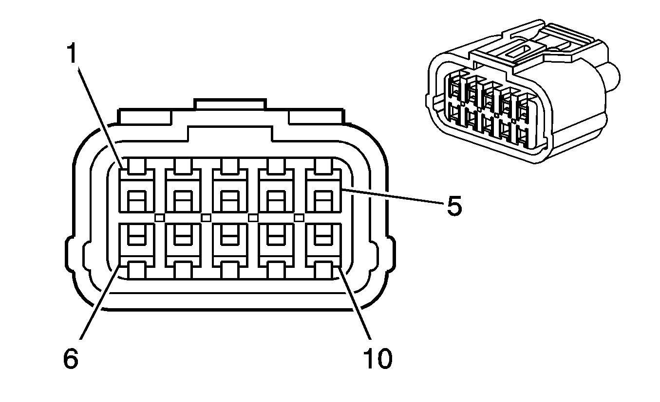
Park Neutral Position (PNP) Switch


Object Number: 1326596  Size: CH

Connector Part Information

    • 61890616
    • 10-Way F M/P 150 (BK)

Pin

Wire Color

Circuit No.

Function

1

BK

450

Ground

2

D-BU/BK

1932

A/T Park Signal

3

D-BU/WH

2182

A/T Reverse Signal

4

RD

6743

A/T Drive Signal

5

BU

6742

A/T Low Signal

6

BU/WH

1786

Ignition Lock Cylinder Control Actuator Signal

7

BU/YE

6745

A/T Forward Signal

8

RD/BK

1479

A/T Neutral Signal

9

YE/GN

6744

A/T Intermediate Signal

10

--

--

Not Used

Torque Converter Clutch (TCC) Pressure Control (PC) Solenoid Valve Harness


Object Number: 1290299  Size: CH

Connector Part Information

    • 61890552
    • 2-Way F M/P 150 (BK)

Pin

Wire Color

Circuit No.

Function

1

RD/BU

1993

Clutch Pressure Control Solenoid Valve 3 Low Control

2

GN/RD

1527

Clutch Pressure Control Solenoid Valve 3 High Control

Transmission Fluid Temperature (TFT) Sensor Harness


Object Number: 1290126  Size: CH

Connector Part Information

    • 61890129
    • 2-Way M M/P 150 (BK)

Pin

Wire Color

Circuit No.

Function

1

BU/YE

1227

TFT Sensor Signal

2

GN/YE

2751

Low Reference