GM Service Manual Online
For 1990-2009 cars only
Makes
🢒
Saturn
🢒
2004
🢒
VUE - FWD
🢒
Transmission/Transaxle
🢒
Automatic Transmission - 5AT
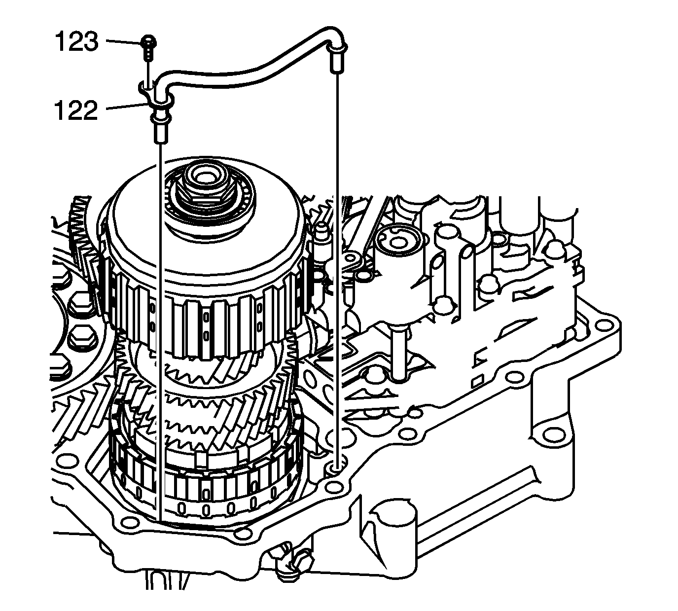
🢒 1st/2nd Clutch Shaft Lube Feed Pipe Removal
Remove the 1st/2nd clutch shaft fluid pipe retainer bolt (123).
Remove the 1st/2nd clutch shaft lube feed pipe (122).