GM Service Manual Online
For 1990-2009 cars only

Tools Required

    • DT 46427 Driver
    • DT 46516 Driver
    • DT 46540 Wrench
    • EN 46342 Driver Handle
    • SA9179NE Dial Indicator

    Object Number: 1203942  Size: SH
  1. Measure the axial clearance for the 1st drive gear (726). Measuring the axial clearance before disassembly of the 1st/2nd clutch shaft will help determine the wear on the components and what selective washer to use during assembly.
  2. 1.1. Position the 1st/2nd clutch shaft assembly in a soft-jaw vise with the nut end up.
    1.2. Install the SA9179NE and a hole attachment tool on the 1st/coast hub (752).
    1.3. Set the dial indicator to zero.
    1.4. Lift up on the 1st/coast hub (752) and record the axial clearance reading.
    1.5. Measure the axial clearance in 2 more locations.
    1.6. Average the readings to get the axial clearance.

    Specification
    1st gear axial clearance 0.085-0.130 mm (0.003-0.050 in)

       • If the axial clearance is higher than the specification, during inspection look for excessive wear on the thrust bearing surfaces of the gears.
       • If there is not excessive wear, replace the 1st/coast hub washer (722) with a thicker washer to be within the axial clearance specifications.
       • If the axial clearance is lower than the specification, during inspection look for burrs or contamination on the thrust bearing surfaces of the gears.
    1.7. Record the measurement for reference during assembly.

    Object Number: 1353665  Size: SH

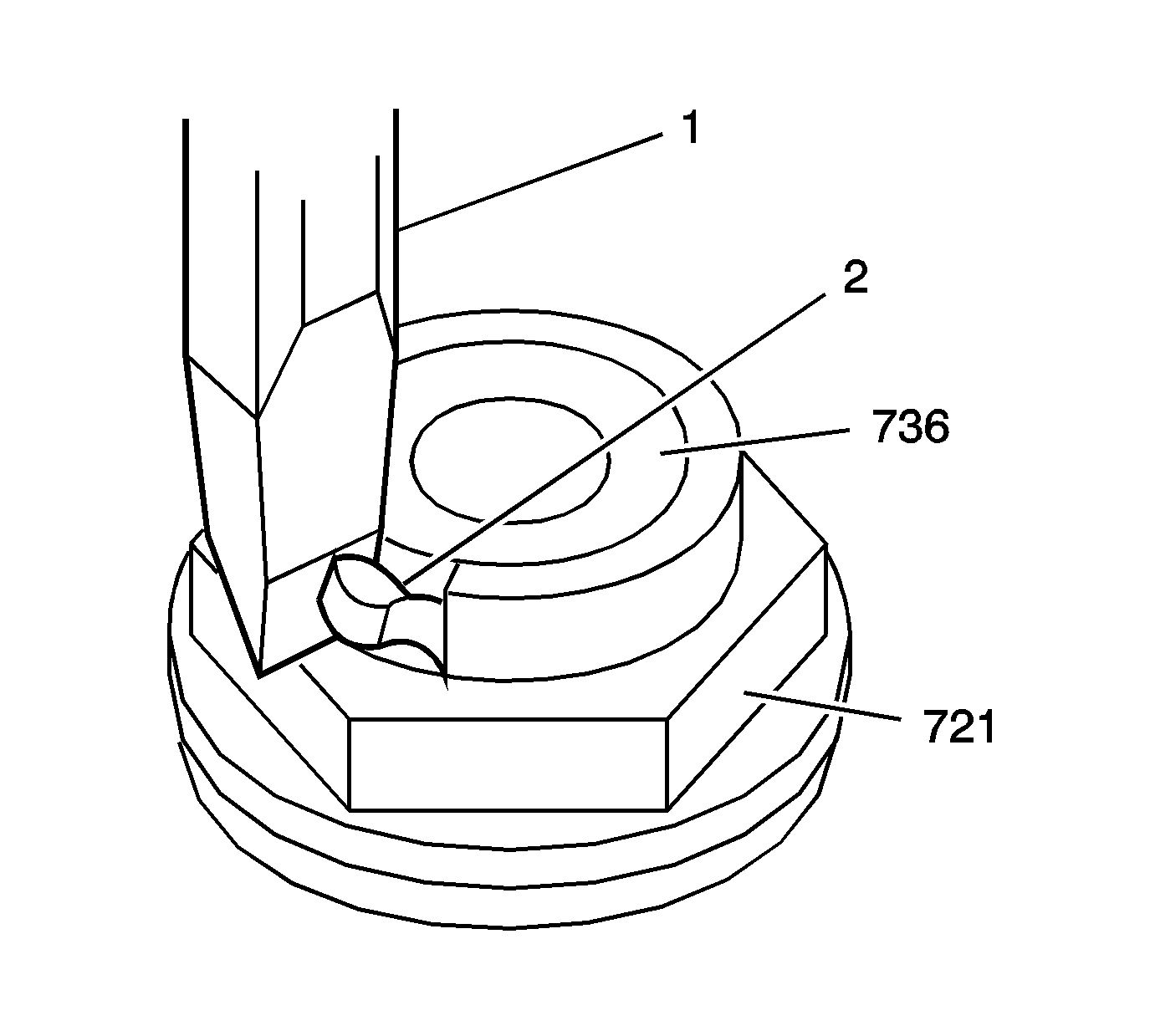
    Notice: Ensure that all the metal particles are collected in order to prevent internal damage to the transmission or bearings.

  3. Using a chisel (1) remove the stake area from the 1st/2nd clutch shaft retaining nut (721). Do not damage the threads on the clutch shaft.

  4. Object Number: 1345869  Size: SH
  5. Remove the 1st/2nd clutch shaft retainer nut (721).
  6. 3.1. Lay the 1st/2nd clutch shaft assembly on a bench.
    3.2. Insert DT 46540 between the 1st/coast housing (718) and the 1st/2nd clutch shaft rear bearing (719).
    3.3. Using a breaker bar and a 38 mm six-point socket loosen the 1st/2nd clutch shaft retainer nut (721).
    3.4. Hold the DT 46540 against the bench top.
    3.5. Remove the 1st/2nd clutch shaft retainer nut (721).
    3.6. Remove any burrs or metal shavings from the clutch shaft threads.

    Object Number: 1203938  Size: SH

    Notice: Support the component while using the press. Failure to support the component may allow the component to drop, causing damage.

  7. Using a hydraulic press remove the 1st/2nd clutch shaft rear bearing (719) and the 1st/2nd clutch drive gear (730).
  8. • Use press plates (1) under the 1st/2nd clutch shaft drive gear (730).
    • Protect the threads of the clutch shaft using a shaft protector (2).
    • Hold onto the 1st/2nd clutch shaft assembly to prevent the assembly from dropping.

    Object Number: 1470590  Size: SH
  9. Separate the following components, which were removed when pressing off the rear bearing and drive gear.
  10. • 1st/2nd clutch shaft retaining nut washer (720)
    • 1st/2nd clutch shaft rear bearing (719)
    • 1st/coast clutch assembly (757)
    • 1st/coast clutch hub thrust bearing race (722)
    • 1st/coast clutch hub thrust bearing (723)
    • 1st/coast clutch hub and coast sprag assembly (752)
    • 1st drive gear thrust bearing (727)
    • 1st drive gear inner bearing (728)
    • 1st drive gear inner bearing race (729)
    • 1st drive gear thrust bearing (727)
    • 1st/2nd clutch shaft drive gear (730)

    Object Number: 1203939  Size: SH
  11. Remove the following from the 1st/2nd clutch shaft (736):
  12. • 2nd drive gear thrust bearing (731)
    • 2nd drive with clutch hub and park gear (732)
    • 2nd drive gear inner bearing (733)
    • 2nd drive gear thrust bearing (731)

    Object Number: 1345381  Size: SH
  13. Remove the 2nd clutch housing retaining ring (751) from the 1st/2nd clutch shaft 736).
  14. Remove the 2nd clutch housing assembly (749) from the 1st/2nd clutch shaft (736).

  15. Object Number: 1345387  Size: SH
  16. Remove the 1st/coast clutch housing fluid passage seals (735).
  17. Remove the 1st/2nd clutch shaft fluid passage seals (738).
  18. Remove the 2nd clutch housing fluid passage seals (737).

  19. Object Number: 1203945  Size: SH
  20. Inspect the operation of the 1st/coast hub and coast sprag assembly (752).
  21. • Hold the coast clutch hub (724) and turn clockwise the 1st drive gear (726). The assembly should turn freely clockwise.
    • Turn the 1st drive gear (726) the opposite direction, counterclockwise. The assembly should lock.
  22. Inspect the gears on the 1st/coast hub and coast sprag assembly (752) for damage or excessive wear.
  23. Replace the 1st/coast hub and coast sprag assembly (752) if faulty. The one-way clutch and the hub are serviced as an assembly.

  24. Object Number: 1203946  Size: SH

    Important: If necessary the 1st/coast hub and coast sprag assembly (752) can be disassembled for cleaning.

  25. Using EN 46342  (1) and DT 46516  (2) with a hydraulic press, remove the coast clutch hub (724) form the 1st drive gear (726).
  26. Clean the components in solvent and air dry.

  27. Object Number: 1358296  Size: SH
  28. Clean the 1st/2nd clutch shaft (736) in solvent, air dray and blow out the oil passages.
  29. Inspect the 1st/2nd clutch shaft (736) for the following conditions:
  30. Refer to 1st/2nd Clutch Shaft in Transmission Clearance Specifications .

    • Shaft splines for excessive wear, witness marks from the gears is normal
    • Bearing journal surfaces for wear, scoring, or brinelling
    • Fluid passage seal grooves for damage
    • Thrust bearing surface on shaft flange for excessive wear, roughness, or scoring
  31. Replace the 1st/2nd clutch shaft (736) if faulty.
  32. Clean the gears and bearing for the 1st/2nd clutch shaft insolvent and air dry.
  33. Inspect the gears for damaged teeth.
  34. Inspect the thrust surface on the gears for excessive wear and scoring.
  35. Inspect the bearings for roughness, brinneling, or bent cages.
  36. Replace any faulty components.