GM Service Manual Online
For 1990-2009 cars only

Caution: This procedure requires 3 technicians. Each technician needs to remove or install a complete shaft assembly in order to prevent personal injury.


    Object Number: 1203370  Size: SH
  1. Install the 2nd clutch housing 46 x 62.95 x 4.62 mm thrust bearing (750) into the torque converter housing (150) with the rounded shoulder down.
  2. Place the reverse shift fork shaft (428) so the large chamfered hole is facing the reverse shift fork bolt hole of the reverse shift fork (924) when installed in the torque converter housing (150).
  3. Engage the reverse shift fork (924) with the 5th/reverse synchronizer ring (508) on the output shaft assembly (535).
  4. Using 3 technicians, join the mainshaft assembly (640), output shaft assembly (535), and the 1st/2nd clutch shaft assembly (755) together.

  5. Object Number: 1203368  Size: SH
  6. With all 3-clutch shaft assemblies installed together, position the 3 clutch shaft assemblies above the torque converter housing, lower the clutch assemblies into the torque converter housing, and at the same time position the reverse shift fork (924) onto the reverse shift fork shaft (428).
  7. Position the 3 clutch shaft assemblies until all 3-clutch shaft assemblies are properly seated in the torque converter housing assembly (150).
  8. Notice: Refer to Fastener Notice in the Preface section.

  9. Install the reverse shift fork bolt (926) and a new reverse shift fork washer (925).
  10. Tighten
    Tighten the bolt to 14 N·m (10 lb ft).

  11. Bend the tab of the washer over the bolt head.

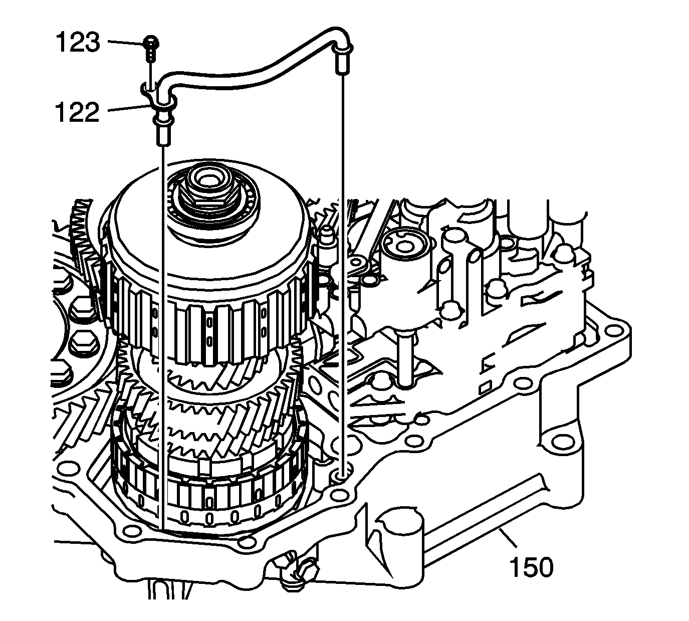
  12. Object Number: 1347213  Size: SH
  13. Install the 1st/2nd clutch shaft feed pipe (122) into the torque converter housing (150).
  14. Install the 1st/2nd clutch shaft lube fluid pipe M6 x 1.0 x 12 mm retainer bolt (123).
  15. Tighten
    Tighten the bolt to 12 N·m (106 lb in)