GM Service Manual Online
For 1990-2009 cars only

Gear Operation

Gears on the Main Shaft Assembly (640)

    • The 4th drive gear is part of the 4th drive gear and clutch hub assembly (607). It is engaged and disengaged from the mainshaft (641) by the 4th clutch assembly which is a part of the 4th/5th reverse clutch assembly (643).
    • The 5th drive gear is part of the 5th/reverse drive gear and clutch hub assembly (636). It is engaged and disengaged from the mainshaft (641) by the 5th clutch assembly which is a part of the 4th/5th reverse clutch assembly (643).
    • The reverse drive gear is part of the 5th/reverse drive gear and clutch hub assembly (636). It is engaged and disengaged from the mainshaft (641) by the 5th clutch assembly which is a part of the 4th/5th reverse clutch assembly (643).
    • The 1st/2nd/3rd drive gear (603) is splined with the mainshaft (641) and rotates at the same RPM as the mainshaft.

Gears on the Output Shaft Assembly (535)

    • The final gear is integral with the output shaft (524).
    • The 1st driven gear (517), 2nd driven gear (523), and the 3rd/4th driven gear (500) are splined with the output shaft (524), and rotate at the same RPM as the output shaft.
    • The 5th driven gear (507) and the reverse driven gear (512) rotate freely from the output shaft (524).
    • The reverse shift fork (924) engages the 5th driven gear and the reverse driven gear (512) by moving the 5th/reverse synchronizer ring (508) on the output shaft (524).
    • The 5th/reverse synchronizer hub (509) is splined to the output shaft (524) so that the 5th gear and the reverse driven gear (512) engage with the output shaft (524).
    • The 1st/2nd idler gear (520) is located above the 2nd driven gear (523) and rotates freely from the output shaft (524).

Gears on the 1st/2nd Clutch Shaft Assembly (755)

    • The 1st drive gear is engaged and disengaged with the 1st/2nd clutch shaft (736) by the 1st clutch assembly. The 1st drive gear is engaged with the 1st/2nd clutch shaft (736) by the coast sprag assembly (725) and the coast clutch assembly when decelerating for engine braking.
    • The 2nd drive gear (732), is engaged and disengaged with the 1st/2nd clutch shaft (736) by the 2nd clutch assembly (756).
    • The 1st/2nd drive gear (730) is splined with the 1st/2nd clutch shaft (736), and rotates with the 1st/2nd clutch shaft (736).
    • The park gear is part of the 2nd drive gear and clutch hub assembly (732).

Gears on the 3rd Clutch Shaft Assembly (830)

    • The 3rd drive gear is part of the 3rd drive gear and clutch hub assembly (803) and is engaged and disengaged with the 3rd clutch shaft (823) by the 3rd clutch assembly (831).
    • The 3rd driven gear (805), is splined with the 3rd clutch shaft (823) and rotates at the same RPM as the 3rd clutch shaft (823).

Electronic Control System

Functional Diagram

The electronic control system consists of the PCM, sensors, and solenoid valves. Shifting and lock-up are electronically controlled for comfortable driving under all conditions. The PCM receives input signals from the sensors, switches, and other control units, performs processing data, and outputs signals for the engine control system and AT control system. The AT control system includes shift control, grade logic control, clutch pressure control, and lock-up control is stored in the PCM. The PCM switches the shift solenoid valves and the AT CPC solenoid valves to control shifting transmission gears and lock-up TCC.


Object Number: 1254630  Size: LF

Shift Control

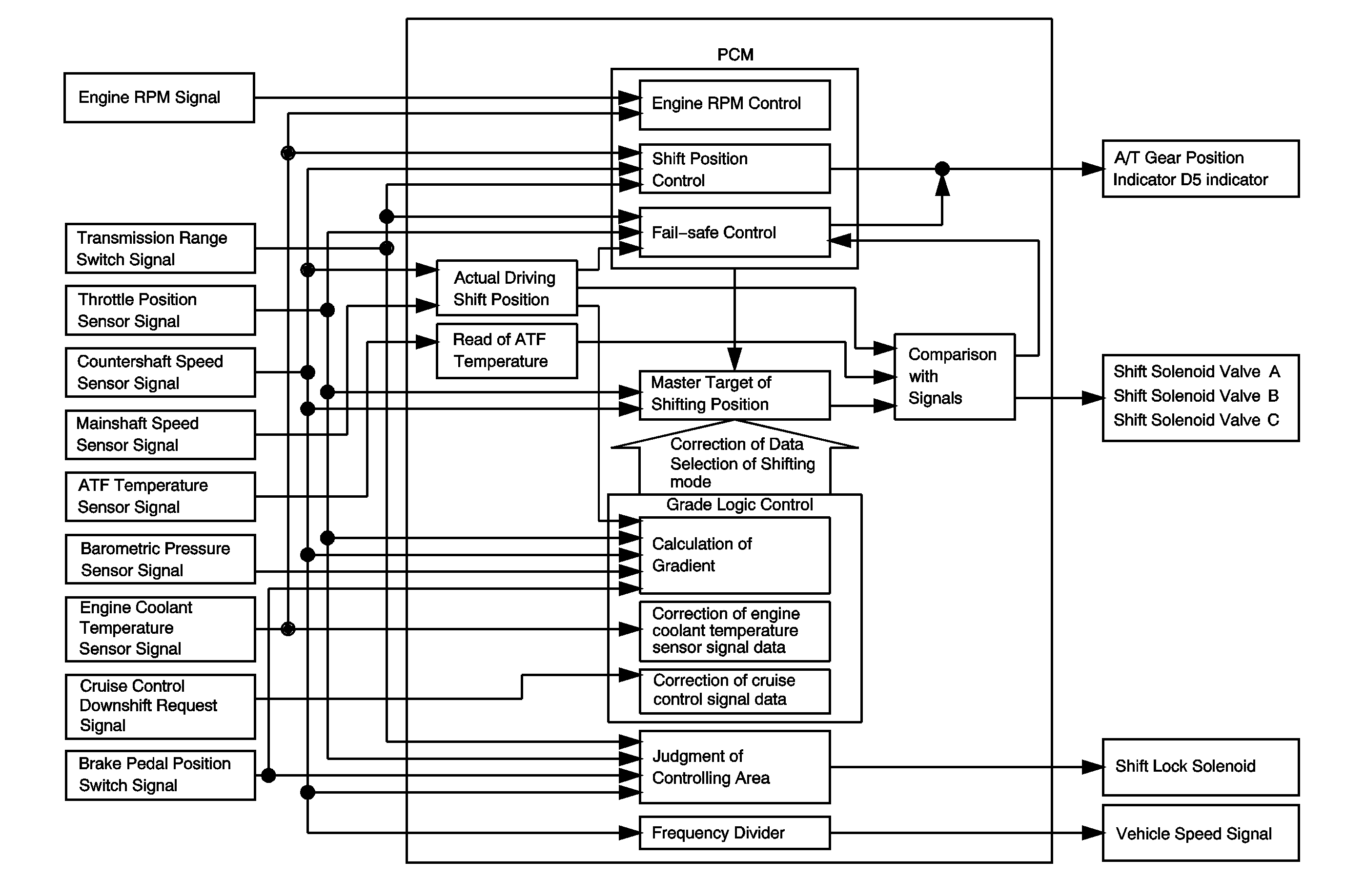
The PCM instantly determines which gear should be selected by various signals sent from sensors and switches, and it actuates the SS valves A, B, and C to control shifting.

Grade logic control system has been adopted to control shifting in the D, I and L positions. The PCM compares actual driving conditions with memorized driving conditions, based on the input from the throttle position sensor, the engine coolant temperature sensor, the barometric pressure sensor, the brake pedal position switch signal, and the shift lever position signal, to control shifting while the vehicle is ascending or descending a slope.


Object Number: 1254634  Size: MF

Ascending Control

When the PCM determines that the vehicle is climbing a hill in the D, I and L positions, the system extends the engagement area of 2nd gear, 3rd gear, and 4th gear. This prevents the transmission from frequently shifting between 2nd and 3rd gears, between 3rd and 4th gears, and between 4th and 5th gears. The vehicle can run smooth and have more power when needed.

Shift schedules stored in the PCM between 2nd and 3rd gears, between 3rd and 4th gears, and between 4th and 5th gears, enable the PCM to automatically select the most suitable gear according to the magnitude of a gradient.


Object Number: 1254638  Size: SF

Descending Control

When the PCM determines that the vehicle is going down a hill in the D, I and L positions, the shift-up speed when the throttle is closed from 4th to 5th gear, 3rd to 4th gear, and from 2nd to 3rd becomes faster than the set speed for flat road driving to widen the 4th gear, 3rd gear, and 2nd gear driving areas.

This, in combination with engine braking from the deceleration lock-up, achieves smooth driving when the vehicle is descending. There are three descending modes with different 4th gear driving areas, 3rd gear driving areas, and 2nd gear driving areas according to the magnitude of a gradient stored in the PCM. When the vehicle is in 5th or 4th gear and you are decelerating while applying the brakes on a steep hill, the transmission will downshift to a lower gear. When you accelerate, the transmission will then return to a higher gear.


Object Number: 1254643  Size: SF

Deceleration Control

When the vehicle goes around a corner and needs to decelerate first and then accelerate, the PCM sets the data for deceleration control to reduce the number of times the transmission shifts. When the vehicle is decelerating from speeds above 27 mph (43 km/h), the PCM shifts the transmission from 5th or 4th to 2nd earlier than normal to cope with upcoming acceleration.

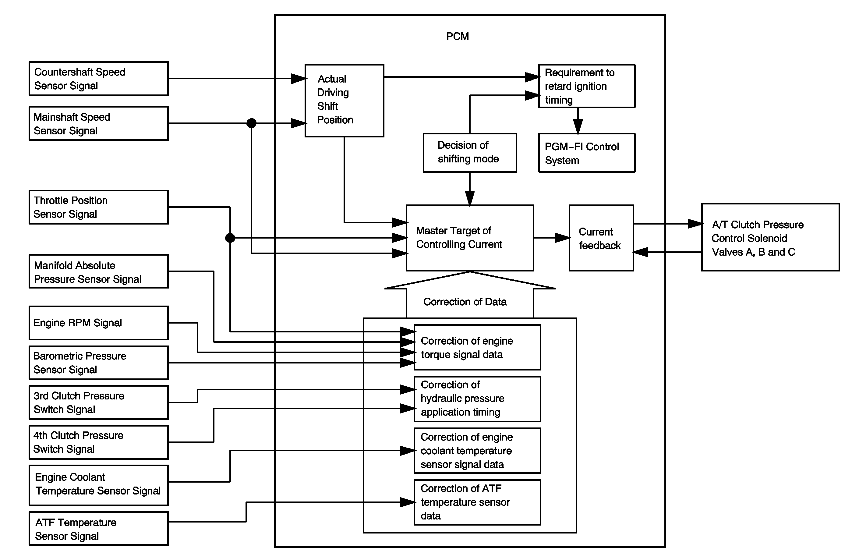
Clutch Pressure Control

The PCM actuates the AT CPC solenoid valves A, B, and C to control the clutch pressure. When shifting between lower and higher gears, the clutch pressure regulated by the AT CPC solenoid valves A, B, and C engages and disengages the clutch smoothly.

The PCM receives input signals from the various sensors and switches, performs processing data, and outputs a current to the AT CPC solenoid valves A, B, and C.


Object Number: 1254650  Size: MF

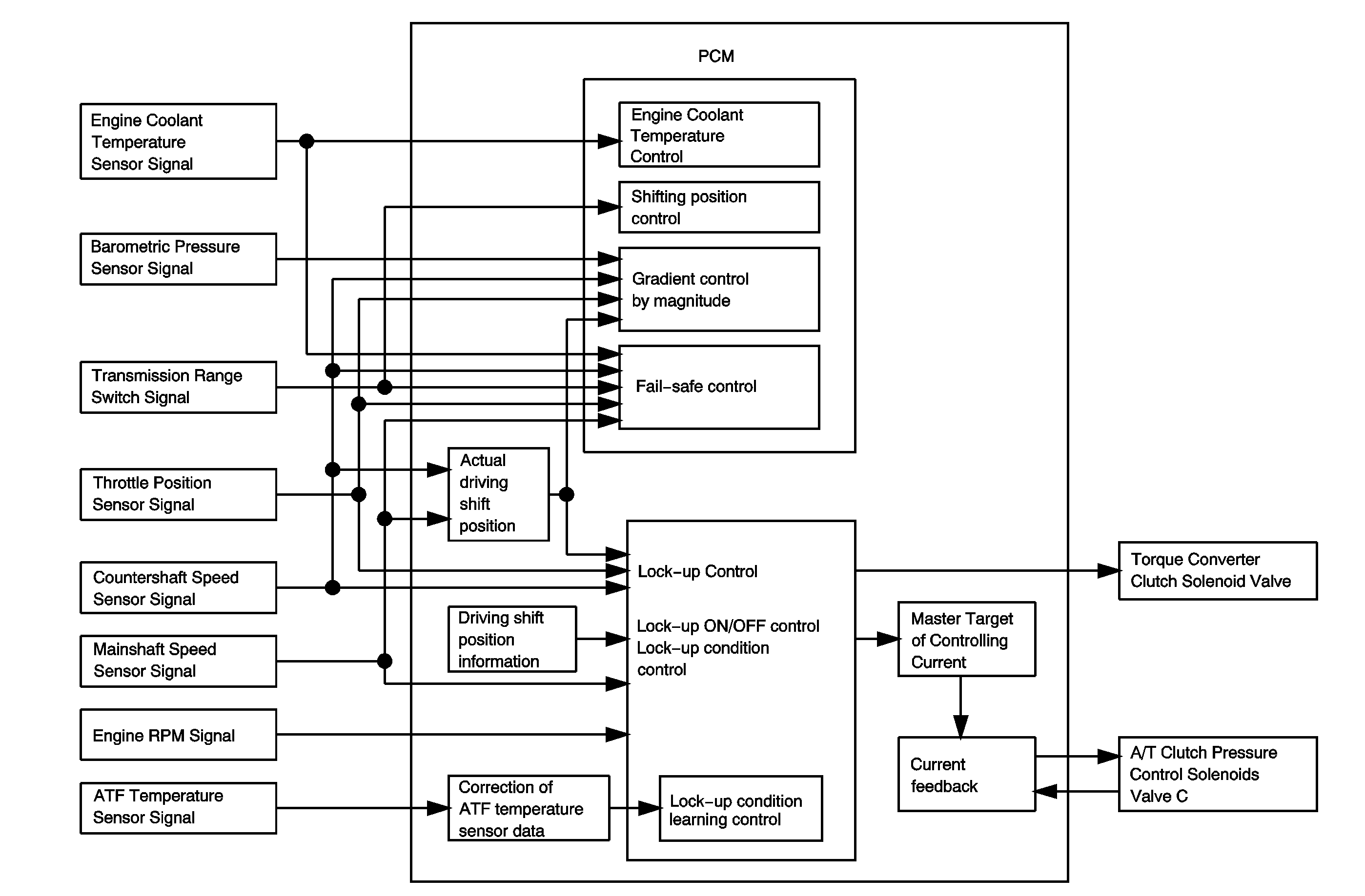
TCC Lock-Up Control

The TCC solenoid valve controls the hydraulic pressure to switch the lock-up shift valve and lock-up ON and OFF. The PCM actuates the TCC solenoid valve and the AT CPC solenoid valve ON, the condition of the lock-up starts. The AT CPC solenoid valve C regulates and apply the hydraulic pressure to the lock-up control valve to control the volume of the lock-up.

The lock-up mechanism operates in the D position in 2nd, 3rd, 4th, and 5th gears, in the I position in 2nd and 3rd gears, and in the L position in 2nd gear.


Object Number: 1254651  Size: MF

Torque Converter Lock-Up System

The lock-up mechanism of the TCC operates in the D position in 2nd, 3rd, 4th, and 5th gears, in the I position in 2nd and 3rd gears, and in the L position in 2nd gear. The pressurized fluid is drained from the back of the torque converter through a fluid passage, causing the TCC piston (2) to be held against the torque converter cover (1).

As this takes place, the mainshaft (3) rotates at the same speed as the engine crankshaft. Together with the hydraulic control, the PCM optimizes the timing and amount of the lock-up mechanism. When the TCC solenoid valve is turned on by the PCM, the TCC solenoid valve pressure switches the lock-up shift valve lock-up on and off. The AT CPC solenoid valve C and the lock-up control valve control the amount of lock-up.

TCC Lock-Up ON - Engaging the TCC

Fluid in the chamber between the torque converter cover (1) and the TCC piston (2) is drained off, and fluid entered from the chamber between the pump and stator exerts pressure through the TCC piston (2) against the torque converter cover (1). The TCC piston (2) engages with the torque converter cover (1); TCC lock-up ON, and the mainshaft (3) rotates at the same rpm as the engine.


Object Number: 1254654  Size: SF

TCC Lock-Up OFF - Disengaging the TCC

Fluid entered from the chamber between the torque converter cover (1) and the TCC piston passes through the torque converter and goes out from the chambers between the turbine (2) and the stator, and between the pump (3) and the stator. As a result, the TCC piston moves away from the torque converter cover (1), and the TCC lock-up is released; TCC lock-up OFF.


Object Number: 1254657  Size: SF

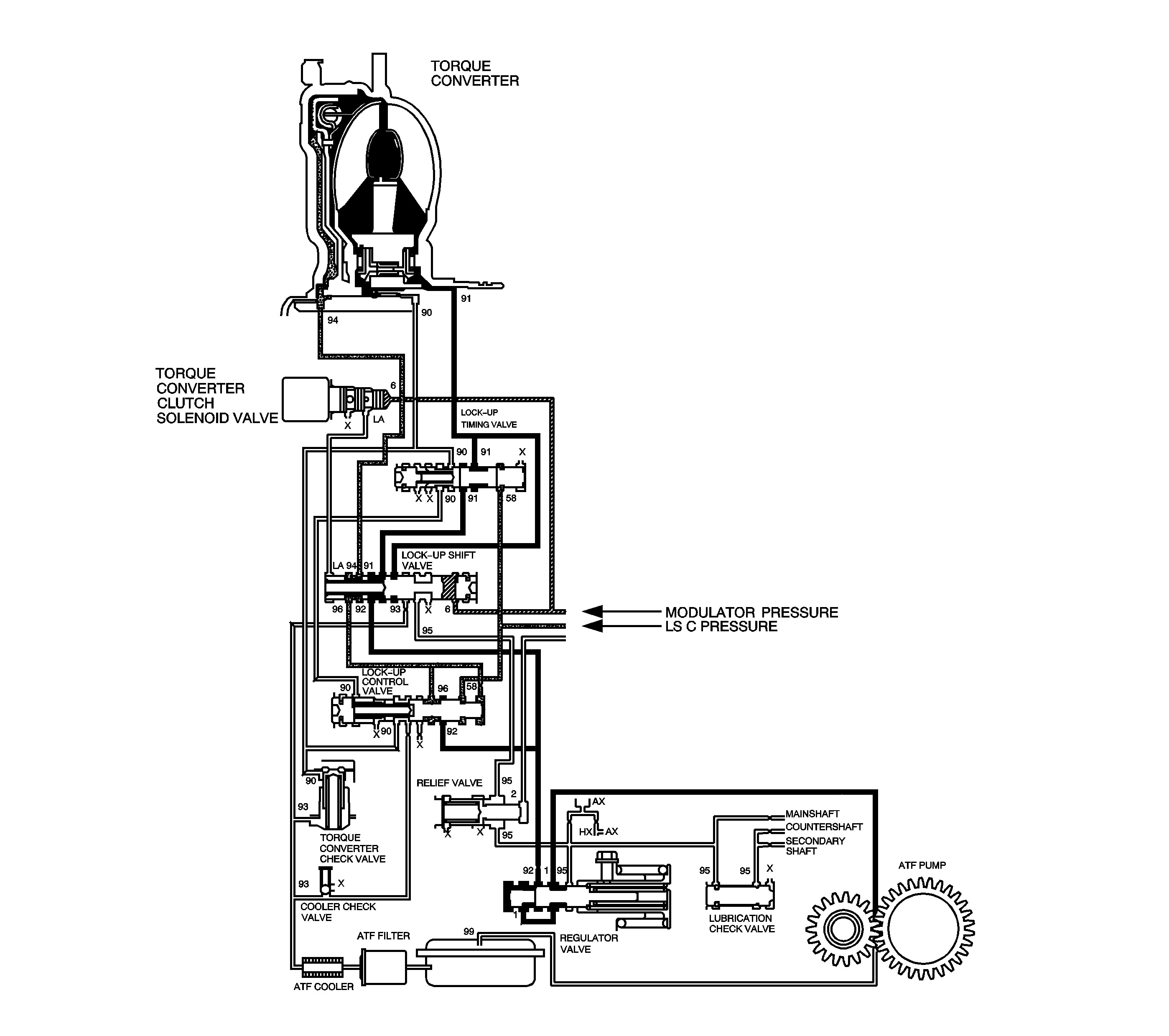
No Lock-Up

TCC solenoid valve is turned OFF by the PCM. The lock-up shift valve receives LC pressure (LA) on the left side, and modulator pressure (6) on the right side. The lock-up shift valve is in the right side to uncover the port leading torque converter pressure (92) to the left side of the torque converter. Torque converter pressure (92) becomes torque converter pressure (94), and enters into the left side of the torque converter to disengage the lock-up clutch. The lock-up clutch is OFF.

When used, ''left'' or ''right'' indicates direction on the hydraulic circuit.


Object Number: 1254659  Size: LF

Partial Lock-Up

As the speed of the vehicle reaches the prescribed value, the TCC solenoid valve is turned ON by the PCM to release LC pressure (LA) in the left cavity of the lock-up shift valve. Modulator pressure (6) is applied to the right side of the lock-up shift valve, and then the lock-up shift valve is moved in the left side to switch the port leading torque converter pressure to the right side of the torque converter. Torque converter pressure (91) is applied to the right side of the torque converter to engage the lock-up clutch.

The PCM also controls AT CPC solenoid valve C, and LS C pressure (58) is applied to the lock-up control valve and the lock-up timing valve. When LS C pressure (58) is lower, torque converter pressure (91) from the lock-up timing valve is lower. The lock-up clutch is engaged partially. LS C pressure (58) increases, and the lock-up timing valve is moved to the left side to uncover the port leading torque converter pressure to high. The lock-up clutch is then engaged securely. Under this condition, the lock-up clutch is engaged by pressure from the right side of the torque converter; this condition is partial lock-up.

When used, ''left'' or ''right'' indicates direction on the hydraulic circuit.


Object Number: 1254660  Size: LF

Full Lock-Up

When the vehicle speed further increases, the PCM controls AT CPC solenoid valve C to increase LS C pressure (58). The LS C pressure (58) is applied to the lock-up control valve and the lock-up timing valve, and moves them to the left side. Under this condition, torque converter back pressure is fully released, causing the lock-up clutch to be fully engaged.

When used, ''left'' or ''right'' indicates direction on the hydraulic circuit.


Object Number: 1254663  Size: LF