GM Service Manual Online
For 1990-2009 cars only

Tools Required

    • DT 46412  Driver
    • DT 46413  Driver
    • DT 46414  Driver
    • DT 46415  Driver
    • DT 46516  Driver
    • DT 46417  Driver
    • DT 46428  Driver
    • DT 46429  Oil Seal Driver
    • EN 46342  Driver Handle

    Object Number: 1507155  Size: SH

    Important: If the transaxle has a failure of the coast clutch sprag assembly or any of the below listed parts, a service kit is available. Replace all of the parts of the kit to prevent loss of adequate lubrication. The kit includes the following parts:

       • Torque converter housing
       • 1st/2nd clutch shaft
       • 3rd clutch shaft
       • 1st drive gear
       • Coast clutch sprag assembly

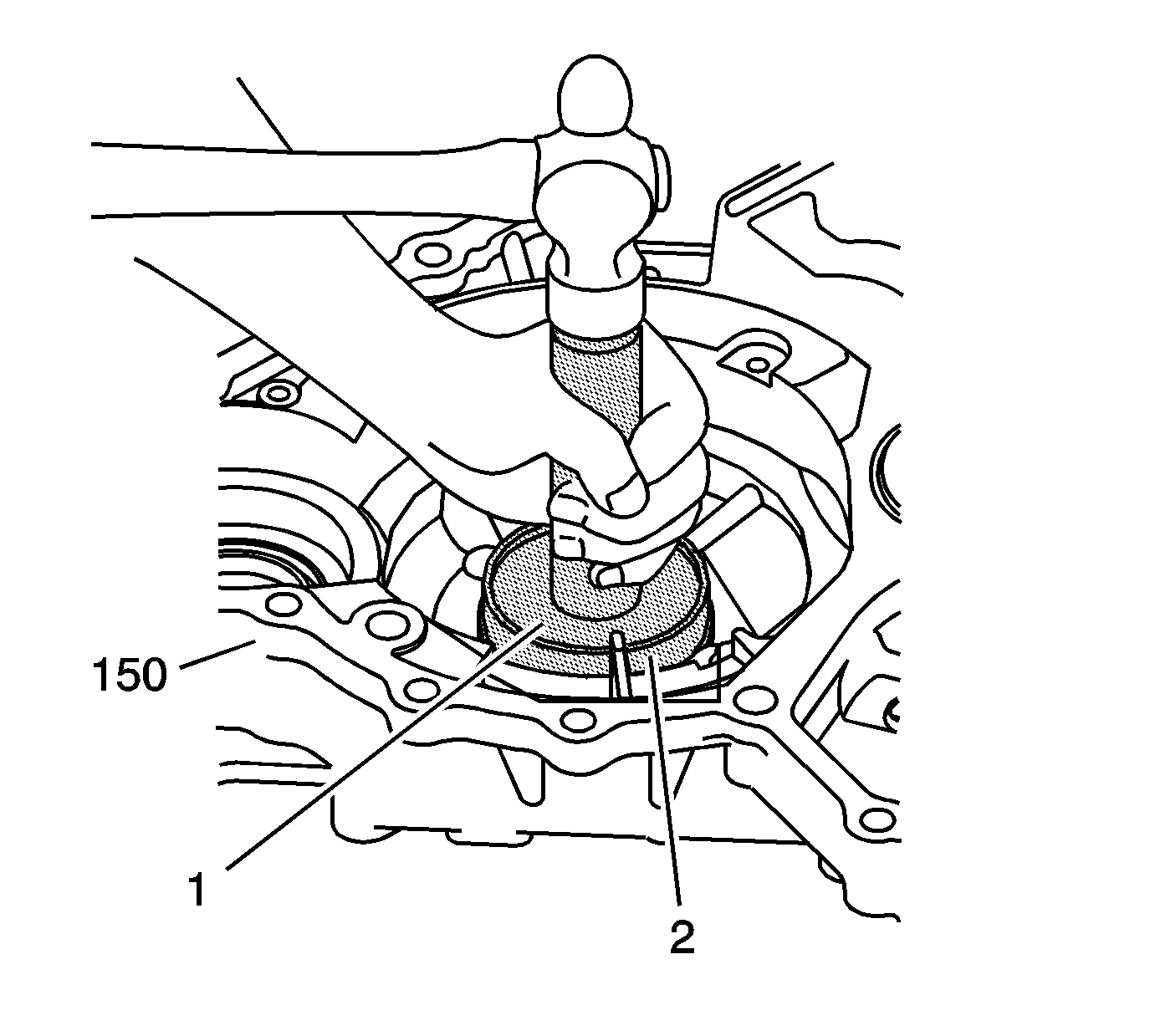
  1. Inspect the torque converter housing for the correct lubrication passage. The 1st design (1) will not have the small lubrication passage and the 2nd design (2) will have the passage.
  2. Notice: Refer to Fastener Notice in the Preface section.


    Object Number: 1507153  Size: SH
  3. Install the 8 8 mm fluid pressure test hole plugs (67) with new sealing washers (78).
  4. Tighten
    Tighten the test hole plugs to 18 N·m (13 lb ft).

  5. Install the 10 mm case plug (147) with the sealing washer (148).
  6. Tighten
    Tighten the plug to 26 N·m (20 lb ft).


    Object Number: 1344605  Size: SH
  7. Using the 25 mm side of the DT 46516  (1) and EN 46342  (2), install the 12 mm x 24 mm x 6 mm park pawl actuator shaft front bearing (134) until flush in the transmission torque converter housing (150).

  8. Object Number: 1203895  Size: SH
  9. Install the 3rd clutch shaft lube feed plate (139) into the torque converter housing (150).
  10. Install the 28 mm x 52 mm x 12.8 mm 3rd clutch shaft front bearing (138) into the torque converter housing (150).

  11. Object Number: 1203896  Size: SH
  12. Using the 52 mm side of DT 46412  (2) and EN 46342  (1), install the 3rd clutch shaft front bearing (138) until it bottoms in the torque converter housing (150).

  13. Object Number: 1203384  Size: SH
  14. Install the output shaft lube feed plate (135) into the torque converter housing (150).
  15. Install the 40.5 mm x 74 mm x 21 mm output shaft front bearing (136) in the direction as shown in the insert.

  16. Object Number: 1203385  Size: SH
  17. Using the 72 mm side of DT 46415  (2) and EN 46342  (1), install the output shaft front bearing (136) until it bottoms out in the torque converter housing.
  18. When the bearing is fully seated the bearing will be slightly above the housing surface due to the design of the bearing.


    Object Number: 1203390  Size: SH
  19. Using the 37 mm side of the DT 46413  (2) and EN 46342  (1), install the 29 mm x 39 mm x 9.5 mm 1st/2nd clutch shaft front bearing (127) until it bottoms out into the torque converter housing (150).

  20. Object Number: 1203391  Size: SH
  21. Install both 1st/2nd clutch shaft lube feed collar O-ring seals (128) on the 1st/2nd clutch shaft lube feed collar (129). Lubricate the O-ring seals with transmission fluid.

  22. Object Number: 1353658  Size: SH

    Important: Ensure the lube feed collar is fully seated into the torque converter housing. Ensure there is no damage to the O-ring seals during installation.

  23. Install the lube feed collar (129) into the torque converter housing bore with the aid of the 40 mm side of DT 46413  (2) and EN 46342  (1) as shown.

  24. Object Number: 1203392  Size: SH
  25. Using the 62 mm side of DT 46414  (2) and EN 46342  (1), install the 32 mm x 63 mm x 19 mm 1st/2nd clutch shaft intermediate bearing (130) with the groove for the lock tab facing up.
  26. The 1st/2nd clutch shaft intermediate bearing is properly installed into the torque converter housing when the following conditions are met:

    • Install the bearing until the lock tab groove is aligned to the lock tab surface.
    • When the lock tab is flush to the mounting surface, the lock tab will slide into the bearing groove .

    Object Number: 1203893  Size: SH
  27. Install the 1st/2nd clutch shaft intermediate bearing retainer lock tab retainer (132).
  28. Install the 1st/2nd clutch shaft intermediate bearing retainer M6 x 1.0 mm x 20 mm bolt (133).
  29. Tighten
    Tighten the bolt to 12 N·m (106 lb in)

  30. Secure the bolt by bending the lock tab against the bolt head.

  31. Object Number: 1205919  Size: SH

    Important: 

       • Lubricate all parts with automatic transmission fluid during installation.
       • Replace the tapered roller bearing with a NEW one whenever the race is replaced.
       • Do not use the selective shim or shims on the torque converter housing side.
       • Adjust the preload after replacing the tapered roller bearing and race.

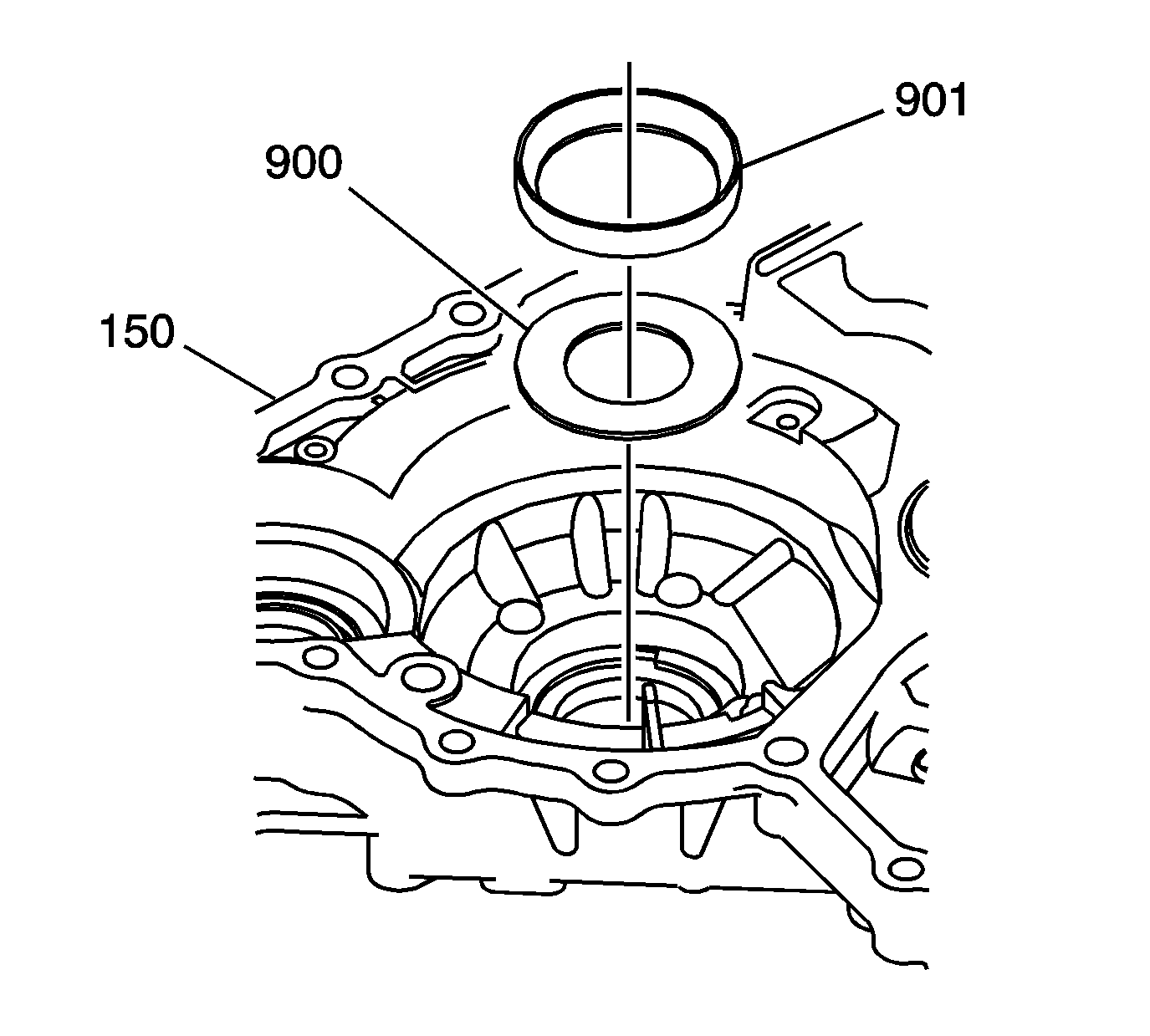
  32. Install the front differential front bearing race spacer (900) into the torque converter housing (150).
  33. Install the front differential tapered front roller bearing 80 mm race (901) into the torque converter housing (150).

  34. Object Number: 1205920  Size: SH
  35. Using the 78 mm side of DT 46428  (2) and EN 46342  (1), install the 80 mm front differential tapered front roller bearing race (901) until fully seated.

  36. Object Number: 1203381  Size: SH
  37. Using the DT 46414  (2) and EN 46342  (1), install the torque converter bearing (115) until it bottoms out flush in the torque converter housing (150) using the 68 mm side of the driver.

  38. Object Number: 1357928  Size: SH

    Notice: Do not install the torque converter fluid seal (116) below the flanged section of the torque converter housing or premature failure of the mainshaft front bearing could occur.

  39. Using the DT 46417 and EN 46342 , install the torque converter fluid seal (116) until it is flush with the flanged section of the torque converter housing (150) using the 45 mm side of the driver.

  40. Object Number: 1205924  Size: SH
  41. Using EN 46342  (1) and DT 46429  (2), install the 35 mm x 54 mm x 8 mm front wheel drive shaft fluid seal (117) into the torque converter housing (150) until the seal is flush with the housing surface.

  42. Object Number: 1360901  Size: SH
  43. Using the 65 mm side of DT 46417  (2) and EN 46342  (1) install a NEW 48 mm x 65 mm x 7.5 mm transfer case input shaft seal (118) into the torque converter housing (150) until the seal is flush with the housing surface.

  44. Object Number: 1344607  Size: SH
  45. Install the magnetic chip collector (137) back into the torque converter housing assembly (150).