GM Service Manual Online
For 1990-2009 cars only
Connector 1: Heated Seat Back - Driver (KA1)
Connector 2: Heated Seat Back - Front Passenger (KA1)
Connector 3: Heated Seat Control Module - Driver (KA1)
Connector 4: Heated Seat Control Module - Front Passenger (KA1)
Connector 5: Heated Seat Cushion - Front Passenger (KA1)
Connector 6: Heated Seat Switch - Driver (KA1)
Connector 7: Heated Seat Switch - Front Passenger (KA1)
Connector 8: Seat Adjuster Switch - Driver (AG1)
Connector 9: Seat Recline Motor - Driver (AG1)
Connector 10: Seat Vertical Motor - Driver (AG1)

Heated Seat Back - Driver (KA1)


Object Number: 646421  Size: CH

Connector Part Information

  • OEM: 12059253
  • Service: See Catalog
  • Description: Metri-Pack 150 Series 2-Way F (L-GN)

Heated Seat Back - Driver (KA1)

Pin

Wire Color

Circuit No.

Function

A

OG

18

Heated Seat Element Supply Voltage

B

BK

650

Ground

Heated Seat Back - Front Passenger (KA1)


Object Number: 39661  Size: CH

Connector Part Information

  • OEM: 12089247
  • Service: See Catalog
  • Description: 4-Way F Metri-Pack 150 Series

Heated Seat Back - Front Passenger (KA1)

Pin

Wire Color

Circuit No.

Function

A

RD

2479

Heated Seat Element Supply Voltage

B

GY

--

Heated Seat Element Temperature Signal

C

BK

650

Ground

D

OG

18

Heated Seat Element Supply Voltage

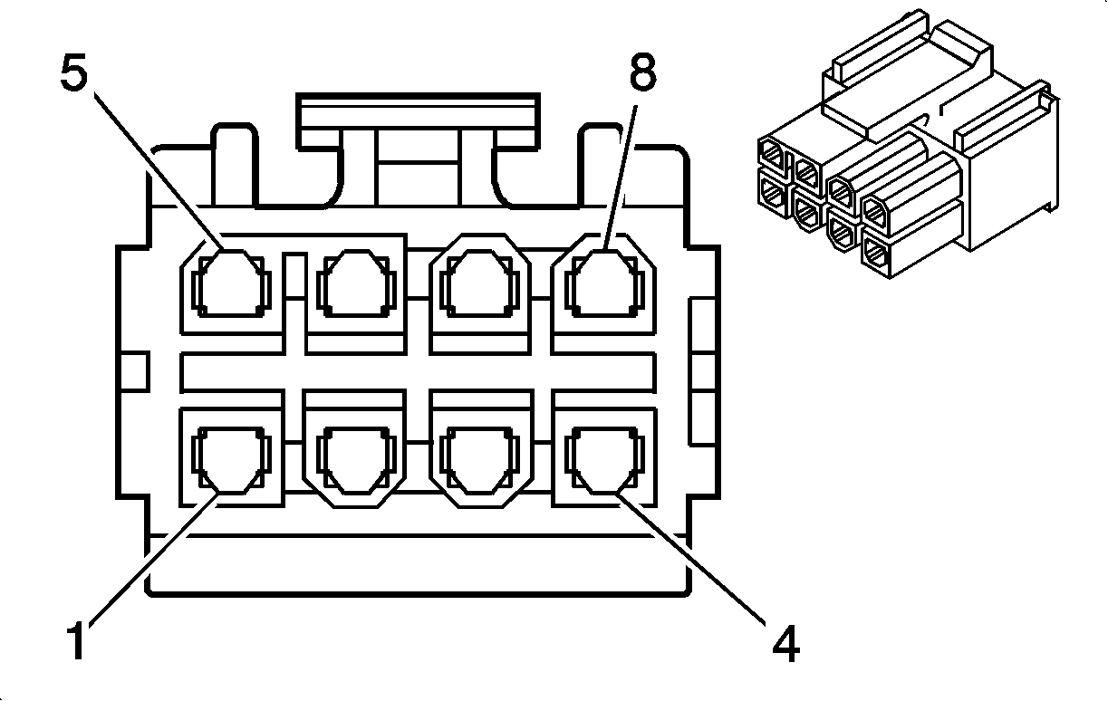
Heated Seat Control Module - Driver (KA1)


Object Number: 813070  Size: CH

Connector Part Information

  • OEM:15-97-5081
  • Service: See Catalog
  • Description: 8-Way F

Heated Seat Control Module - Driver (KA1)

Pin

Wire Color

Circuit No.

Function

1-2

--

--

Not used

3

PK

1501

Driver Heated Seat High/Low Signal

4

BK

650

Ground

5

OG

1540

Battery Positive Voltage

6

GY

--

Heated Seat Element Temperature Signal

7

OG

2077

Heated Seat Element Supply Voltage

8

L-BU

1462

Driver Heated Seat Switch Signal

Heated Seat Control Module - Front Passenger (KA1)


Object Number: 813070  Size: CH

Connector Part Information

  • OEM: 15-97-5081
  • Service: See Catalog
  • Description: 8-Way F

Heated Seat Control Module - Front Passenger (KA1)

Pin

Wire Color

Circuit No.

Function

1-2

--

--

Not used

3

PK/BK

1503

Front Passenger Heated Seat High/Low Signal

4

BK

650

Ground

5

OG

1540

Battery Positive Voltage

6

GY

--

Heated Seat Element Temperature Signal

7

OG

2479

Heated Seat Element Supply Voltage

8

L-BU/BK

1505

Front Passenger Heated Seat Switch Signal

Heated Seat Cushion - Front Passenger (KA1)


Object Number: 646421  Size: CH

Connector Part Information

  • OEM: 12059253
  • Service: See Catalog
  • Description: Metri-Pack 150 Series 2-Way F (L-GN)

Heated Seat Cushion - Front Passenger (KA1)

Pin

Wire Color

Circuit No.

Function

A

BK

650

Ground

B

OG

--

Heated Seat Element Supply Voltage

Heated Seat Switch - Driver (KA1)


Object Number: 40446  Size: CH

Connector Part Information

  • OEM: 12177194
  • Service: See Catalog
  • Description: 6-Way F Metri-Pack 150 Series (NA)

Heated Seat Switch - Driver (KA1)

Pin

Wire Color

Circuit No.

Function

A

PK

1501

Driver Heated Seat High/Low Signal

B

GY

8

Instrument Panel Lamps Dimmer Switch Signal

C

--

--

Not Used

D

BN

141

Ignition 1 Voltage

E

BK

650

Ground

F

L-BU

1462

Driver Heated Seat Switch Signal

Heated Seat Switch - Front Passenger (KA1)


Object Number: 304345  Size: CH

Connector Part Information

  • OEM: 12177195
  • Service: See Catalog
  • Description: 6-Way F Metri-Pack 150 Series (BK)

Heated Seat Switch - Front Passenger (KA1)

Pin

Wire Color

Circuit No.

Function

A

PK/BK

1503

Front Passenger Heated Seat High/Low Signal

B

GY

8

Instrument Panel Lamps Dimmer Switch Signal

C

--

--

Not Used

D

BN

141

Ignition 1 Voltage

E

BK

650

Ground

F

L-BU/BK

1505

Front Passenger Heated Seat Switch Signal

Seat Adjuster Switch - Driver (AG1)


Object Number: 556473  Size: CH

Connector Part Information

  • OEM: 15326924
  • Service: See Catalog
  • Description: 8-Way F GT 280 Series (BK)

Seat Adjuster Switch - Driver (AG1)

Pin

Wire Color

Circuit No.

Function

A

D-GN

286

Seat Front Vertical Down Control

B

BK

650

Ground

C

RD

285

Seat Horizontal Forward Control

D

OG

1240

Battery Positive Voltage

E

YE

282

Seat Rear Vertical Up Control

F

BK

284

Seat Horizontal Rearward Control

G

L-BU

283

Seat Rear Vertical Down Control

H

D-BU

287

Seat Front Vertical Down Control

Seat Recline Motor - Driver (AG1)


Object Number: 811182  Size: CH

Connector Part Information

  • OEM: 811860
  • Service: See Catalog
  • Description: 2-Way F (BK)

Seat Recline Motor - Driver (AG1)

Pin

Wire Color

Circuit No.

Function

1

L-BU

283

Seat Rear Vertical Down Control

2

YE

282

Seat Rear Vertical Up Control

Seat Vertical Motor - Driver (AG1)


Object Number: 811182  Size: CH

Connector Part Information

  • OEM: 811860
  • Service: See Catalog
  • Description: 2-Way F (BK)

Seat Vertical Motor - Driver (AG1)

Pin

Wire Color

Circuit No.

Function

1

D-BU

287

Seat Front Vertical Down Control

2

D-GN

286

Seat Front Vertical Down Control