GM Service Manual Online
For 1990-2009 cars only

Info - Limited Service Repair Program for the 3.5L V-6 Engine Assembly (RPO L66)

Subject:Limited Service Repair Program for the 3.5L V-6 Engine Assembly (RPO L66)

Models:2004- 2005 Saturn VUE Vehicles)
with 3.5L V-6 Engine (VIN 4 -- RPO L66

Attention: Fixed Operations Manager and Technician


This bulletin is being revised to add the 2005 model year. Please discard Corporate Bulletin Number 03-06-01-026 (Section 06 -- Engine).


Purpose

The purpose of this bulletin is to outline the level of service for 2004 and 2005 Saturn VUE vehicles equipped with the 3.5L V-6 engine (RPO L66).

The Limited Service Repair Program will be used to provide quick and reliable product feedback that product engineering will use to identify and resolve product concerns.

Important: To facilitate effective engineering analysis, do not disassemble or loosen any fasteners of the removed short block or cylinder head assemblies. Also, be sure to completely fill out the Core Return Tag (item # S0399300) before returning any engine short block or cylinder head assembly to the SSPO Core Return Center (in Canada, use the normal core return process to return to your servicing PDC).

AUTHORIZED 3.5L V-6 (RPO L66) ENGINE COMPONENT REPAIRS

Currently, authorized repairs on the 3.5L V-6 (RPO L66) engine assembly include all components excluding the short block and cylinder head assemblies. If any internal component of the 3.5L V-6 (RPO L66) short block or cylinder head assemblies require repair or replacement, the complete short block or cylinder head must be replaced as an assembly. If any of the component parts of the short block or cylinder head listed below require replacement, install a new assembly. All other components are fully serviceable.

SHORT BLOCK

Block, Crankshaft and Connecting Rod Bearings, Connecting Rods, Pistons, Piston Rings, Oil Flow Control Module.

CYLINDER HEAD

Valve Guides, Valve Seats, Valve Seals, Valve Springs, Valve Spring Retaining Components, Valve Lash Adjusters, Camshafts, Rocker Arm Assemblies.

Important: Do not remove any unauthorized components from the engine short block or cylinder head assemblies. Do not remove/replace any unauthorized fasteners from the engine short block assembly as the fastener torque data may assist in determining the cause of the malfunction.

FLUID LEAK (S)

  1. Verify the fluid leak is actually engine oil or coolant. Refer to "Oil Leak Diagnosis" (SI Document ID #1314600) in the Engine Mechanical section of the 2004 or 2005 Saturn VUE Engine (L66) Service Manual.
  2. Be sure to mark the exact location of the leak(s) on the short block assembly with a permanent marker or paint stick.

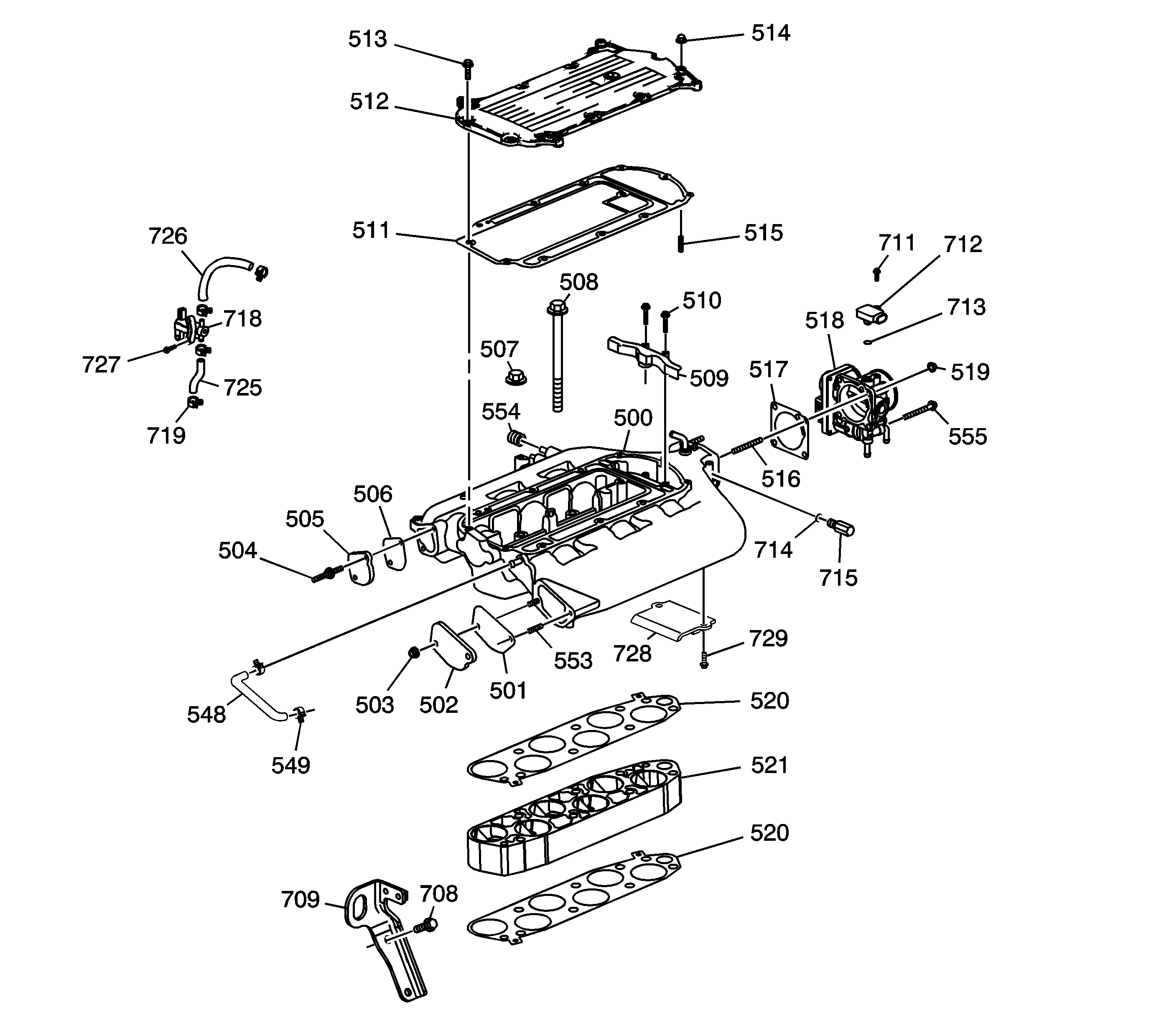
INTAKE MANIFOLD/UPPER ENGINE


Object Number: 1364827  Size: LF

500. Intake Manifold

511. Gasket

548. Positive Crankcase Ventilation (PCV) Hose

715. Intake Air Temperature (IAT) Sensor

501. Gasket

512. Cover Top

549. Clamp

718. Evaporative Emission (EVAP) Valve

502. Cover Side

513. Bolt

553. Stud

719. Clamp

503. Nut

514. Nut

554. Cap

725. Hose

504. Bolt/Stud

515. Stud

555. Bolt

726. Hose

505. Cover Side

516. Stud

708. Bolt

727. Bolt

506. Gasket

517. Gasket

709. Front Lift Bracket

728. Dampener

507. Nut

518. Throttle Body

711. Bolt

729. Bolt

508. Bolt

519. Nut

712. Manifold Absolute Pressure (MAP) Sensor

 

509. Exhaust Gas Recirculation (EGR) Tube

520. Gasket

713. O-Ring

 

510. Bolt

521. Spacer

714. O-Ring

 

CYLINDER HEAD/UPPER ENGINE


Object Number: 1364833  Size: LF

Important: Ensure head gasket is returned with engine or cylinder head assembly.

COMPONENT PARTS SHOWN IN BOLD REQUIRE CYLINDER HEAD ASSEMBLY REPLACEMENT

200. Cylinder Head

217. Nut

410. Oil Filter

541. Gasket

201. Guide Intake

218. Rocker Arm Exhaust

429. Oil Level Indicator

542. Cover

202. Spring Seat-Intake

219. Spring

441. O-Ring

543. Bolt

203. Seal Intake

220. Shaft Exhaust

522. Fuel Feed Pipe

544. Grommet

204. Spring Intake

221. Shaft Intake

523. Fuel Rail with Injectors and Hoses

545. Oil Filter Cap

205. Cap Intake

222. Valve Intake

524. Bolt

546. O-Ring

206. Keys Intake

223. Seal

525. O-Ring

547. Pin

207. Valve Lash Adjuster

225. Gasket

526. Clip

549. O-Ring

208. Bolt

226. Pin

527. Fuel Injector

551. Positive Crankcase Ventilation (PCV) Valve

209. Camshaft

263. Valve Exhaust

528. O-Ring

552. Bolt

210. O-Ring

264. Guide Exhaust

530. Nut

706. Spark Plug

211. Cap

265. Sprint Seat - Exhaust

531. Manifold

707. Ignition Coil

212. Bolt

266. Seal Exhaust

532. Bolt

708. Bolt

213. Stud

267. Spring Exhaust

533. Gasket

720. Knock Sensor

214. Bolt

268. Cap Exhaust

534. Stud

731. Bolt

215. Rocker Arm Assembly Intake

269. Keys Exhaust

535. Stud

 

216. Bolt

270. Gasket

540. Seal

 

FRONT/REAR OF ENGINE


Object Number: 1364835  Size: LF

124. Crankshaft Rear Oil Seal

235. Timing Belt

247. Bolt

262. Bolt

125. Flywheel

236. Guide

248. Sprocket

271. Label

126. Washer

237. Sprocket

249. Bolt

272. Seal

127. Bolt

238. Bolt

250. Bolt

410. Oil Filter

227. Balancer Bolt with Washer

239. Idler Pulley

251. Bolt

419. Seal

228. Crankshaft Balancer

240. Bolt

252. Tensioner

700. Camshaft Position (CMP) Sensor

229. Cover Lower Front

241. Sprocket

256. Seal

701. Harness

230. Seal

242. Bolt

257. Cover Upper Front

702. Nut

231. Nut

243. Seal

258. Seal

703. Guide

232. Tensioner Pulley

244. Cover Upper Rear

259. Cover Upper Front

704. Crankshaft Position (CKP) Sensor

233. Tensioner Bracket

245. Seal

260. Grommet

723. Bolt

234. Tensioner Bushing

246. Cover Upper Rear

261. Bolt

730. Bolt

LOWER ENGINE ASSEMBLY


Object Number: 897258  Size: LF

COMPONENT PARTS SHOWN IN BOLD REQUIRE SHORT BLOCK ASSEMBLY REPLACEMENT.

100. Engine Block

116. Connecting Rod Cap

126. Washer

 

102. Crankshaft

117. Bearing - Connecting Rod

127. Bolt

406. O-Ring

103. Cap

118. Connecting Rod

128. Pin

407. Bolt

104. Bearing - Thrust

119. Pin

129. Pin

408. Deflector

105. Bearing - Main Upper

120. Piston

400. Oil Pan

409. Bolt

106. Bearing - Main Lower

121. Clip

401. O-Ring

536. O-Ring

107. Pin

122. Piston Rings

402. Pin

537. Housing

108. Bolt

123. Key

403. Drain Plug

538. Bolt

109. Bolt

124. Seal

404. Bolt

539. Pin

115. Bolt

125. Flywheel

405. Screen

 

COOLING SYSTEM/EGR


Object Number: 1364837  Size: LF

110. Coolant Drain Plug

305. Coolant Crossover Pipe

311. Thermostat

601. Exhaust Gas Recirculation (EGR) Valve

111. Coolant Drain Fitting

306. Gasket

312. O-Ring

602. Gasket

112. Washer

307. Gasket

313. Housing

603. Stud

113. Coolant Drain Plug

308. Housing

314. Bolt

716. O-Ring

114. Washer

309. Nut

410. Oil Filter

717. Coolant Temperature Sensor (CTS)

304. O-Ring

310. Bolt

600. Nut

720. Knock Sensor

REMOVAL AND INSTALLATION PROCEDURE

Refer to the engine short block and cylinder head removal and installation procedures in the 2004 or 2005 Saturn VUE Engine (L66) Service Manual.

SHIPPING PREPARATION

  1. Place removed engine short block or cylinder head core into the original shipping container. Be sure that all coolant and oil is properly drained from core, and drain plugs are replaced. Place the drained core into the new plastic bag provided and then carefully place the bagged engine core in the shipping container.
  2. Complete and attach the Core Return Tag (item # S0399300) to the engine short block or cylinder head core. Completely fill in the following information: core part number, retailer code, CSO number, and last eight (8) digits of the vehicle identification number (VIN). Retailers will NOT receive credit for returned cores if the Core Return Tag has not been completed.
  3. Secure the engine core to the container base with the enclosed adjustable strap or metal straps as received in the original packaging.
  4. Secure the wood top to the original shipping container.
  5. Return the engine core as soon as possible to SSPO Core Return Center, Spring Hill, TN (in Canada, use the normal core return process to return to your servicing PDC).

Important: NO credit will be provided for incorrect, incomplete or disassembled engine cores. Engine core damage caused as a result of collision, fire, flood, or misuse is not eligible to participate in this program.

SHIPPING INSTRUCTIONS

Core returns are to be shipped to the SSPO Core Return Center, Spring Hill, TN (in Canada, use the normal core return process to return to your servicing PDC) upon completion of repair. U.S. retailers, please refer to "Special Transactions" in the Saturn Parts Policies and Procedures Manual for core return process information.

Claim Information

To receive credit for any repairs during the warranty coverage period, submit a claim through the Saturn Dealer System, or if another procedure is performed, refer to the appropriate Electronic Labor Time Guide for the correct Labor Operation Code and Time.

Labor Operation

Labor Time

J0152

SPACER, INTAKE - REPLACE

J0194

COVER, UPPER INTAKE MANIFOLD--REPLACE

J0250

MANIFOLD INTAKE --REPLACE

J0251

GASKET, INTAKE MANIFOLD REPLACE

J0258

MANIFOLD INTAKE LOWER REPLACE

J0259

GSKT INTAKE MANIFOLD LOWER REPLACE

J0310

COVER/GASKET, R-CAMSHAFT HSG-REPLACE

J0311

COVER/GASKET, L-CAMSHAFT HSG-REPLACE

J0317

COVER/GASKET, BOTH CAMSHAFT HSG-REPLACE

J0500

GASKET, R-BANK CYLINDER HEAD-REPLACE

J0501

GASKET, L-BANK CYLINDER HEAD-REPLACE

J0507

GASKET, BTH BANKS CYL HEAD--REPLACE

J0510

HEAD, RIGHT BANK CYLINDER-REPLACE

J0511

HEAD, LEFT BANK CYLINDER-REPLACE

J0517

HEAD, BOTH BANKS CYLINDER-REPLACE

J0340

ROCKER ARM INTAKE RIGHT (REAR) HEAD--REPLACE

J0341

ROCKER ARM, INTAKE LEFT (FRONT) HEAD--REPLACE

J0342

ROCKER ARM EXHAUST RIGHT (REAR) HEAD--REPLACE

J0343

ROCKER ARM, EXHAUST LEFT (FRONT) HEAD--REPLACE

J0519

VALVES, ADJUST

J0520

VALVES ONE CYL * RIGHT BANK - RECONDITION OR REPLACE

J0521

VALVES ONE CYL * LEFT BANK - RECONDITION OR REPLACE

J0527

VALVES, ONE CYLINDER, BOTH BANKS- RECONDITION OR REPLACE

J0540

SPRING, CAP AND/OR SEAL, VALVE ONE CYL * RIGHT BANK - REPLACE

J0541

SPRING, CAP AND/OR SEAL, VALVE ONE CYL * LEFT BANK - REPLACE

J0547

SPRING, CAP AND/OR SEAL, VALVE ONE CYL * BOTH BANKS - REPLACE

J0667

BELT, SERPENTINE DRIVE - REPLACE

J0684

PULLEY ASSY, SERP BELT TENSION-REPLACE

J0686

BRACKET,TIMING BELT TENSIONER-REPLACE V

J0720

BALANCER, HARMONIC-REPLACE

J0794

SEAL, FRT CRANKSHAFT OIL-REPLACE

J0800

BELT, CAMSHAFT DRIVE-REPLACE

J0808

COVER,CAMSHAFT DRIVE BELT-FRONT-REPLACE

J0815

TENSIONER, TIMING BELT - REPLACE

J0816

PULLEY, TIMING BELT IDLER-REPLACE V

J0830

GEAR, CRANKSHAFT TIMING-REPLACE

J0840

GEAR, CAMSHAFT TIMING-REPLACE

J0850

CAMSHAFT - REPLACE

J0852

SEAL, ONE SEAL, RIGHT (REAR) BANK, CAMSHAFT - REPLACE

J0853

SEAL, ONE SEAL, LEFT (FRONT) BANK, CAMSHAFT - REPLACE

J0930

TUBE, OIL LEVEL INDICATOR - REPLACE

J0950

FILTER, OIL - REPLACE

J0990

PLUG AND/OR GASKET, OIL PAN DRAIN - REPLACE

J0973

SOLENOID, VTEC CONTROL - REPLACE

J0974

MODULE, VTEC OIL FLOW CONTROL - REPLACE

J0975

SWITCH, VALVE TIMING PRESSURE - REPLACE

J1000

PAN/GASKET, OIL-REPLACE

J1005

BAFFLE, OIL PAN - REPLACE

J1020

PUMP, ENGINE OIL-REPLACE

J1060

PICKUP TUBE AND SCREEN-REPLACE

J1120

SEAL, CRANKSHAFT REAR MAIN - REPLACE

J1400

FLYWHEEL (AUTOMATIC TRANSAXLE) - REPLACE

J1493

BRACKET, ENGINE MOUNT MIDRAIL - REPLACE

J1498

BRACKET, ENGINE MOUNT-FRNT-REPLACE

J1500

MOUNT, RIGHT FRONT ENGINE-REPLACE

J1820

BLOCK, PARTIAL/ BASIC - REPLACE

J3480

PUMP/GASKET, COOLANT-REPLACE

J3500

THERMOSTAT, OUTLET & GASKET-REPLACE

J3513

PIPE, WATER PUMP OUTLET - REPLACE

J3520

HOUSING AND/OR GASKET, THERMOSTAT - REPLACE

J3527

HOUSING &/OR SEAL, WATER CROSSOVER-REPLACE

J4100

GENERATOR ASSEMBLY-REPLACE

J4217

SPARK PLUG - DIAGNOSTICS WITHOUT REPLACEMENT

J4226

PLUGS, SPARK, ONE OR TWO- REPLACE

J4340

MODULE, IGNITION - REPLACE

J4350

SENSOR, CAMSHAFT - REPLACE

J4355

SENSOR, CRANKSHAFT - REPLACE

J4437

SENSOR, ELEC SPARK CNTRL KNOCK-REPLACE

J4640

MOTOR ASSEMBLY, STARTER - REPLACE

J5020

DUCT AND/OR HOSE, OUTSIDE AIR - REPLACE

J5490

BODY UNIT, THROTTLE-REPLACE

J5650

INJECTOR, FUEL - REPLACE

J5660

RAIL, FUEL - REPLACE

J6200

SENSOR, AIR CLEANER TEMPERATURE-REPLACE

J6270

VALVE/GASKET, EGR-REPLACE

J6360

CONTROLLER, VCM/ECM - REPLACE

J6368

COOLANT TEMPERATURE SENSOR-REPLACE

J6370

MANIFOLD ABSLT PRESSURE SENSOR-REPLACE

J6372

SENSOR, EXHAUST OXYGEN - REPLACE

J6380

SENSOR, HEATED OXYGEN (EXHAUST PIPE UNIT) - REPLACE

J6441

VALVE, CANISTER VENT SOLENOID-REPLACE