GM Service Manual Online
For 1990-2009 cars only

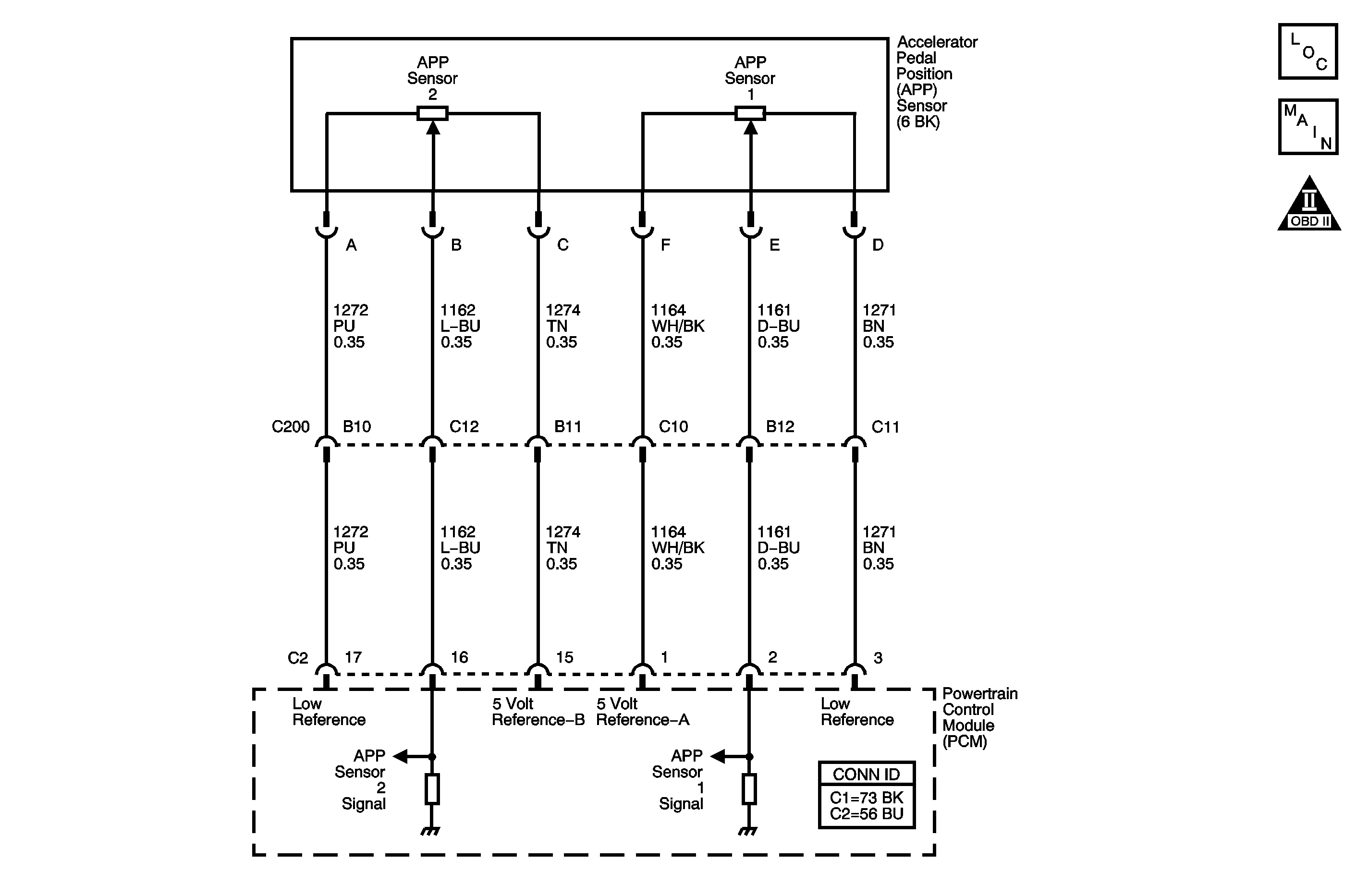
Object Number: 1350436  Size: MF
Engine Controls Component Views
Engine Controls Schematics
Engine Controls Schematic Icons

Description

This diagnostic compares the APP sensor 1 input with the APP sensor 2 input. There are two APP sensors located at the accelerator pedal that are an integral component of the throttle actuator control (TAC) system. The APP sensors obtain driver input through the accelerator pedal angle. The powertrain control module (PCM) receives the APP sensor input and uses that information to determine the necessary throttle opening. The PCM expects the output of the two APP sensors to follow the same linear path. If the two sensors report conflicting information to the PCM, this DTC sets. For additional information on the operation of the APP sensor and the TAC system refer to Throttle Actuator Control (TAC) System Description .

DTC Descriptor

This diagnostic procedure supports the following DTC.

DTC P2138 Accelerator Pedal Position (APP) Sensor 1/2 Correlation

Conditions for Running the DTC

    • DTCs P2122, P2123, P2127, and P2128 are not set.
    • The ignition is ON.
    • DTC P2138 runs continuously once the above conditions are met.

Conditions for Setting the DTC

    • The APP sensor 2 output voltage is 0.18 volts more or less than the expected voltage based on the APP sensor 1 input.
    • The above condition is present for at least 300 milliseconds.

Action Taken When the DTC Sets

    • The control module illuminates the malfunction indicator lamp (MIL) when the diagnostic runs and fails.
    • The control module records the operating conditions at the time the diagnostic fails. The control module stores this information in the Freeze Frame/Failure Records.

Conditions for Clearing the MIL/DTC

    • The control module turns OFF the malfunction indicator lamp (MIL) after 3 consecutive ignition cycles that the diagnostic runs and does not fail.
    • A current DTC, Last Test Failed, clears when the diagnostic runs and passes.
    • A history DTC clears after 40 consecutive warm-up cycles, if no failures are reported by this or any other emission related diagnostic.
    • Clear the MIL and the DTC with a scan tool.

Test Description

The numbers below refer to the step numbers in the diagnostic table.

  1. The Diagnostic System Check-Engine Controls prompts the technician to complete some basic checks and store the Freeze Frame data on the scan tool, if applicable. This creates an electronic copy of the data taken when the fault occurred. The information is then stored in the scan tool for later reference.

  2. This step determines if a fault is current.

  3. This step tests the circuits of the APP sensor throughout its range of motion. A condition may not be present with the throttle in the closed position. Working the APP through its complete range may reveal an intermittent condition.

  4. A high resistance in any of the APP circuits will cause this DTC to set. Test any circuit that measured more than the specified value for a high resistance.

  5. This step tests the signal circuits of the APP sensors for a wire to wire short.

Step

Action

Value(s)

Yes

No

Schematic Reference: Engine Controls Schematics

Connector End View Reference: Powertrain Control Module Connector End Views or Engine Controls Connector End Views

1

Did you perform the Diagnostic System Check-Engine Controls?

--

Go to Step 2

Go to Diagnostic System Check - Engine Controls

2

  1. Turn ON the ignition, with the engine OFF.
  2. Leave the ignition ON for 30 seconds.
  3. Observe the DTC information, with a scan tool.

Did the DTC fail this ignition?

--

Go to Step 4

Go to Step 3

3

  1. Clear the DTC information, with a scan tool.
  2. Observe the DTC information, with a scan tool.
  3. Slowly depress the accelerator pedal to wide open throttle (WOT), then slowly return the accelerator pedal to the closed position.
  4. Repeat this action several times.

Did the DTC fail this ignition?

--

Go to Step 4

Go to Intermittent Conditions

4

  1. Turn OFF the ignition.
  2. Disconnect the accelerator pedal position (APP) sensor connector.
  3. Disconnect the powertrain control module (PCM).
  4. Measure the resistance of the following circuits with a DMM for each APP sensor:
  5. • The signal circuit
    • The 5-volt reference circuit
    • The low reference circuit

Is the resistance more than the specified value for any circuit?

5 ohms

Go to Step 8

Go to Step 5

5

Test the signal circuit of APP sensor 1 for a short to the signal circuit of APP sensor 2. Refer to Circuit Testing and Wiring Repairs in Wiring System.

Did you find and correct the condition?

--

Go to Step 10

Go to Step 6

6

Test for an intermittent and for a poor connection at the APP sensor. Refer to Testing for Intermittent Conditions and Poor Connections and Connector Repairs in Wiring Systems.

Did you find and correct the condition?

 

Go to Step 10

Go to Step 7

7

Test for an intermittent and for a poor connection at the PCM. Refer to Testing for Intermittent Conditions and Poor Connections and Connector Repairs in Wiring Systems.

Did you find and correct the condition?

 

Go to Step 10

Go to Step 9

8

Repair the high resistance in the APP circuit that measured above the specified value. Refer to Wiring Repairs in Wiring Systems.

Did you complete the repair?

 

Go to Step 10

--

9

Replace the APP sensor. Refer to Accelerator Pedal Position Sensor Replacement .

Did you complete the replacement?

 

Go to Step 10

--

10

  1. Use the scan tool in order to clear the DTCs.
  2. Start the engine.
  3. Operate the vehicle within the Conditions for Running the DTC. You may also operate the vehicle within the conditions that you observed from the Freeze Frame/Failure Records.

Did the DTC fail this ignition?

--

Go to Step 2

Go to Step 11

11

With a scan tool, observe the stored information, Capture Info.

Does the scan tool display any DTCs that you have not diagnosed?

--

Go to Diagnostic Trouble Code (DTC) List

System OK