GM Service Manual Online
For 1990-2009 cars only

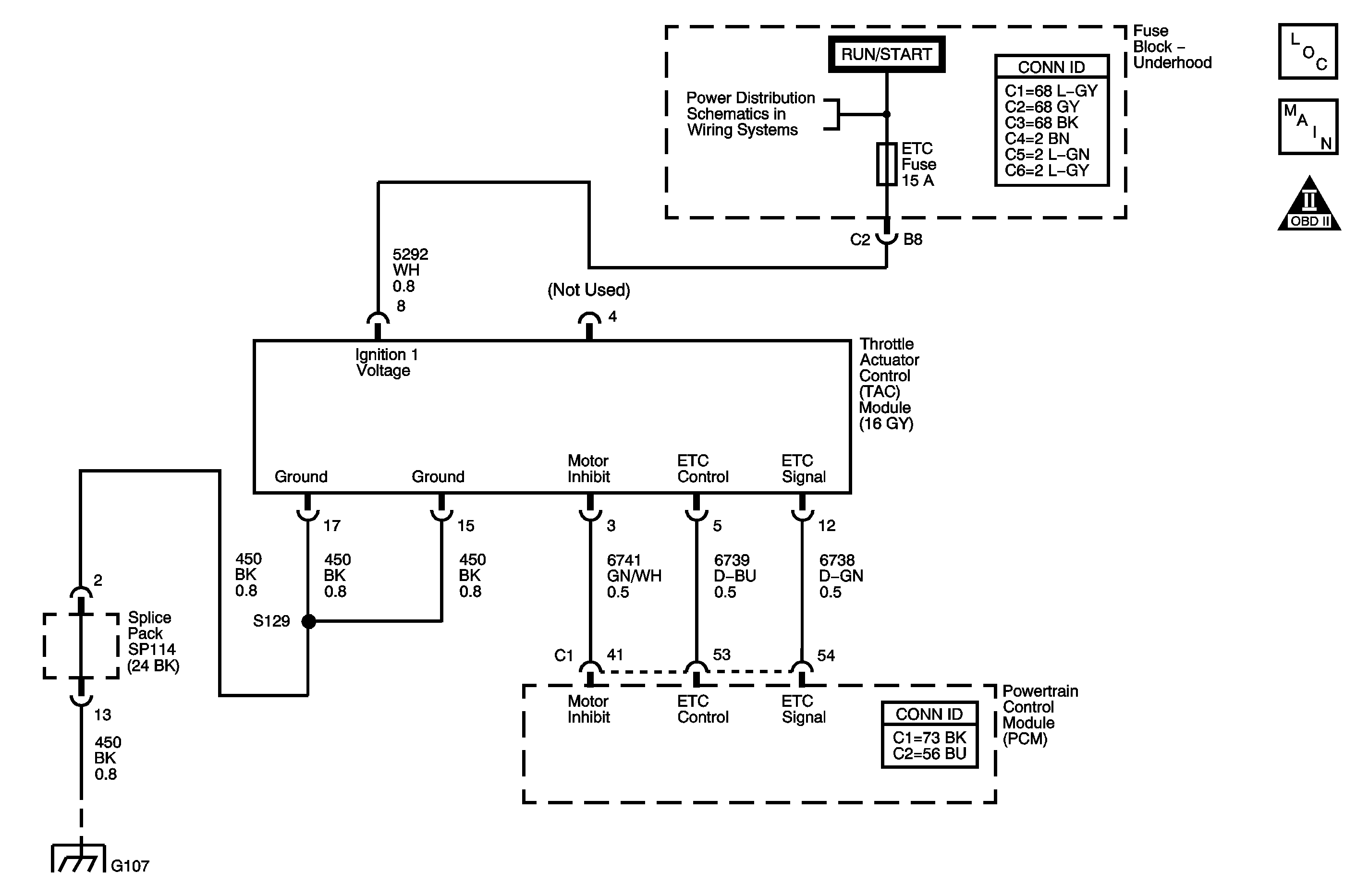
Object Number: 1350434  Size: MF
Engine Controls Component Views
Engine Controls Schematics
Engine Controls Schematic Icons

Description

This DTC detects a faulty throttle valve position. The throttle valve in the throttle body utilizes a throttle return spring to assist in positioning the throttle valve at a resting or default position. The powertrain control module (PCM) uses driver input from the accelerator pedal position (APP) sensor in order to calculate the desired throttle position. The PCM sends the desired throttle position or target value to the TAC module. The TAC module achieves the desired throttle position by commanding the throttle control motor to position the throttle valve at the target value. The TAC module then compares the TP sensor 1 value to the target value. If necessary, the throttle control motor is moved slightly in order to obtain the exact target value position. If the TP sensor indicates that the throttle valve has failed to reach the default position a DTC P2111 sets. For additional information on the operation of the TAC system refer to Throttle Actuator Control (TAC) System Description .

DTC Descriptor

This diagnostic procedure supports the following DTC.

DTC P2111 Throttle Actuator Control (TAC) Throttle Valve Stuck Open

Conditions for Running the DTC

    • DTCs P0117, P0118, P0122, P0123, P0222, P0223, P0641, P0651, P2100, P2101, P2108, P2122, P2123, P2127, P2128, P2135, P2138, P2176, or U0107 are not set.
    • The engine coolant temperature (ECT) is more than 70°C (158°F).
    • The ignition is ON, with the engine OFF.
    • DTC P2111 runs once per drive cycle when the above conditions are met.

Conditions for Setting the DTC

The throttle position (TP) is not between 4.9-7.9 degrees when the throttle valve is expected to be at the default position.

Action Taken When the DTC Sets

    • The control module illuminates the malfunction indicator lamp (MIL) when the diagnostic runs and fails.
    • The control module records the operating conditions at the time the diagnostic fails. The control module stores this information in the Freeze Frame/Failure Records.

Conditions for Clearing the MIL/DTC

    • The control module turns OFF the malfunction indicator lamp (MIL) after 3 consecutive ignition cycles that the diagnostic runs and does not fail.
    • A current DTC, Last Test Failed, clears when the diagnostic runs and passes.
    • A history DTC clears after 40 consecutive warm-up cycles, if no failures are reported by this or any other emission related diagnostic.
    • Clear the MIL and the DTC with a scan tool.

Diagnostic Aids

    • Use the J-35616 Connector Test Adapter Kit for any test that requires probing the PCM harness connector or a component harness connector.
    • Inspect for a condition in which the throttle valve may have been held open. For example, ice may have formed in the throttle bore causing the throttle valve not to close. Observe the Freeze Frame/Failure Records.
    • The throttle valve is spring loaded to a slightly open position. The throttle valve should be open approximately 11-15 percent. This is referred to as the rest position.
    • The throttle valve should not be completely closed or open any more than a specified amount.
    • The throttle valve should move open and to the closed position without binding under the normal spring pressure.
    • The throttle should NOT be free to move open or closed WITHOUT spring pressure.
    • The scan tool has the ability to operate the throttle control system using the throttle actuator control located in the throttle control menu. This function operates the throttle valve through the entire range in order to determine if the throttle actuator control (TAC) system operates correctly. Additional DTCs may set using this function. Refer to Scan Tool Output Controls for more information.
    • For an intermittent condition, refer to Intermittent Conditions .

Test Description

The numbers below refer to the step numbers on the diagnostic table.

  1. This step determines if the condition exists.

  2. Coking on the throttle bore or valve may cause this DTC to set.

  3. This step determines if the coking was the cause of the DTC.

Step

Action

Yes

No

Connector End View Reference: Powertrain Control Module Connector End Views or Engine Controls Connector End Views

1

Did you perform the Diagnostic System Check-Engine Controls?

Go to Step 2

Go to Diagnostic System Check - Engine Controls

2

  1. Turn ON the ignition, with the engine OFF.
  2. Clear the DTCs with a scan tool.
  3. Turn OFF the ignition for 30 seconds.
  4. Start the engine.
  5. Move the accelerator pedal from the rest position to the wide open position a couple of times.
  6. Observe the DTC Information with a scan tool.

Did the DTC fail this ignition?

Go to Step 4

Go to Step 3

3

  1. Observe the Freeze Frame/Failure records data for this DTC.
  2. Turn OFF the ignition for 30 seconds.
  3. Start the engine.
  4. Operate the vehicle within the Conditions for Running the DTC. You may also operate the vehicle within the conditions that you observed from the Freeze Frame/Failure records data.

Did the DTC fail this ignition cycle?

Go to Step 4

Go to Diagnostic Aids

4

Is DTC U0107 also set?

Go to DTC U0107

Go to Step 5

5

  1. Turn OFF the ignition.
  2. Disconnect the air cleaner resonator outlet duct from the throttle body.
  3. Inspect the throttle body valve and bore for the following conditions:
  4. • For foreign accumulation in the throttle bore
    • For coking on the throttle valve
    • For coking on the throttle shaft

Did you find a condition with the throttle body?

Go to Step 6

Go to Step 7

6

  1. Clean the throttle body valve and bore. Refer to Throttle Body Inspection and Cleaning .
  2. Turn ON the ignition, with the engine OFF.
  3. Clear the DTCs with a scan tool.
  4. Turn OFF the ignition for 30 seconds.
  5. Start the engine.
  6. Move the accelerator pedal from the rest position to the wide open position a couple of times.
  7. Observe the DTC Information with a scan tool.

Did the DTC fail this ignition?

Go to Step 7

Go to Step 9

7

Test for an intermittent and for a poor connection at the throttle body harness connector and at the PCM. Refer to Testing for Intermittent Conditions and Poor Connections and Connector Repairs in Wiring Systems.

Did you find and correct the condition?

Go to Step 9

Go to Step 8

8

  1. Replace the throttle body. Refer to Throttle Body Assembly Replacement .
  2. Perform the idle learn procedure. Refer to Idle Learn .

Did you complete the replacement?

Go to Step 9

--

9

  1. Clear the DTCs with a scan tool.
  2. Turn OFF the ignition for 30 seconds.
  3. Start the engine.
  4. Operate the vehicle within the Conditions for Running the DTC. You may also operate the vehicle within the conditions that you observed from the Freeze Frame/Failure Records.

Did the DTC fail this ignition?

Go to Step 2

Go to Step 10

10

Observe the Capture Info with a scan tool.

Are there any DTCs that have not been diagnosed?

Go to Diagnostic Trouble Code (DTC) List

System OK