GM Service Manual Online
For 1990-2009 cars only

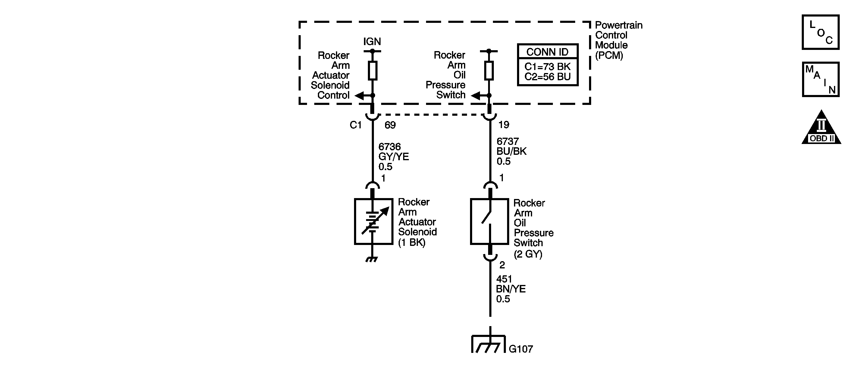
Object Number: 1350450  Size: SF
Engine Controls Component Views
Engine Controls Schematics
Engine Controls Schematic Icons

Circuit Description

The DTC P2648 Intake Rocker Arm Actuator Solenoid Control Circuit Low Voltage diagnostic monitors the electrical circuit of the rocker arm oil control solenoid. The rocker arm oil control solenoid enables the powertrain control module (PCM) to operate the high speed cam system. The high speed cam system significantly increases valve lift at engine speeds above 4,400 RPM. A second camshaft lobe with a high lift profile is cast into each camshaft, alongside the low/medium speed lobes. Unique rocker arms follow both the high speed and low/medium speed cam lobes. At engine speeds below 4,400 RPM, the low/medium speed cam lobes operate the rocker arms. When the rocker arm oil control solenoid is turned ON between 4,400-6,500 RPM, the rocker arms are operated by the high speed cam lobes. The rocker arm oil control solenoid is energized by a 12-volt signal from the PCM. A short to ground in the solenoid control circuit will set a DTC P2648. For additional information on the operation of the rocker arm oil control system refer to Rocker Arm Oil Control System Description .

DTC Descriptors

This diagnostic procedure supports the following DTC.

DTC P2648 Intake Rocker Arm Actuator Solenoid Control Circuit Low Voltage

Conditions for Running the DTC

    • Before the PCM can report DTC P2648 failed, DTC P0325 must run and pass.
    • Battery voltage is at least 10.1 volts.
    • The ignition is ON.
    • DTC P2648 runs continuously once the above conditions are met.

Conditions for Setting the DTC

    • The control circuit of the rocker arm oil control solenoid is low when the solenoid is ON.
    • The above condition is present for at least 2.5 seconds.

Action Taken When the DTC Sets

    • The PCM illuminates the malfunction indicator lamp (MIL).
    • The PCM stores the conditions that were present when the DTC set as Freeze Frame data.

Conditions for Clearing the MIL/DTC

    • The PCM turns OFF the MIL on the third consecutive trip cycle during which the diagnostic has been run and the fault condition is no longer present.
    • A DTC clears after 40 consecutive warm-up cycles have occurred without a fault.
    • A DTC can be cleared by using the scan tool Clear DTC Information function.

Test Description

The numbers below refer to the step numbers in the diagnostic table.

  1. The Diagnostic System Check-Engine Controls prompts the technician to complete some basic checks and store the Freeze Frame data on the scan tool if applicable. This creates an electronic copy of the data taken when the fault occurred. The information is then stored in the scan tool for later reference.

  2. This step checks the operation of the rocker arm oil control solenoid. With the oil control solenoid energized oil pressure will open the switch and the scan tool should indicate ON.

  3. This step checks for a short to ground in the rocker arm oil control solenoid circuit. The PCM provides a 12 volt bias signal on the solenoid control circuit that can be measured with the DMM.

  4. After replacing the PCM, a new minimum throttle position and idle speed must also be established.

Step

Action

Values

Yes

No

Connector End View Reference: Powertrain Control Module Connector End Views or Engine Controls Connector End Views

1

Did you perform the Diagnostic System Check-Engine Controls?

--

Go to Step 2

Go to Diagnostic System Check - Engine Controls

2

  1. Perform the scan tool Clear DTC Information function.
  2. Start the engine.
  3. Operate the engine for 1 minute.
  4. Review the scan tool data and check for DTC P2648.

Is DTC P2648 set?

--

Go to Step 4

Go to Step 3

3

  1. Start the engine.
  2. Start and run the engine until the coolant temperature is 85°C (185°F).
  3. Increase the engine speed to 2,800 RPM.
  4. Observe the rocker arm actuator oil pressure switch parameter on the scan tool.
  5. Command the rocker arm oil control solenoid ON and OFF with the scan tool. Refer to Scan Tool Output Controls .

Did the oil pressure switch indicate ON when the solenoid was commanded ON and OFF when the solenoid was commanded OFF?

--

Go to Intermittent Conditions

Go to Step 4

4

  1. Disconnect the rocker arm oil control solenoid.
  2. Measure the resistance of the solenoid from the electrical terminal to the solenoid housing, with a DMM.

Is the resistance within the specified range?

14-30 ohms at 20°C (68°F)

Go to Step 5

Go to Step 7

5

  1. Turn OFF the engine.
  2. Disconnect the electrical connector of the rocker arm oil control solenoid.
  3. Connect a DMM to the control circuit of the rocker arm solenoid and ground.
  4. Turn ON the ignition with the engine OFF.

Is the voltage near the specified value?

12 V

Go to Step 7

Go to Step 6

6

  1. Inspect the solenoid control circuit of the Rocker Arm Oil Control Solenoid for a short to ground.
  2. Repair as necessary. Refer to Wiring Repairs in Wiring Systems.

Was a repair necessary?

--

Go to Step 9

Go to Step 8

7

Replace the rocker arm oil control solenoid. Refer to Rocker Arm Oil Control Solenoid Valve Replacement .

Is the action complete?

--

Go to Step 9

--

8

  1. Replace the PCM. Refer to Powertrain Control Module Replacement .
  2. Perform the idle learn procedure. Refer to Idle Learn .

Did you complete the replacement?

--

Go to Step 9

--

9

  1. Use the scan tool in order to clear the DTCs.
  2. Turn OFF the ignition for 30 seconds.
  3. Start the engine.
  4. Operate the vehicle within the Conditions for Running the DTC as specified in the supporting text.

Does the DTC run and pass?

--

Go to Step 10

Go to Step 2

10

With a scan tool, observe the stored information, Capture Info.

Does the scan tool display any DTCs that you have not diagnosed?

--

Go to Diagnostic Trouble Code (DTC) List

System OK