GM Service Manual Online
For 1990-2009 cars only

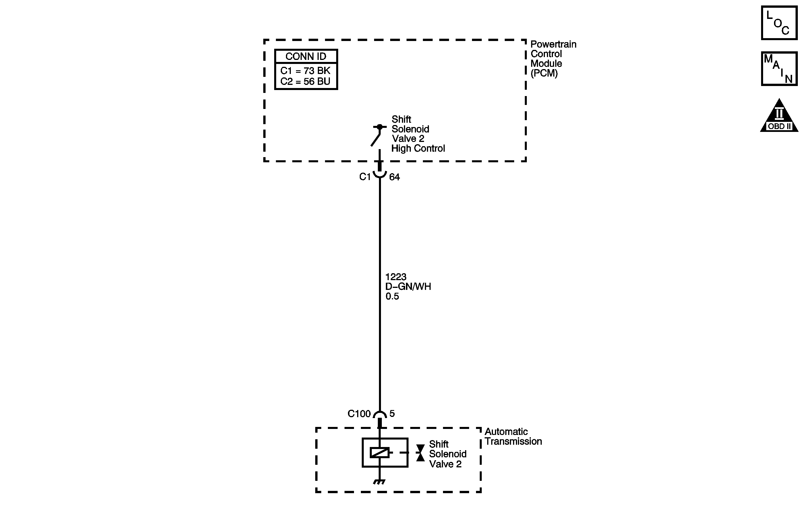
Object Number: 1246940  Size: MF
Master Electrical Component List
Automatic Transmission Controls Schematics
OBD II Symbol Description Notice

Circuit Description

The shift solenoid (SS) valve 2 is a normally open valve that mounts into the transmission case. The SS valve 2 controls the modulator pressure to the shift valve 2, as commanded by the powertrain control module (PCM). When the PCM energizes the SS valve 2, it closes the passage to the shift valve 2, and the modulator pressure is exhausted. When the PCM de-energizes the SS valve 2, it allows the modulator pressure to apply to the shift valve 2. The PCM has a diagnosis circuit inside, to monitor the voltage level to the SS valve 2, and receives a return signal. When the PCM detects a short to ground on the SS valve 2 high control circuit, DTC P0976 sets. DTC P0976 is a type A DTC.

Refer to Shift Solenoid Valve State and Gear Ratio .

Conditions for Running the DTC

    • No Clutch PC Solenoid Valve 1 DTCs P0746 or P0747.
    • No SS Valve Performance DTC P0751.
    • No Clutch PC Solenoid Valve 2 DTC P0777.
    • No Clutch PC Solenoid Valve 1 DTCs P0962 or P0963.
    • No Clutch PC Solenoid Valve 2 DTCs P0966 or P0967.
    • No SS Valve 1 DTCs P0973 or P0974.
    • No SS Valve 2 DTC P0977.
    • No SS Valve 3 DTCs P0979 or P0980.
    • No TCC PC Solenoid DTCs P2763 or P2764.
    • No TCC Enable Solenoid DTCs P2769 or P2770.
    • System Voltage is greater than 11 volts.
    • The engine is running.
    • The vehicle is in D range for 1 second or greater.

Conditions for Setting the DTC

The PCM detects a short to ground on the SS valve 2 high control circuit for 1 second or greater.

Action Taken When the DTC Sets

    • The PCM illuminates the malfunction indicator lamp (MIL).
    • The PCM limits the transmission shift to 4th gear.
    • The PCM records the operating conditions when the Conditions for Setting the DTC are met. The PCM stores this information as Freeze Frame and Failure Records.
    • The PCM stores DTC P0976 in PCM history.

Conditions for Clearing the MIL/DTC

    • The PCM turns OFF the MIL during the third consecutive trip in which the diagnostic test runs and passes.
    • A scan tool can clear the MIL/DTC.
    • The PCM clears the DTC from PCM history if the vehicle completes 40 warm-up cycles without an emission related diagnostic fault occurring.

Diagnostic Aids

    • Inspect the connectors at the PCM, the SS valve 2, and all other circuit connecting points for an intermittent condition. Refer to Testing for Intermittent Conditions and Poor Connections in Wiring Systems.
    • Inspect the circuit wiring for an intermittent condition. Refer to Testing for Electrical Intermittents in Wiring Systems.
    • Inspect for a shorted SS valve 2 circuit.
    • Inspect for a faulty SS valve 2.
    • Inspect for a PCM internal fault.

Test Description

The numbers below refer to the step numbers on the diagnostic table.

  1. This step verifies that the PCM is providing voltage to the shift solenoid valve 2.

  2. This step tests for an open in the ground circuit to the shift solenoid valve 2.

Step

Action

Yes

No

1

Did you perform the Diagnostic System Check - Engine Controls?

Go to Step 2

Go to Diagnostic System Check - Engine Controls in Engine Controls - 3.5L (L66)

2

  1. Install a scan tool.
  2. Turn ON the ignition, with the engine OFF.
  3. Important: Before clearing the DTCs, use the scan tool in order to record the Freeze Frame and Failure Records for reference. The Clear Info function will erase the data.

  4. Record the DTC Freeze Frame and Failure Records.
  5. Clear the DTCs.
  6. With a scan tool observe the Shift Sol. 2 CKT Status parameter.

Does the Shift Sol. 2 CKT Status parameter display OK?

Go to Diagnostic Aids

Go to Step 3

3

  1. Turn OFF the ignition.
  2. Disconnect the transmission inline 5-way connector.
  3. With a test lamp connected to a good ground, probe the shift solenoid valve 2 control circuit on the engine side of the inline 5-way connector.
  4. Turn ON the ignition, with the engine OFF.

Does the test lamp illuminate for 1 second?

Go to Step 4

Go to Step 5

4

Test the shift solenoid valve 2 high control circuit internal transmission harness for a short to ground. Refer to Testing for Short to Ground in Wiring Systems.

Did you find a condition?

Go to Step 8

Go to Step 6

5

Test the shift solenoid valve 2 high control circuit for a short to ground. Refer to Testing for Short to Ground and Wiring Repairs in Wiring Systems.

Did you find and correct the condition?

Go to Step 11

Go to Step 7

6

Inspect for poor connections at the transmission inline 5-way connector. Refer to Testing for Intermittent Conditions and Poor Connections and Connector Repairs in Wiring Systems.

Did you find and correct the condition?

Go to Step 11

Go to Step 9

7

Inspect for poor connections at the PCM harness connector. Refer to Testing for Intermittent Conditions and Poor Connections and Connector Repairs in Wiring Systems.

Did you find and correct the condition?

Go to Step 11

Go to Step 10

8

Replace the transmission internal solenoid harness. Refer to Transmission Wiring Extension Harness Replacement .

Did you complete the repair?

Go to Step 11

--

9

Replace the shift solenoid valve 2. Refer to Accumulator Valve Body Assembly Overhaul .

Did you complete the replacement?

Go to Step 11

--

10

Important: Always perform the PCM set up procedure.

  1. Replace the PCM. Refer to Powertrain Control Module Replacement in Engine Controls - 3.5L (L66).
  2. Perform the PCM set up procedure.

Did you complete the replacement?

Go to Step 11

--

11

Perform the following procedure in order to verify the repair:

  1. Select DTC.
  2. Select Clear Info.
  3. Idle the engine in PARK for 10 seconds.
  4. Select Specific DTC.
  5. Enter DTC P0976.

Has the test run and passed?

Go to Step 12

Go to Step 2

12

With the scan tool, observe the stored information, capture info. and DTC info.

Does the scan tool display any DTCs that you have not diagnosed?

Go to Diagnostic Trouble Code (DTC) Types in Engine Controls - 3.5L (L66)

System OK