GM Service Manual Online
For 1990-2009 cars only

Object Number: 1246951  Size: MF
Master Electrical Component List
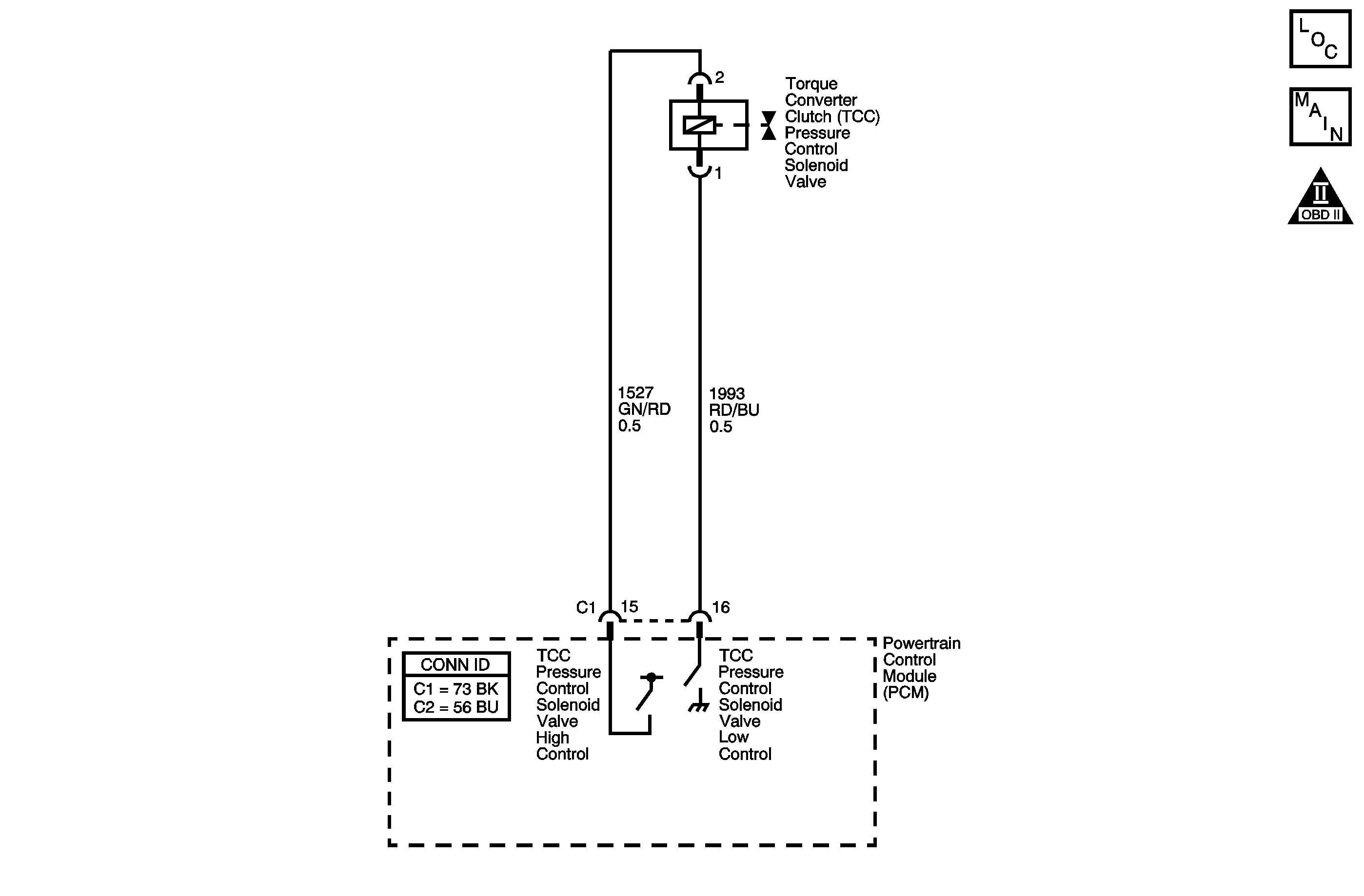
Automatic Transmission Controls Schematics
OBD II Symbol Description Notice

Circuit Description

The torque converter clutch (TCC) pressure control (PC) solenoid valve regulates modulator pressure, based on the current flow from the powertrain control module (PCM). The PCM outputs a varying amount of amperage, as necessary for TCC application, and the TCC PC solenoid valve supplies oil pressure proportional to the current to the TCC PC solenoid valve and the lock-up timing valve. The PCM monitors the current flowing through the solenoid valve and performs feedback control. If the current is not within the specified range for a given duty output, DTC P2763 sets. DTC P2763 is a type A DTC.

Conditions for Running the DTC

    • No Clutch PC Solenoid Valve  1 DTCs P0746 or P0747.
    • No SS Valve Performance DTC P0751.
    • No Clutch PC Solenoid Valve  2 DTC P0777.
    • No Clutch PC Solenoid Valve  1 DTCs P0962 or P0963.
    • No Clutch PC Solenoid Valve  2 DTCs P0966 or P0967.
    • No SS 1 DTCs P0973 or P0974.
    • No SS 2 DTCs P0976 or P0977.
    • No SS 3 DTCs P0979 or P0980.
    • No TCC PC Solenoid DTC P2764.
    • No TCC Enable Solenoid Valve DTCs P2769 or P2770.
    • System voltage is greater than 11 volts

Conditions for Setting the DTC

    • TCC PC solenoid current flow is 0.6 amp or greater at 12% or less TCC duty cycle.
    • TCC PC solenoid current flow is 0.9 amp or greater at 13-27% TCC duty cycle.

Action Taken When the DTC Sets

    • The PCM illuminates the malfunction indicator lamp (MIL).
    • The PCM limits the transmission shift to 4th gear.
    • The PCM records the operating conditions when the Conditions for Setting the DTC are met. The PCM stores this information as Freeze Frame and Failure Records.
    • The PCM stores DTC P2763 in PCM history.

Conditions for Clearing the MIL/DTC

    • The PCM turns OFF the MIL during the third consecutive trip in which the diagnostic test runs and passes.
    • A scan tool can clear the MIL/DTC.
    • The PCM clears the DTC from PCM history if the vehicle completes 40 warm-up cycles without an emission related diagnostic fault occurring.

Diagnostic Aids

    • Inspect the connectors at the PCM, the TCC PC solenoid valve , and all other circuit connecting points for an intermittent condition. Refer to Testing for Intermittent Conditions and Poor Connections in Wiring Systems.
    • Inspect the circuit wiring for an intermittent condition. Refer to Testing for Electrical Intermittents in Wiring Systems.
    • Inspect for a disconnected TCC PC solenoid valve connector.
    • Inspect for an open or shorted TCC PC solenoid valve wires.
    • Inspect for a faulty TCC PC solenoid valve.
    • Inspect for a PCM internal fault.

Test Description

The numbers below refer to the step numbers on the diagnostic table.

  1. This step tests for voltage at the coil side of the TCC PC solenoid valve.

  2. This step tests for a short to voltage on the low control circuit of the TCC PC solenoid valve.

Step

Action

Yes

No

1

Did you perform the Diagnostic System Check - Engine Control?

Go to Step 2

Go to Diagnostic System Check - Engine Controls in Engine Controls - 3.5L (L66)

2

  1. Install a scan tool.
  2. Turn ON the ignition with the engine OFF.
  3. Important: Before clearing the DTCs, use the scan tool in order to record the Freeze Frame and Failure Records for reference. The Clear Info function will erase the data.

  4. Record the DTC Freeze Frame and Failure Records.
  5. Clear the DTCs.
  6. Start the engine and idle for 1 minute.
  7. Select Specific DTC.
  8. Enter DTC P2763.

Has the test run and passed?

Go to Diagnostic Aids

Go to Step 3

3

  1. Turn OFF the ignition.
  2. Disconnect the TCC PC solenoid valve.
  3. Connect a test lamp between the TCC PC solenoid valve low control circuit and the TCC PC solenoid valve high control circuit .
  4. Turn ON the ignition, with the engine OFF.

Does the test lamp illuminate for 1 second?

Go to Step 9

Go to Step 4

4

Test the TCC PC solenoid valve low control circuit for an open. Refer to Testing for Continuity and Wiring Repairs in Wiring Systems.

Did you find and correct the condition?

Go to Step 12

Go to Step 5

5

Test the TCC PC solenoid valve low control circuit for a short to voltage. Refer to Testing for a Short to Voltage and Wiring Repairs in Wiring Systems.

Did you find and correct the condition?

Go to Step 12

Go to Step 6

6

Test the TCC PC solenoid valve high control circuit for an open. Refer to Testing for Continuity and Wiring Repairs in Wiring Systems.

Did you find and correct the condition?

Go to Step 12

Go to Step 7

7

Test the TCC PC solenoid valve high control circuit for a short to voltage or any other circuit. Refer to Testing for Continuity and Wiring Repairs in Wiring Systems.

Did you find and correct the condition?

Go to Step 12

Go to Step 8

8

Inspect for poor connections at the PCM harness connector. Refer to Testing for Intermittent Conditions and Poor Connections and Connector Repairs in Wiring Systems.

Did you find and correct the condition?

Go to Step 12

Go to Step 11

9

Inspect for poor connections at the TCC PC solenoid valve. Refer to Testing for Intermittent Conditions and Poor Connections and Connector Repairs in Wiring Systems.

Did you find and correct the condition?

Go to Step 12

Go to Step 10

10

Replace the TCC PC solenoid valve. Refer to A/B Clutch Pressure Control Solenoid Assembly Replacement .

Did you complete the replacement?

Go to Step 12

--

11

Important: Always perform the PCM set up procedure.

  1. Replace the PCM. Refer to Powertrain Control Module Replacement in Engine Controls - 3.5L (L66).
  2. Perform the PCM set up procedure.

Did you complete the replacement?

Go to Step 12

--

12

Perform the following procedure in order to verify the repair:

  1. Select DTC.
  2. Select Clear Info.
  3. Start the engine and idle for 10 seconds.
  4. Select Specific DTC.
  5. Enter DTC P2763.

Has the test run and passed?

Go to Step 13

Go to Step 2

13

With the scan tool, observe the stored information, capture info. and DTC info.

Does the scan tool display any DTCs that you have not diagnosed?

Go to Diagnostic Trouble Code (DTC) Types in Engine Controls - 3.5L (L66)

System OK