GM Service Manual Online
For 1990-2009 cars only

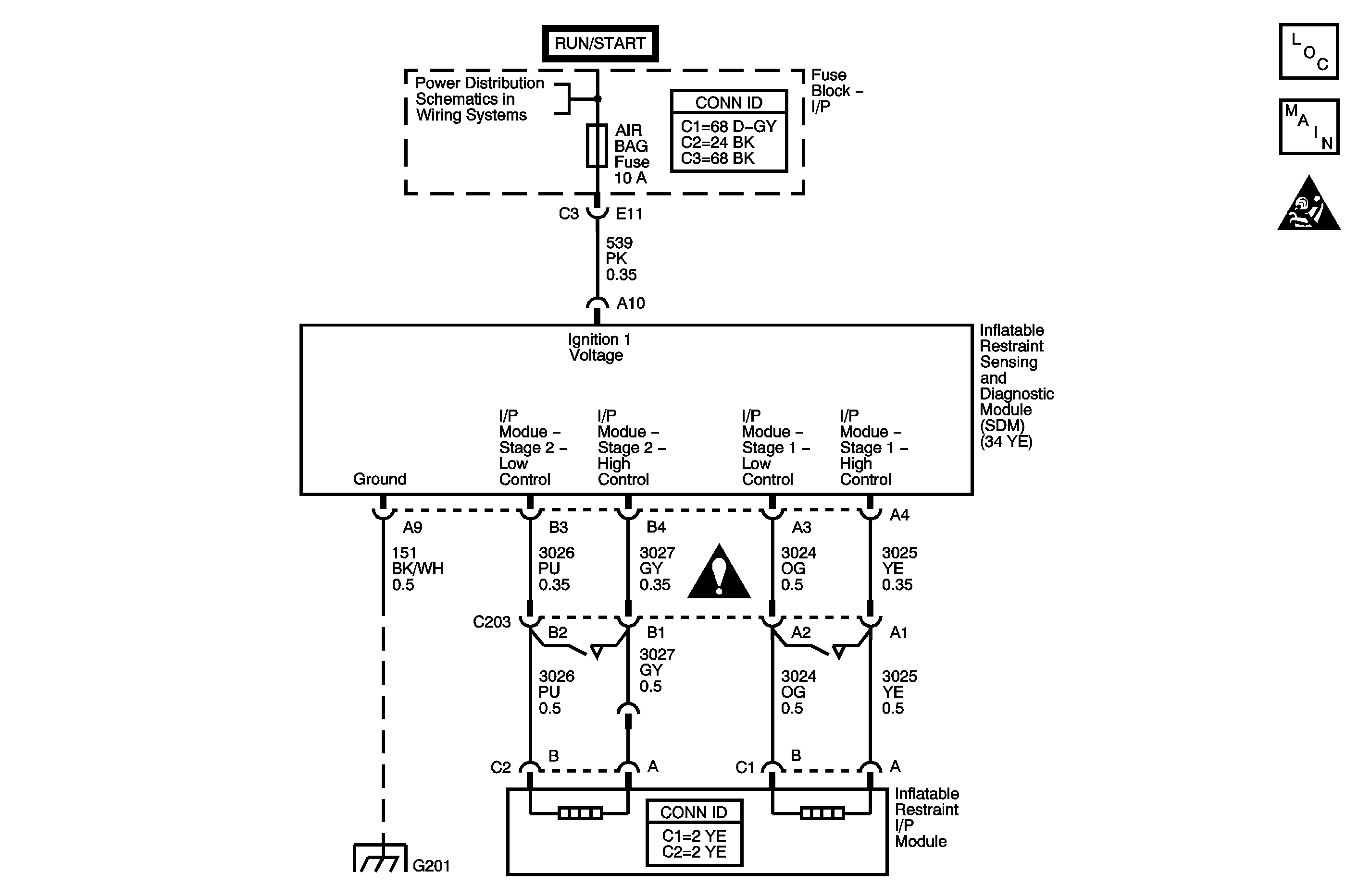
Object Number: 1335182  Size: MF
SIR Component Views
Modules and Sensors
SIR Schematic Icons

Circuit Description

The dual stage inflatable restraint I/P module deployment loop consists of the dual stage inflatable restraint I/P module, and the I/P module high and low circuits for both stages 1 and 2. Two shorting bars used within the I/P module connector short together both the I/P module stage 1 high and low circuits, and the I/P module stage 2 high and low circuits when the connector is disconnected. This helps to prevent unwanted deployment of the inflator module during servicing. During a frontal crash of sufficient force the inflatable restraint sensing and diagnostic module (SDM) allows current to flow through the deployment loop in order to deploy the I/P module. When the ignition is turned ON, the SDM performs continuous diagnostic tests on the deployment loops to check for proper circuit continuity and for shorts to ground or voltage. If a malfunction is detected, a diagnostic trouble code (DTC) will be stored in memory.

Conditions for Running the DTC

Ignition 1 voltage is within the normal operating voltage range.

Conditions for Setting the DTC

    • DTC B0012 in stage 2 or B0016 in stage 1 will set when the I/P module deployment loop resistance is less than 1.3 ohms for 500 milliseconds.
    • DTC B0013 stage 2 or B0017 in stage 1 will set when one of the following conditions occurs:
       - I/P module high circuit is less than 2.4 volts and the I/P module deployment loop is more than 6 ohms for 500 milliseconds.
       - I/P module deployment loop resistance is more than 4.8 ohms for 500 milliseconds.
    • DTC B0014 in stage 2 or B0018 in stage 1 will set when one of the following conditions occur:
       - I/P module high and/or low circuits is short to ground or short to voltage for 500 milliseconds.
       - I/P module high circuit is less than 2.4 volts and I/P module deployment loop resistance is less than 6 ohms for 500 milliseconds.

Action Taken When the DTC Sets

The SDM commands the AIR BAG indicator ON via class 2 serial data.

Conditions for Clearing the DTC

    • The condition responsible for setting the DTC no longer exists and the scan tool Clear DTCs function is used.
    • A history DTC will clear once 255 malfunction free ignition cycles have occurred.

Diagnostic Aids

The following are possible causes of the malfunction:

    • A short between the I/P module stage 1 or stage 2, high and low circuits
    • An open or a high resistance in the I/P module stage 1 or stage 2, high or low circuits
    • A short to ground or a short to voltage in the I/P module stage 1 or stage 2, high or low circuits
    • The I/P module connector
    • The SDM connector
    • A malfunctioning I/P module
    • A malfunctioning SDM

Thoroughly inspect the wiring and the connectors. An incomplete inspection of the wiring and the connectors may result in a misdiagnosis, causing a part replacement with the reappearance of the malfunction. If an intermittent malfunction exists, refer to Testing for Intermittent Conditions and Poor Connections in Wiring Systems.

Test Description

The numbers below refer to the step numbers on the diagnostic table.

  1. Tests to see if the malfunction is caused by the I/P module.

  2. Tests to see what DTCs are present. If DTC B0012 or B0016 is present, test for a short between the I/P module high and low circuits in stage 1 or stage 2. If DTC B0013 or B0017 is present, test the I/P module high and low circuits for an open and for high resistance in stage 1 or stage 2. If DTC B0014 or B0018 is present, test the I/P module high and low circuits for a short to ground and for a short to voltage in stage 1 or stage 2.

Step

Action

Yes

No

Connector End View Reference: SIR Connector End Views

1

Did you perform the Diagnostic System Check - SIR?

Go to Step 2

Go to Diagnostic System Check - SIR

2

  1. Turn OFF the ignition.
  2. Disconnect the I/P module connector. Refer to Inflatable Restraint Instrument Panel Module Replacement .
  3. Inspect the component and harness sides of the connector for the I/P module for damage or corrosion that may cause the malfunction. Refer to Testing for Intermittent Conditions and Poor Connections and Connector Repairs in Wiring Systems.

Does the connector exhibit any signs of damage or corrosion?

Go to Step 3

Go to Step 4

3

  1. If the component side of the I/P module connector is damaged, the I/P module must be replaced. Refer to Inflatable Restraint Instrument Panel Module Replacement .
  2. If the wiring harness side of the I/P module connector is damaged, replace the harness side of the connector. Refer to Connector Repairs in Wiring Systems.

Did you complete the repair?

Go to Step 9

--

4

    Important: When installing SA9409Z-A SIR Driver/Passenger Load Tool for testing the dual stage I/P module, the correct 4-way load tool adapter connector must be used. Failure to use the correct 4-way load tool connector will set additional codes when testing.

  1. Use J 38715-80 adapter to connect the SA9409Z-A to the harness side of the I/P module connector. Use BASE OF COLUMN and PASSENGER INFLATOR connectors.
  2. Turn ON the ignition, with the engine OFF.
  3. With the scan tool, request the SIR DTC display.

Does the scan tool indicate that DTC B0012, B0013, B0014, B0016, B0017, or B0018 are current?

Go to Step 5

Go to Step 7

5

  1. Turn OFF the ignition.
  2. Disconnect and remove both the SA9409Z-A and adapter.
  3. Disconnect the inflatable restraint sensing and diagnostic module (SDM) connector. Refer to Inflatable Restraint Sensing and Diagnostic Module Replacement .
  4. Inspect the SDM connector for damage or corrosion that may cause a malfunction in the I/P module stage 1 or stage 2 high and/or low circuits. Refer to Testing for Intermittent Conditions and Poor Connections and Connector Repairs in Wiring Systems.

Did you find and correct the condition?

Go to Step 9

Go to Step 6

6

    Important: If scan tool displays multiple codes diagnose the open code first.

  1. If DTC B0012 or B0016 is present, test for a short between the I/P module high and low circuits in stage 1 or stage 2.
  2. If DTC B0013 or B0017 is present, test the I/P module high and low circuits for an open and for high resistance in stage 1 or stage 2.
  3. If DTC B0014 or B0018 is present, test the I/P module high and low circuits for a short to ground and for a short to voltage in stage 1 or stage 2.
  4. All the above conditions refer to Circuit Testing and Wiring Repairs in Wiring Systems.

Did you find and correct the condition?

Go to Step 9

Go to Step 8

7

  1. Turn OFF the ignition.
  2. Replace the I/P module. Refer to Inflatable Restraint Instrument Panel Module Replacement .

Did you complete the replacement?

Go to Step 9

--

8

  1. Turn OFF the ignition.
  2. Replace the SDM. Refer to Inflatable Restraint Sensing and Diagnostic Module Replacement .

Did you complete the replacement?

Go to Step 9

--

9

  1. Connect all SIR components.
  2. Turn ON the ignition, with the engine OFF.
  3. Use the scan tool in order to clear the DTCs.
  4. Operate the vehicle within the Conditions for Running the DTC as specified in the supporting text.

Does the DTC reset?

Go to Step 2

System OK