GM Service Manual Online
For 1990-2009 cars only

Object Number: 1335208  Size: MF
SIR Component Views
Pretensioners
SIR Schematic Icons

Circuit Description

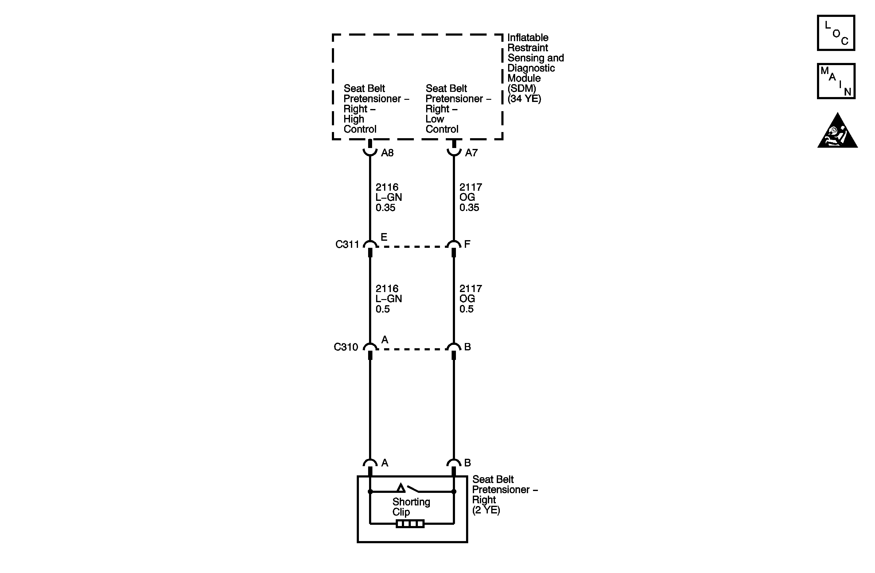
The passenger seat belt pretensioner deployment loop consists of a seat belt pretensioner-RF and the seat belt pretensioner-RF high and low circuits. A shorting bar used within the seat belt pretensioner connector shorts together both the seat belt pretensioner high and low circuits when the connector is disconnected. This will help to prevent unwanted deployment of the pretensioner during servicing. During a frontal crash of sufficient force the inflatable restraint sensing and diagnostic module (SDM) will allow current to flow through the deployment loop in order to deploy the seat belt pretensioner. The SDM performs continuous diagnostic tests on the deployment loops to check for proper circuit continuity and for shorts to ground or voltage. If a malfunction is detected, a diagnostic trouble code (DTC) will be stored in memory.

Conditions for Running the DTC

Ignition 1 voltage is within the normal operating voltage range.

Conditions for Setting the DTC

    • DTC B0057 will set when the seat belt pretensioner-RF deployment loop resistance is less than 1.3 ohms for 500 milliseconds.
    • DTC B0058 will set when one of the following conditions occurs:
       - Seat belt pretensioner-RF high circuit is less than 2.4 volts and the seat belt pretensioner-RF deployment loop is more than 6 ohms for 500 milliseconds.
       - Seat belt pretensioner-RF deployment loop resistance is more than 4.8 ohms for 500 milliseconds.
    • DTC B0059 when one of the following conditions occur:
       - Seat belt pretensioner-RF high or low circuits is short to ground or short to voltage for 500 milliseconds.
       - Seat belt pretensioner-RF high circuit is less than 2.4 volts and seat belt pretensioner-RF deployment loop resistance is less than 6 ohms for 500 milliseconds.

Action Taken When the DTC Sets

The SDM commands the AIR BAG indicator ON via class 2 serial data.

Conditions for Clearing the DTC

    • The condition responsible for setting the DTC no longer exists and the scan tool Clear DTCs function is used.
    • A history DTC will clear once 255 malfunction free ignition cycles have occurred.

Diagnostic Aids

The following are possible causes of the malfunction:

    • A short between the seat belt pretensioner-RF high and low circuits.
    • An open or a high resistance in the seat belt pretensioner-RF high or low circuits.
    • A short to ground or a short to voltage in the seat belt pretensioner-RF high or low circuits.
    • The seat belt pretensioner-RF connector
    • The SDM connector
    • A malfunctioning seat belt pretensioner
    • A malfunctioning SDM

Thoroughly inspect the wiring and the connectors. An incomplete inspection of the wiring and the connectors may result in a misdiagnosis, causing a part replacement with the reappearance of the malfunction. If an intermittent malfunction exists, refer to Testing for Intermittent Conditions and Poor Connections in Wiring Systems.

Test Description

The numbers below refer to the step number on the diagnostic table.

  1. Tests to see if the malfunction is caused by the seat belt pretensioner-RF.

  2. Tests to see what DTCs are present. If DTC B0057 is present, test for a short between the seat belt pretensioner-RF high and low circuits. If DTC B0058 is present, test the seat belt pretensioner-RF high and low circuits for an open and for high resistance. If DTC B0059 is present, test the seat belt pretensioner-RF high and low circuits for a short to ground and for a short to voltage.

Step

Action

Yes

No

Connector End View Reference: SIR Connector End Views

1

Did you perform the Diagnostic System Check - SIR?

Go to Step 2

Go to Diagnostic System Check - SIR

2

  1. Turn OFF the ignition.
  2. Disconnect the seat belt pretensioner-RF wiring harness inline connector. Refer to Seat Belt Retractor Pretensioner Replacement - Front .
  3. Inspect the component and harness sides of the inline connector for the seat belt pretensioner for damage or corrosion that may cause the malfunction. Refer to Testing for Intermittent Conditions and Poor Connections and Connector Repairs in Wiring Systems.

Does the connector exhibit any signs of damage or corrosion?

Go to Step 3

Go to Step 4

3

  1. If the inline connector for the seat belt pretensioner-RF wiring harness connector is damaged, the seat belt pretensioner wiring harness must be replaced.
  2. If the wiring harness side of the seat belt pretensioner connector is damaged, replace the harness side of the connector. Refer to Connector Repairs in Wiring Systems.

Did you complete the repair?

Go to Step 11

--

4

  1. Use SA9409Z-99P adapter to connect the SA9409Z-A SIR Driver/Passenger Load Tool to the harness side of the seat belt pretensioner-RF connector. Use the PASSENGER INFLATOR connector.
  2. Turn ON the ignition, with the engine OFF.
  3. With the scan tool, request the SIR DTC display.

Does the scan tool indicate that DTC B0057, B0058, or B0059 are current?

Go to Step 6

Go to Step 5

5

  1. Turn OFF the ignition.
  2. Disconnect and remove both the SA9409Z-A and adapter.
  3. Connect the seat belt pretensioner - RF wiring harness inline connector.
  4. Remove the seat belt pretensioner-RF connector. Refer to Seat Belt Retractor Pretensioner Replacement - Front .
  5. Use J 38715-30A adapter to connect the SA9409Z-A to the seat belt pretensioner-RF connector. Use the PASSENGER INFLATOR connector.
  6. Turn ON the ignition, with the engine OFF.
  7. With the scan tool, request the SIR DTC display.

Does the scan tool indicate that DTC B0057, B0058, or B0059 are current?

Go to Step 9

Go to Step 8

6

  1. Turn OFF the ignition.
  2. Disconnect and remove both the SA9409Z-A and adapter.
  3. Disconnect the inflatable restraint sensing and diagnostic module (SDM) connector. Refer to Inflatable Restraint Sensing and Diagnostic Module Replacement .
  4. Inspect the SDM connector for damage or corrosion that may cause a malfunction in the seat belt pretensioner-RF high and/or low circuits. Refer to Testing for Intermittent Conditions and Poor Connections and Connector Repairs in Wiring Systems.

Did you find and correct the condition?

Go to Step 11

Go to Step 7

7

    Important: If the scan tool displays multiple codes, diagnose the open code first.

  1. If DTC B0057 is present, test for a short between the seat belt pretensioner-RF high and low circuits.
  2. If DTC B0058 is present, test the seat belt pretensioner-RF high and low circuits for an open and for high resistance.
  3. If DTC B0059 is present, test the seat belt pretensioner-RF high and low circuits for a short to ground and for a short to voltage.
  4. All the above conditions refer to Circuit Testing and Wiring Repairs in Wiring Systems.

Did you find and correct the condition?

Go to Step 11

Go to Step 10

8

  1. Turn OFF the ignition.
  2. Replace the seat belt pretensioner-RF. Refer to Seat Belt Retractor Pretensioner Replacement - Front .

Did you complete the replacement?

Go to Step 11

--

9

  1. Turn OFF the ignition.
  2. Replace the seat belt pretensioner-RF wiring harness.

Did you complete the replacement?

Go to Step 11

--

10

  1. Turn OFF the ignition.
  2. Replace the SDM. Refer to Inflatable Restraint Sensing and Diagnostic Module Replacement .

Did you complete the replacement?

Go to Step 11

--

11

  1. Connect all SIR components.
  2. Turn ON the ignition, with the engine OFF.
  3. Use the scan tool in order to clear the DTCs.
  4. Operate the vehicle within the Conditions for Running the DTC as specified in the supporting text.

Does the DTC reset?

Go to Step 2

System OK