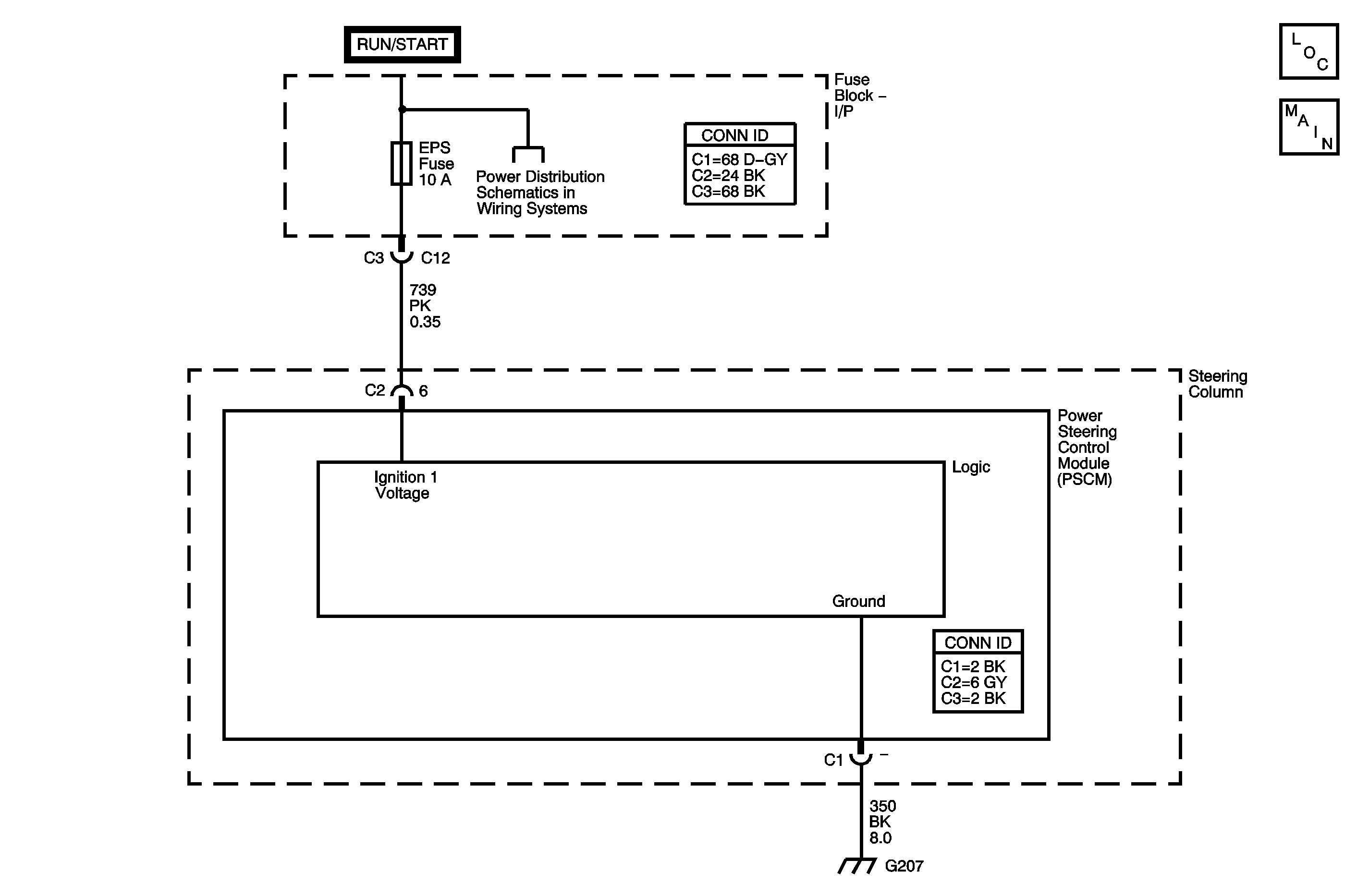
The instrument panel fuse block (IPFB) contains the 10 amp EPS fuse. This fuse and the ignition 1 voltage circuit supply ignition voltage to the power steering control module (PSCM). This ignition voltage is used to wake up the PSCM.
The ignition is ON.
| • | The ignition 1 voltage circuit is shorted to ground or open. |
| • | DTCs U1300 and U1301 are not set. |
| • | DTC C0847 is stored in memory. |
| • | The instrument panel cluster (IPC) displays the SERVICE VEHICLE SOON warning indicator. |
| • | The electric power steering (EPS) system is disabled. |
| • | A current DTC will clear when the malfunction is no longer present. |
| • | A history DTC will clear after 100 consecutive malfunction free ignition cycles. |
| • | Using a scan tool |
The Ignition 1 voltage circuit supplies several other control modules with ignition voltage. Before preceding with the diagnostic table below, ensure no other control modules that use the ignition 1 circuit for their ignition voltage supply have any ignition voltage malfunctions present, such as the sensing and diagnostic module (SDM), or the cruise control module (CCM). Refer to Power Distribution Schematics in Wiring Systems. If an intermittent malfunction exists, refer to Testing for Intermittent Conditions and Poor Connections in Wiring Systems for further diagnosis.
The numbers below refer to the step numbers on the diagnostic table.
Tests if the malfunction is intermittent.
Tests if a short to ground exists in the ignition 1 voltage circuit, or in the PSCM.
Step | Action | Yes | No |
|---|---|---|---|
Connector End Views Reference: Power Steering Connector End Views | |||
1 | Did you perform the Power Steering Diagnostic System Check? | Go to Step 2 | |
Does the scan tool communicate with the PSCM? | Go to Diagnostic Aids | Go to Step 3 | |
3 |
Is the fuse open? | Go to Step 4 | Go to Step 6 |
4 |
Does the fuse open? | Go to Step 5 | Go to Diagnostic Aids |
Test the ignition 1 voltage circuit of the PSCM for a short to ground. Refer to Testing for Short to Ground and Wiring Repairs in Wiring Systems. Did you find and correct the condition? | Go to Step 10 | Go to Step 9 | |
6 | Test the ignition 1 voltage circuit of the PSCM for an open. Refer to Circuit Testing and to Wiring Repairs in Wiring Systems. Did you find and correct the condition? | Go to Step 10 | Go to Step 7 |
7 | Inspect for poor connections at the harness connector of the IPFB. Refer to Testing for Intermittent Conditions and Poor Connections and to Connector Repairs in Wiring Systems. Did you find and correct the condition? | Go to Step 10 | Go to Step 8 |
8 | Inspect for poor connections at the harness connector of the PSCM. Refer to Testing for Intermittent Conditions and Poor Connections and to Connector Repairs in Wiring Systems. Did you find and correct the condition? | Go to Step 10 | Go to Step 9 |
9 | Replace the EPS assembly. Refer to Steering Column Replacement in Steering Wheel and Column. Did you complete the replacement? | Go to Step 10 | -- |
10 |
Does the DTC reset? | Go to Step 2 | System OK |