GM Service Manual Online
For 1990-2009 cars only
Connector 1: Accelerator Pedal Position (APP) Sensor
Connector 2: Camshaft Position (CMP) Sensor
Connector 3: Crankshaft Position (CKP) Sensor
Connector 4: Engine Coolant Temperature (ECT) Sensor 1
Connector 5: Engine Coolant Temperature (ECT) Sensor 2
Connector 6: Evaporative Emissions (EVAP) Canister Purge Solenoid Valve
Connector 7: Evaporative Emissions (EVAP) Canister Vent Solenoid
Connector 8: Exhaust Gas Recirculation (EGR) Valve
Connector 9: Fuel Injector 1
Connector 10: Fuel Injector 2
Connector 11: Fuel Injector 3
Connector 12: Fuel Injector 4
Connector 13: Fuel Injector 5
Connector 14: Fuel Injector 6
Connector 15: Fuel Pump and Sender Assembly - Primary
Connector 16: Fuel Pump and Sender Assembly - Secondary
Connector 17: Fuel Tank Pressure (FTP) Sensor
Connector 18: Heated Oxygen Sensor (HO2S) Bank 1 Sensor 1
Connector 19: Heated Oxygen Sensor (HO2S) Bank 1 Sensor 2
Connector 20: Heated Oxygen Sensor (HO2S) Bank 2 Sensor 1
Connector 21: Heated Oxygen Sensor (HO2S) Bank 2 Sensor 2
Connector 22: Ignition Control Module (ICM) 1
Connector 23: Ignition Control Module (ICM) 2
Connector 24: Ignition Control Module (ICM) 3
Connector 25: Ignition Control Module (ICM) 4
Connector 26: Ignition Control Module (ICM) 5
Connector 27: Ignition Control Module (ICM) 6
Connector 28: Intake Air Temperature (IAT) Sensor 1
Connector 29: Intake Air Temperature (IAT) Sensor 2
Connector 30: Knock Sensor (KS)
Connector 31: Manifold Absolute Pressure (MAP) Sensor
Connector 32: Rocker Arm Oil Control Solenoid
Connector 33: Rocker Arm Oil Pressure Switch
Connector 34: Throttle Actuator Control (TAC) Module

Accelerator Pedal Position (APP) Sensor


Object Number: 632357  Size: CH

Connector Part Information

  • OEM CPA Assembly: 15317832
  • OEM Connector: 15326829
  • Service: See Catalog
  • Description: 6-Way F 150 Series Sealed (BK)

Accelerator Pedal Position (APP) Sensor

Pin

Wire Color

Circuit No.

Function

A

PU

1272

Low Reference

B

L-BU

1162

APP Sensor 2 Signal

C

TN

1274

5-Volt Reference - B

D

BN

1271

Low Reference

E

D-BU

1161

APP Sensor 1 Signal

F

WH/BK

1164

5-Volt Reference - A

Camshaft Position (CMP) Sensor


Object Number: 1290302  Size: CH

Connector Part Information

  • OEM: 6189-0887
  • Service: See Catalog
  • Description: 3-Way F HX Series (BU)

Camshaft Position (CMP) Sensor

Pin

Wire Color

Circuit No.

Function

1

WH

5290

Ignition 1 Voltage

2

BN/YE

451

Ground

3

YE

633

CMP Sensor Signal

Crankshaft Position (CKP) Sensor


Object Number: 1290305  Size: CH

Connector Part Information

  • OEM: 91703-RCA-A010-Y1
  • Service: See Catalog
  • Description: 6-Way M (BK)

Crankshaft Position (CKP) Sensor

Pin

Wire Color

Circuit No.

Function

1

YE/BK

5290

Ignition 1 Voltage

2

BU

573

CKP Sensor A Signal

3

BN/YE

451

Ground

4

YE/BK

5290

Ignition 1 Voltage

5

BU/RD

1800

CKP Sensor B Signal

6

BN/YE

451

Ground

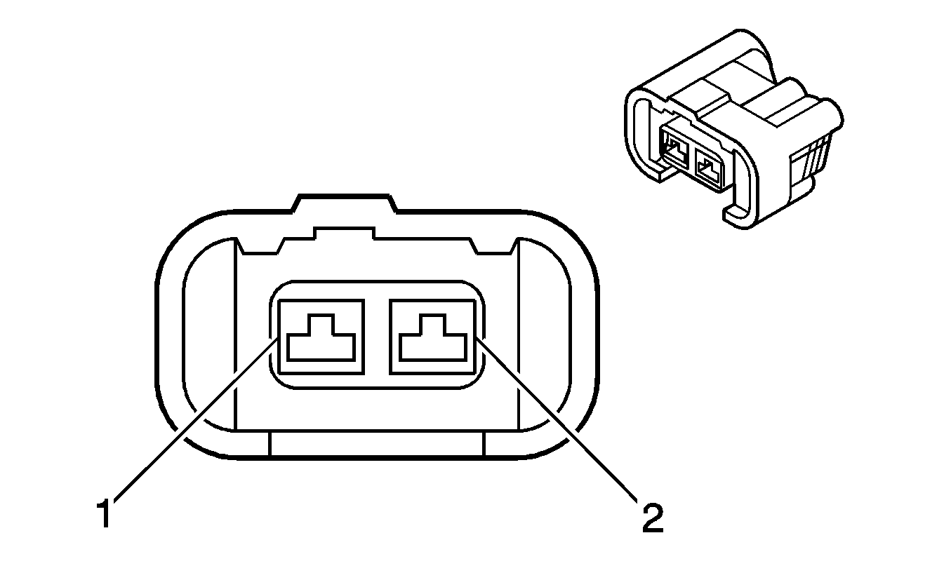
Engine Coolant Temperature (ECT) Sensor 1


Object Number: 1290303  Size: CH

Connector Part Information

  • OEM: 6189-0890
  • Service: See Catalog
  • Description: 2-Way F HX Series (BK)

Engine Coolant Temperature (ECT) Sensor 1

Pin

Wire Color

Circuit No.

Function

1

GN/YE

2751

Low Reference

2

RD/WH

410

ECT Sensor 1 Signal

Engine Coolant Temperature (ECT) Sensor 2


Object Number: 1290303  Size: CH

Connector Part Information

  • OEM: 6189-0890
  • Service: See Catalog
  • Description: 2-Way F HX Series (BK)

Engine Coolant Temperature (ECT) Sensor 2

Pin

Wire Color

Circuit No.

Function

1

GN/YE

2751

Low Reference

2

GN/RD

2032

ECT Sensor 2 Signal

Evaporative Emissions (EVAP) Canister Purge Solenoid Valve


Object Number: 1290300  Size: CH

Connector Part Information

  • OEM: 6189-0593
  • Service: See Catalog
  • Description: 2-Way F HX Series (BN)

Evaporative Emissions (EVAP) Canister Purge Solenoid Valve

Pin

Wire Color

Circuit No.

Function

1

WH

5291

Ignition 1 Voltage

2

RD/YE

428

EVAP Canister Purge Solenoid Control

Evaporative Emissions (EVAP) Canister Vent Solenoid


Object Number: 684795  Size: CH

Connector Part Information

  • OEM: 12052643
  • Service: See Catalog
  • Description: 2-Way F Metri-Pack 150 Series Sealed (RD)

Evaporative Emissions (EVAP) Canister Vent Solenoid

Pin

Wire Color

Circuit No.

Function

A

PK

5291

Ignition 1 Voltage

B

WH

1310

EVAP Canister Vent Solenoid Control

Exhaust Gas Recirculation (EGR) Valve


Object Number: 1290157  Size: CH

Connector Part Information

  • OEM: 6189-0133
  • Service: See Catalog
  • Description: 6-Way F HX Series (GY)

Exhaust Gas Recirculation (EGR) Valve

Pin

Wire Color

Circuit No.

Function

1

YE/BU

605

5-Volt Reference - B

2

GN/YE

2751

Low Reference

3

WH/BK

5763

EGR Valve Position Signal

4

BK

450

Ground

5

--

--

Not Used

6

BU/RD

435

EGR Solenoid Control

Fuel Injector 1


Object Number: 1332465  Size: CH

Connector Part Information

  • OEM: 6189-0553
  • Service: See Catalog
  • Description: 2-Way F HX Series (BK)

Fuel Injector 1

Pin

Wire Color

Circuit No.

Function

1

BN

1744

Fuel Injector 1 Control

2

RD

39

Ignition 1 Voltage

Fuel Injector 2


Object Number: 1332465  Size: CH

Connector Part Information

  • OEM: 6189-0553
  • Service: See Catalog
  • Description: 2-Way F HX Series (BK)

Fuel Injector 2

Pin

Wire Color

Circuit No.

Function

1

RD

1745

Fuel Injector 2 Control

2

RD

39

Ignition 1 Voltage

Fuel Injector 3


Object Number: 1332465  Size: CH

Connector Part Information

  • OEM: 6189-0553
  • Service: See Catalog
  • Description: 2-Way F HX Series (BK)

Fuel Injector 3

Pin

Wire Color

Circuit No.

Function

1

BU

1746

Fuel Injector 3 Control

2

RD

39

Ignition 1 Voltage

Fuel Injector 4


Object Number: 1332465  Size: CH

Connector Part Information

  • OEM: 6189-0553
  • Service: See Catalog
  • Description: 2-Way F HX Series (BK)

Fuel Injector 4

Pin

Wire Color

Circuit No.

Function

1

YE

844

Fuel Injector 4 Control

2

RD

39

Ignition 1 Voltage

Fuel Injector 5


Object Number: 1332465  Size: CH

Connector Part Information

  • OEM: 6189-0553
  • Service: See Catalog
  • Description: 2-Way F HX Series (BK)

Fuel Injector 5

Pin

Wire Color

Circuit No.

Function

1

BK/RD

845

Fuel Injector 5 Control

2

RD

39

Ignition 1 Voltage

Fuel Injector 6


Object Number: 1332465  Size: CH

Connector Part Information

  • OEM: 6189-0553
  • Service: See Catalog
  • Description: 2-Way F HX Series (BK)

Fuel Injector 6

Pin

Wire Color

Circuit No.

Function

1

WH/BU

846

Fuel Injector 6 Control

2

RD

39

Ignition 1 Voltage

Fuel Pump and Sender Assembly - Primary


Object Number: 684908  Size: CH

Connector Part Information

  • OEM: 15326631
  • Service: See Catalog
  • Description: 4-Way F GT 280 Series Sealed 5.8 (BK)

Fuel Pump and Sender Assembly - Primary

Pin

Wire Color

Circuit No.

Function

A

GY

120

Fuel Pump Supply Voltage

B

PU

1589

Fuel Level Sensor Signal

C

BU

930

Fuel Level Sensor Signal

D

BK

850

Ground

Fuel Pump and Sender Assembly - Secondary


Object Number: 684908  Size: CH

Connector Part Information

  • OEM: 15326631
  • Service: See Catalog
  • Description: 4-Way F GT 280 Series Sealed 5.8 (BK)

Fuel Pump and Sender Assembly - Secondary

Pin

Wire Color

Circuit No.

Function

A

--

--

Not Used

B

BU

930

Fuel Level Sensor Signal

C

BK/WH

2759

Low Reference

D

--

--

Not Used

Fuel Tank Pressure (FTP) Sensor


Object Number: 516611  Size: CH

Connector Part Information

  • OEM: 12059595
  • Service: See Catalog
  • Description: 3-Way F Metri-Pack 150 Series Sealed (BK)

Fuel Tank Pressure (FTP) Sensor

Pin

Wire Color

Circuit No.

Function

A

BK

2759

Low Reference

B

D-GN

890

Fuel Tank Pressure Sensor Signal

C

GY

2709

5-Volt Reference - B

Heated Oxygen Sensor (HO2S) Bank 1 Sensor 1


Object Number: 1290298  Size: CH

Connector Part Information

  • OEM: 6189-0134
  • Service: See Catalog
  • Description: 8-Way F HW Series (GY)

Heated Oxygen Sensor (HO2S) Bank 1 Sensor 1

Pin

Wire Color

Circuit No.

Function

1

WH

6731

HO2S Pump Current - Bank 1 Sensor 1

2

GN/YE

2751

Low Reference

3

BK/WH

3113

HO2S Heater Control - Bank 1 Sensor 1

4

WH

5291

Ignition 1 Voltage

5

RD

6729

HO2S Reference Voltage - Bank 1 Sensor 1

6

D-GN

6730

HO2S Input Pump Current - Bank 1 Sensor 1

7

D-BU

6728

HO2S Low Reference - Bank 1 Sensor 1

8

--

--

Not Used

Heated Oxygen Sensor (HO2S) Bank 1 Sensor 2


Object Number: 1290131  Size: CH

Connector Part Information

  • OEM: 6189-0132
  • Service: See Catalog
  • Description: 4-Way F HW Series (GY)

Heated Oxygen Sensor (HO2S) Bank 1 Sensor 2

Pin

Wire Color

Circuit No.

Function

1

GN/YE

2751

Low Reference

2

D-GN

1688

HO2S Signal - Bank 1 Sensor 2

3

WH

5291

Ignition 1 Voltage

4

BK/WH

3122

HO2S Heater Low Control

Heated Oxygen Sensor (HO2S) Bank 2 Sensor 1


Object Number: 1290298  Size: CH

Connector Part Information

  • OEM: 6189-0134
  • Service: See Catalog
  • Description: 8-Way F HW Series (GY)

Heated Oxygen Sensor (HO2S) Bank 2 Sensor 1

Pin

Wire Color

Circuit No.

Function

1

WH/RD

6735

HO2S Pump Current - Bank 2 Sensor 1

2

GN/YE

2751

Low Reference

3

GN/WH

3212

HO2S Heater Control - Bank 2 Sensor 1

4

WH

5291

Ignition 1 Voltage

5

RD/WH

6733

HO2S Reference Voltage - Bank 2 Sensor 1

6

GN/RD

6734

HO2S Input Pump Current - Bank 2 Sensor 1

7

RD/BU

6732

HO2S Low Reference - Bank 2 Sensor 1

8

--

--

Not Used

Heated Oxygen Sensor (HO2S) Bank 2 Sensor 2


Object Number: 1290131  Size: CH

Connector Part Information

  • OEM: 6189-0132
  • Service: See Catalog
  • Description: 4-Way F HW Series (GY)

Heated Oxygen Sensor (HO2S) Bank 2 Sensor 2

Pin

Wire Color

Circuit No.

Function

1

GN/YE

2751

Low Reference

2

WH

1670

HO2S Signal - Bank 2 Sensor 2

3

WH

5291

Ignition 1 Voltage

4

GN/RD

3223

HO2S Heater Low Control

Ignition Control Module (ICM) 1


Object Number: 1332464  Size: CH

Connector Part Information

  • OEM: 6189-0728
  • Service: See Catalog
  • Description: 3-Way F HX Series (BK)

Ignition Control Module (ICM) 1

Pin

Wire Color

Circuit No.

Function

1

YE/GN

2121

Ignition Coil 1 Control

2

BK

450

Ground

3

WH/GN

5290

Ignition 1 Voltage

Ignition Control Module (ICM) 2


Object Number: 1332464  Size: CH

Connector Part Information

  • OEM: 6189-0728
  • Service: See Catalog
  • Description: 3-Way F HX Series (BK)

Ignition Control Module (ICM) 2

Pin

Wire Color

Circuit No.

Function

1

BU/RD

2122

Ignition Coil 2 Control

2

BK

450

Ground

3

WH/GN

5290

Ignition 1 Voltage

Ignition Control Module (ICM) 3


Object Number: 1332464  Size: CH

Connector Part Information

  • OEM: 6189-0728
  • Service: See Catalog
  • Description: 3-Way F HX Series (BK)

Ignition Control Module (ICM) 3

Pin

Wire Color

Circuit No.

Function

1

WH/BU

2123

Ignition Coil 3 Control

2

BK

450

Ground

3

WH/GN

5290

Ignition 1 Voltage

Ignition Control Module (ICM) 4


Object Number: 1332464  Size: CH

Connector Part Information

  • OEM: 6189-0728
  • Service: See Catalog
  • Description: 3-Way F HX Series (BK)

Ignition Control Module (ICM) 4

Pin

Wire Color

Circuit No.

Function

1

BN

2124

Ignition Coil 4 Control

2

BK

450

Ground

3

WH/GN

5290

Ignition 1 Voltage

Ignition Control Module (ICM) 5


Object Number: 1332464  Size: CH

Connector Part Information

  • OEM: 6189-0728
  • Service: See Catalog
  • Description: 3-Way F HX Series (BK)

Ignition Control Module (ICM) 5

Pin

Wire Color

Circuit No.

Function

1

BK/RD

2125

Ignition Coil 5 Control

2

BK

450

Ground

3

WH/GN

5290

Ignition 1 Voltage

Ignition Control Module (ICM) 6


Object Number: 1332464  Size: CH

Connector Part Information

  • OEM: 6189-0728
  • Service: See Catalog
  • Description: 3-Way F HX Series (BK)

Ignition Control Module (ICM) 6

Pin

Wire Color

Circuit No.

Function

1

BN/WH

2126

Ignition Coil 6 Control

2

BK

450

Ground

3

WH/GN

5290

Ignition 1 Voltage

Intake Air Temperature (IAT) Sensor 1


Object Number: 646403  Size: CH

Connector Part Information

  • OEM: 15335987
  • Service: See Catalog
  • Description: 2-Way F GT 150 Series Sealed (BK)

Intake Air Temperature (IAT) Sensor 1

Pin

Wire Color

Circuit No.

Function

A

TN

472

IAT Sensor 1 Signal

B

BK

2760

Low Reference

Intake Air Temperature (IAT) Sensor 2


Object Number: 1290299  Size: CH

Connector Part Information

  • OEM: 6189-0552
  • Service: See Catalog
  • Description: 2-Way F HX Series (BK)

Intake Air Temperature (IAT) Sensor 2

Pin

Wire Color

Circuit No.

Function

1

GN/YE

2751

Low Reference

2

RD/YE

6118

IAT Sensor 2 Signal

Knock Sensor (KS)


Object Number: 1290304  Size: CH

Connector Part Information

  • OEM: 6189-0940
  • Service: See Catalog
  • Description: 1-Way F HX Series (BK)

Knock Sensor (KS)

Pin

Wire Color

Circuit No.

Function

1

RD/BU

496

KS Signal

Manifold Absolute Pressure (MAP) Sensor


Object Number: 1290302  Size: CH

Connector Part Information

  • OEM: 6189-0887
  • Service: See Catalog
  • Description: 3-Way F HX Series (BK)

Manifold Absolute Pressure (MAP) Sensor

Pin

Wire Color

Circuit No.

Function

1

GN/WH

469

Low Reference

2

GN/RD

432

MAP Sensor Signal

3

YE/RD

474

5-Volt Reference B

Rocker Arm Oil Control Solenoid


Object Number: 1332627  Size: CH

Connector Part Information

  • OEM: 6189-0724
  • Service: See Catalog
  • Description: 1-Way F HW Series (BK)

Rocker Arm Oil Control Solenoid

Pin

Wire Color

Circuit No.

Function

1

GN/YE

6736

Rocker Arm Oil Actuator Control Signal

Rocker Arm Oil Pressure Switch


Object Number: 1332470  Size: CH

Connector Part Information

  • OEM: 6189-0156
  • Service: See Catalog
  • Description: 2-Way F (GY)

Rocker Arm Oil Pressure Switch

Pin

Wire Color

Circuit No.

Function

1

BU/BK

6737

Rocker Arm Oil Pressure Switch Signal

2

BN/YE

451

Ground

Throttle Actuator Control (TAC) Module


Object Number: 1332346  Size: CH

Connector Part Information

  • OEM: 6610-5412
  • Service: See Catalog
  • Description: 16-Way F (GY)

Throttle Actuator Control (TAC) Module

Pin

Wire Color

Circuit No.

Function

1-2

--

--

Not Used

3

GN/WH

6741

Motor Inhibit

4

--

--

Not Used

5

D-BU

6739

ETC Control

6

--

--

Not Used

7

BK

450

Ground

8

WH

5292

Ignition 1 Voltage

9-11

--

--

Not Used

12

D-GN

6738

ETC Signal

13-14

--

--

Not Used

15

BK

450

Ground

16

--

--

Not Used