Tools Required
- Install
DT 46435
(2) through the hole in
DT 46434
(1).
- Install
DT 46434
(1) onto the mainshaft splines and
DT 46435
(2) into the lock hole in
DT 46238
(3).
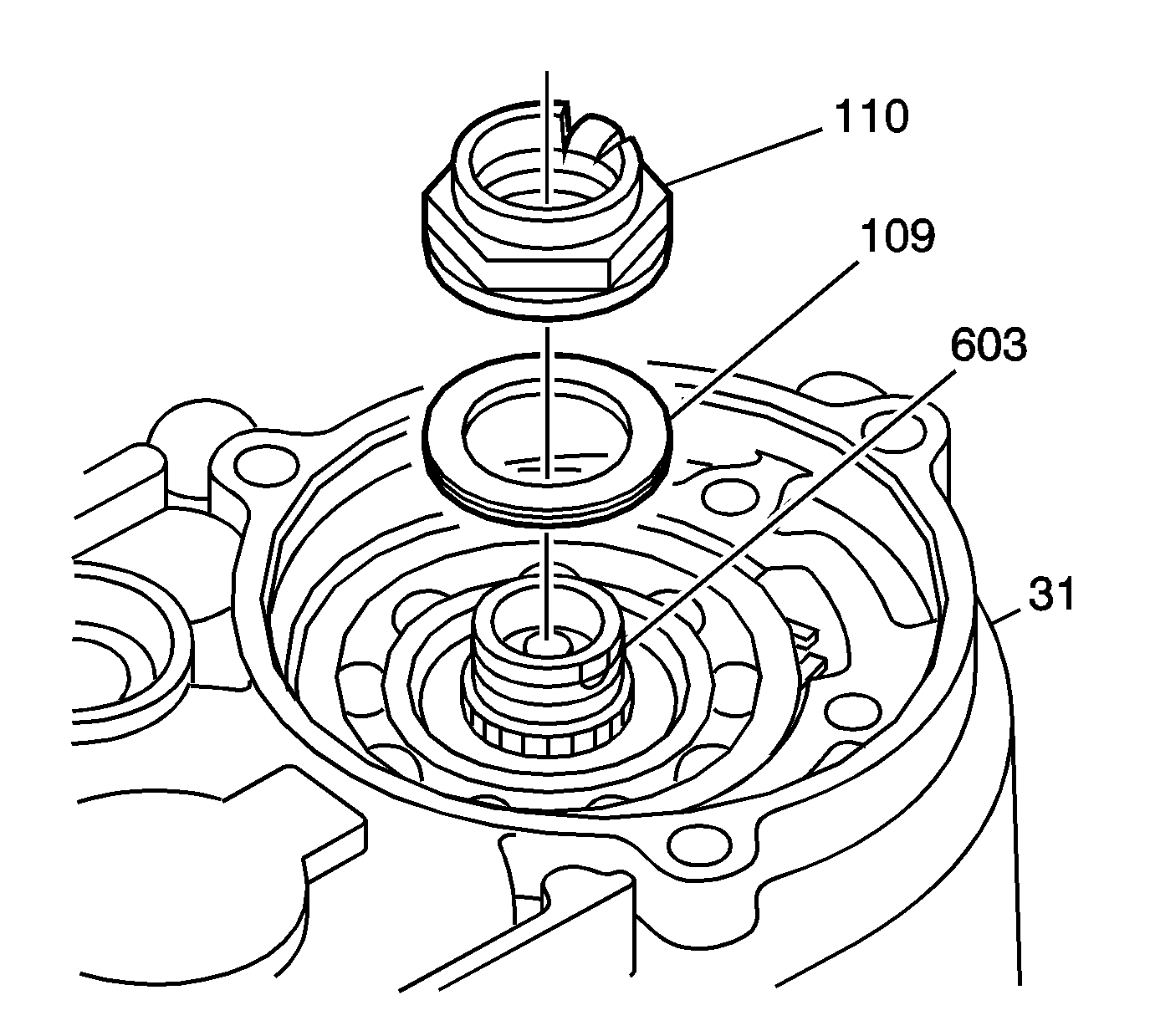
- Apply a slight torque on the mainshaft nut (110) in order to secure the tools in place on the mainshaft (603).
Notice: Ensure that all the metal particles are collected in order to prevent internal damage to the transmission or bearings.
Important: Do not damage the threads or the mainshaft.
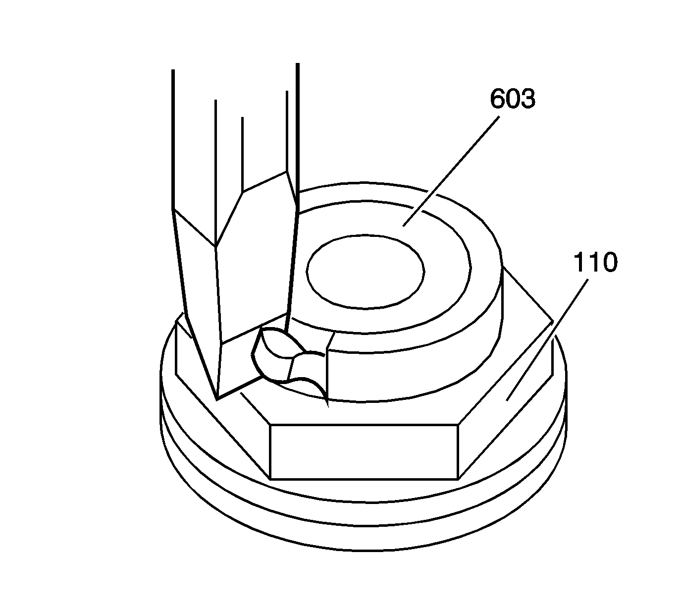
- Using a chisel remove the locktab from the mainshaft retainer nut (110).
- Remove the mainshaft nut (110).
- Remove the mainshaft washer (109). Do not discard the nut or the washer.
- Remove
DT 46434
and
DT 46435
.