GM Service Manual Online
For 1990-2009 cars only

Tools Required

    • J 23327 Spring Compressor
    • J 28585 Snap Ring Remover
    • J 45124 Removable Bridge

Note these items during assembly:

    • Apply automatic transmission fluid to all O-ring seals before assembly.
    • Soak all clutch fiber plates thoroughly in automatic transmission fluid for a minimum of 30 minutes.

    Object Number: 1345403  Size: SH
  1. Install inner O-ring seals in the 1st clutch piston (715) as follows:
  2. • Upper, forward inner groove, O-ring seal (717a)
    • Lower, rear inner groove, O-ring seal (717b)
  3. Install an outer O-ring seal (716) in the outer groove of the 1st clutch piston (715).

  4. Object Number: 1345419  Size: SH
  5. Install the 1st clutch piston (715) into the 1st and coast clutch housing (718) by applying hand pressure and rotating the 1st clutch piston assembly.
  6. • Ensure proper O-ring seating.
    • Do not pinch the O-ring seal by installing the piston with excessive force.

    Object Number: 1345420  Size: SH
  7. Install O-ring seals in the coast clutch piston (712) as follows:
  8. • Inner groove, inner coast clutch O-ring seal (714)
    • Outer groove, outer coast clutch O-ring seal (713)

    Object Number: 1345421  Size: SH
  9. Install the coast clutch piston (712) into the 1st and coast clutch housing (718) by applying hand pressure and rotating the coast clutch piston assembly.
  10. • Ensure proper O-ring seating.
    • Do not pinch the O-ring seal by installing the piston with excessive force.

    Object Number: 1347642  Size: SH
  11. Install the following components into the 1st and coast clutch housing (718):
  12. • 1st and coast clutch piston return spring (710)
    • 1st and coast clutch piston return spring retainer cap (709)
    • 1st and coast clutch piston return spring retainer cap 44 mm retaining ring (708) on the retainer cap

    Object Number: 1345422  Size: SH

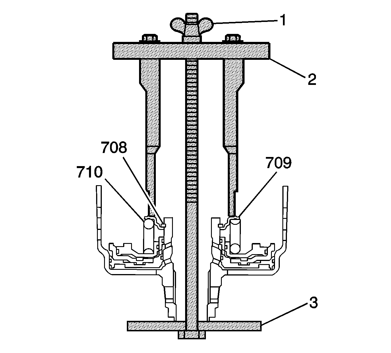
    Important: Position the legs of the J 45124 on the spring retainer cap only where the spring is in contact with the cap.

  13. Using the bridge and legs of the J 45124  (2) with the forcing screw of the J 23327  (1) and J 21420-2 (3) plate of the J 23327 , compress the clutch piston return spring (710) until the groove for the clutch spring retainer cap retaining ring (708) is accessible.
  14. • Adjust the legs of the J 45124 to have full contact with the clutch piston return spring retainer cap (709).
    • Ensure the legs remain in position where the spring retainer cap is in contact with the spring.

    Object Number: 1345425  Size: SH
  15. Install the 44 mm 1st and coast clutch return spring retaining cap retaining ring (708).
  16. Remove the tools.

  17. Object Number: 1345426  Size: SH
  18. Install into the 1st and coast clutch housing (718) the following components:
  19. • Coast clutch steel plate (707)
    • Coast clutch fiber plate (706)
    • Continue to alternately install the above components until a total of 3 each have been installed.
    • Selective coast clutch backing plate (705) in the direction shown

    Object Number: 1345442  Size: SH
  20. By hand, press down on the coast clutch backing plate (705) in order to seat the backing plate to the coast clutch piston (712).
  21. Measure the coast clutch clearance between the coast clutch backing plate (705) and the top coast clutch fiber plate (706) with a feeler gage (1).
  22. •  Measure in at least 3 places.
    • Use the average of the 3 measurements as the actual clearance.

    Specification
    0.6-1.0 mm (0.024-0.039 in)

  23. If the coast clutch backing plate clearance is out of specification, replace the coast clutch steel (707) and fiber plates (706) as a set, and recheck for proper clearance.

  24. Object Number: 1345334  Size: SH
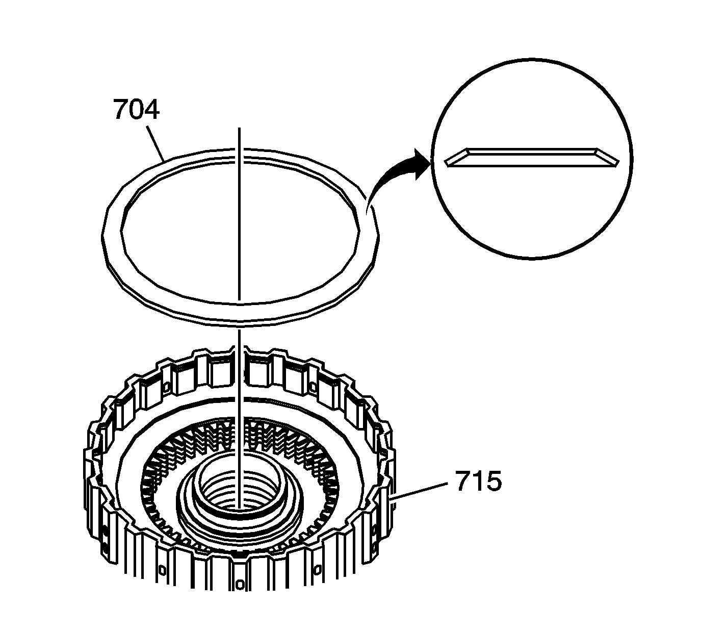
  25. Install the 1st clutch spring plate (704) in the groove located in the 1st clutch piston (715) with the cone side facing up.

  26. Object Number: 1345443  Size: SH
  27. Install a 1st clutch steel plate (703).
  28. Instal a 1st clutch fiber plates (702).
  29. Alternately install the plates until a total of 5 plates each are installed into the 1st clutch housing (718).

  30. Object Number: 1345444  Size: SH
  31. Install the selective 1st clutch backing plate (701) with the flat side facing the last 1st clutch fiber plate as shown in the insert.

  32. Object Number: 1345338  Size: SH
  33. Using J 28585 , install the 141 mm 1st clutch backing plate retaining ring (700).
  34. Ensure that the retaining ring is fully seated in the groove of the 1st and coast clutch housing (718).

  35. Measure the clutch backing plate clearance. Refer to Clutch Backing Plate Clearance Measurement .