GM Service Manual Online
For 1990-2009 cars only

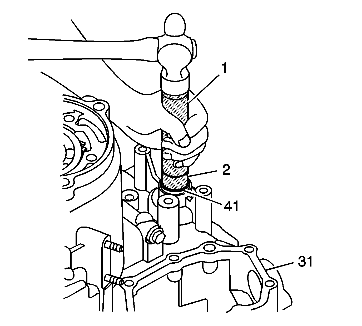
Tools Required

    • DT 46516 Driver
    • EN 46342 Driver Handle

Removal Procedure


Object Number: 1203916  Size: SH

Using a small prybar, remove the manual shift shaft seal (41) from the transmission case (31). Do not scratch the seal bore.

Installation Procedure


Object Number: 1203917  Size: SH

Using the 24 mm side of DT 46516  (2) and EN 46342  (1), install a new manual shift shaft seal (41) until it bottoms out flush in the transmission case (31).