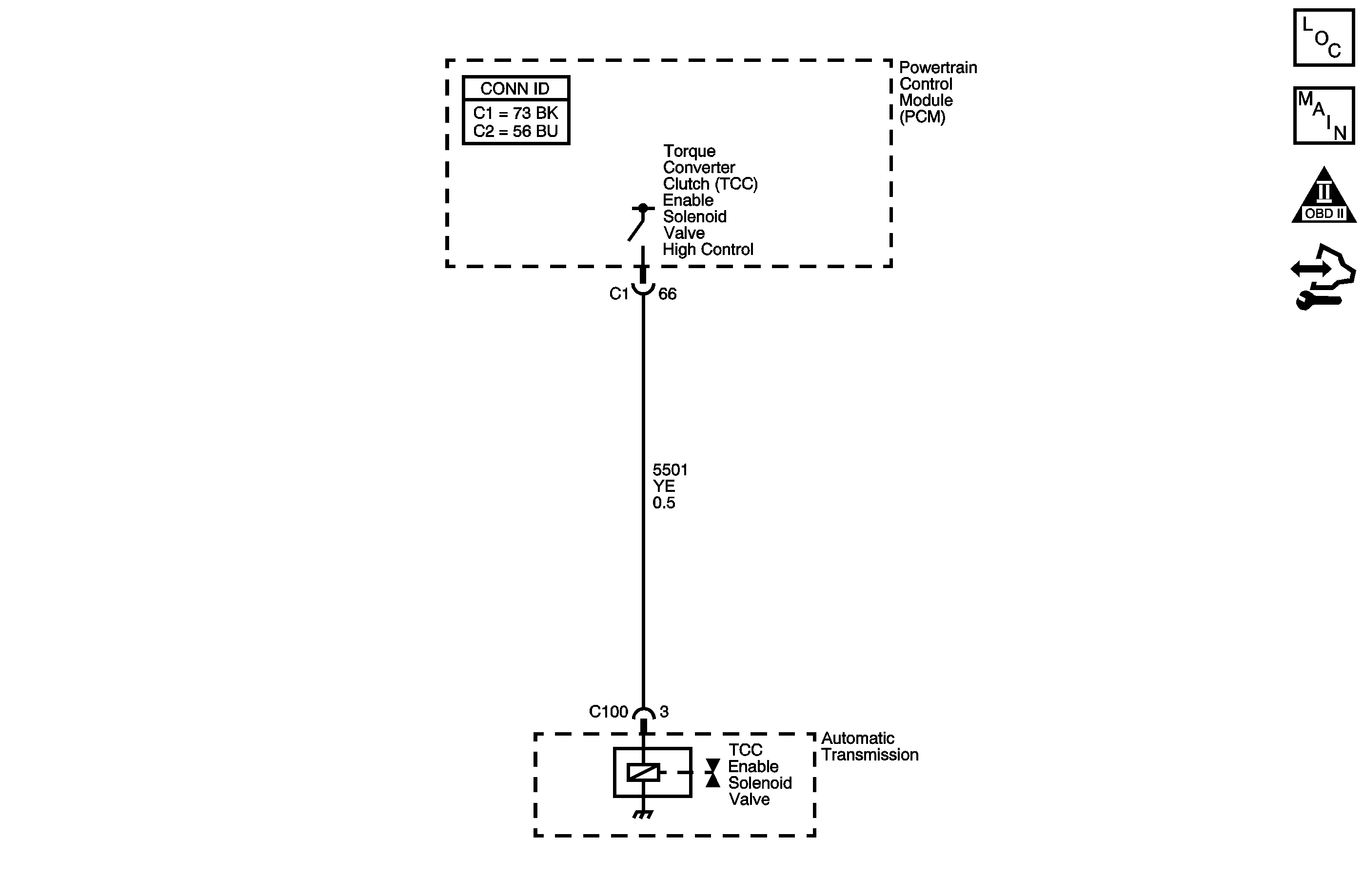
The torque converter clutch (TCC) enable solenoid valve is used with the lock-up shift valve, lock-up control valve and lock-up timing valve in order to control TCC apply and release in response to the powertrain control module (PCM) commands. When it is energized, it allows the fluid pressure from the TCC pressure control (PC) solenoid valve to be exhausted. When it is de-energized, it allows the fluid pressure to apply to the lock-up shift valve. The PCM has an internal diagnostic circuit to monitor the voltage level to the TCC enable solenoid valve, and receives a return signal.
When the PCM detects a short to ground on the TCC enable solenoid valve high control circuit, DTC 2769 sets. DTC P2769 is a type A DTC.
This diagnostic procedure supports the following DTC:
DTC P2769 Torque Converter Clutch (TCC) Enable Solenoid Control Circuit Low Voltage
| • | No Clutch PC Solenoid Valve 1 DTCs P0746 or P0747. |
| • | No SS Valve Performance DTC P0751. |
| • | No Clutch PC Solenoid Valve 2 DTC P0777. |
| • | No Clutch PC Solenoid Valve 1 DTCs P0962 or P0963. |
| • | No Clutch PC Solenoid Valve 2 DTCs P0966 or P0967. |
| • | No SS Valve 1 DTCs P0973 or P0974. |
| • | No SS Valve 2 DTCs P0976 or P0977. |
| • | No SS Valve 3 DTCs P0979 or P0980. |
| • | No TCC PC Solenoid Valve DTCs P2763 or P2764. |
| • | No TCC Enable Solenoid DTC P2770. |
| • | System voltage is greater than 11 volts. |
The PCM detects a short to ground on the TCC enable solenoid valve high control circuit for 1 second or greater.
| • | The PCM illuminates the malfunction indicator lamp (MIL). |
| • | The PCM limits the transmission shift to 4th gear. |
| • | The PCM records the operating conditions when the Conditions for Setting the DTC are met. The PCM stores this information as Freeze Frame and Failure Records. |
| • | The PCM stores DTC P2769 in PCM history. |
| • | The PCM turns OFF the MIL during the third consecutive trip in which the diagnostic test runs and passes. |
| • | A scan tool can clear the MIL/DTC. |
| • | The PCM clears the DTC from PCM history if the vehicle completes 40 warm-up cycles without an emission related diagnostic fault occurring. |
| • | Inspect the connectors at the PCM, the TCC enable solenoid valve, and all other circuit connecting points for an intermittent condition. Refer to Testing for Intermittent Conditions and Poor Connections in Wiring Systems. |
| • | Inspect the circuit wiring for an intermittent condition. Refer to Testing for Electrical Intermittents in Wiring Systems. |
| • | Inspect for a disconnected TCC enable solenoid valve connector. |
| • | Inspect for an open TCC enable solenoid valve wire. |
| • | Inspect for a faulty TCC enable solenoid valve. |
| • | Inspect for a PCM internal fault. |
The numbers below refer to the step numbers on the diagnostic table.
During the TCC enable solenoid valve operation, listen for an audible click. Command the ON and the OFF states. Repeat the commands as necessary.
This step verifies that the PCM is providing voltage to the TCC enable solenoid valve.
This step tests for an open in the ground circuit to the TCC enable solenoid valve.
Step | Action | Yes | No |
|---|---|---|---|
1 | Did you perform the Diagnostic System Check - Vehicle? | Go to Step 2 | Go to Diagnostic System Check - Vehicle in Vehicle DTC Information |
Important: Before clearing the DTCs, use the scan tool in order to record the Freeze Frame and Failure Records for reference. The Clear Info function will erase the data. Does the TCC Enable Sol. CKT Status parameter display OK? | Go to Diagnostic Aids | Go to Step 3 | |
Does the test lamp illuminate for 1 second? | Go to Step 4 | Go to Step 5 | |
Test the TCC enable solenoid valve high control circuit internal transmission harness for a short to ground. Refer to Testing for Short to Ground in Wiring Systems. Did you find a condition? | Go to Step 8 | Go to Step 6 | |
5 | Test the TCC enable solenoid valve high control circuit for a short to ground. Refer to Testing for Short to Ground and Wiring Repairs in Wiring Systems. Did you find and correct the condition? | Go to Step 11 | Go to Step 7 |
6 | Inspect for poor connections at the transmission inline 5-way connector. Refer to Testing for Intermittent Conditions and Poor Connections and Connector Repairs in Wiring Systems. Did you find and correct the condition? | Go to Step 11 | Go to Step 9 |
7 | Inspect for poor connections at the PCM harness connector. Refer to Testing for Intermittent Conditions and Poor Connections and Connector Repairs in Wiring Systems. Did you find and correct the condition? | Go to Step 11 | Go to Step 10 |
8 | Replace the transmission internal solenoid harness. Refer to Transmission Wiring Extension Harness Replacement . Did you complete the repair? | Go to Step 11 | -- |
9 | Replace the TCC enable solenoid valve. Refer to Accumulator Valve Body Assembly Overhaul . Did you complete the replacement? | Go to Step 11 | -- |
10 |
Important: Always perform the PCM set up procedure.
Did you complete the replacement? | Go to Step 11 | -- |
11 | Perform the following procedure in order to verify the repair:
Has the test run and passed? | Go to Step 12 | Go to Step 2 |
12 | With the scan tool, observe the stored information, capture info. and DTC info. Does the scan tool display any DTCs that you have not diagnosed? | Go to Diagnostic Trouble Code (DTC) List - Vehicle in Vehicle DTC Information | System OK |