GM Service Manual Online
For 1990-2009 cars only

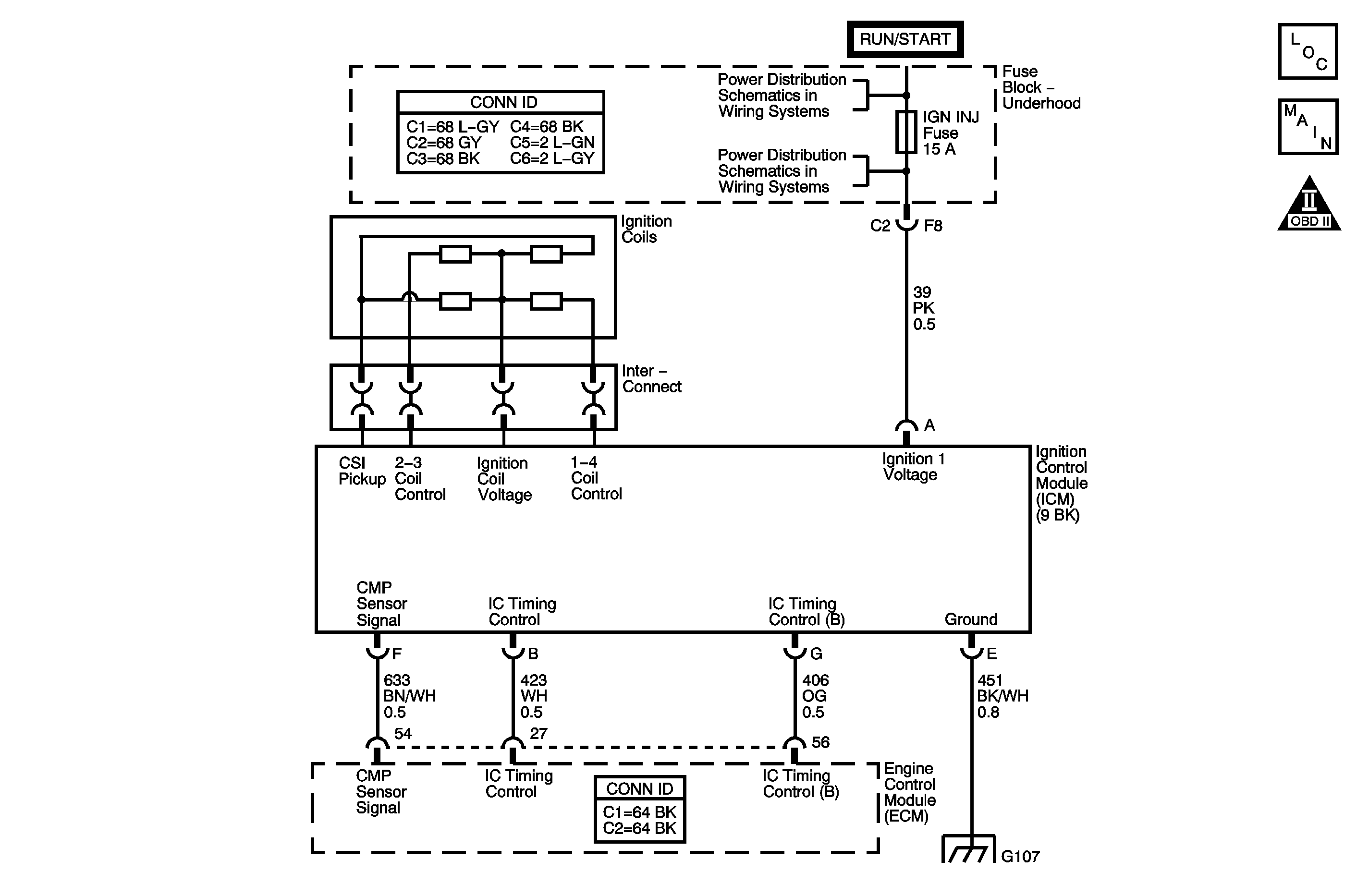
Object Number: 1247639  Size: MF
Engine Controls Component Views
Engine Controls Schematics

Circuit Description

This ignition system does not use a conventional camshaft position (CMP) sensor that detects valve train position. The ignition control module (ICM) detects when #1 or #3 cylinder has fired on the compression stroke using sensing circuitry integrated within each coil. The sensing circuit detects the polarity and the strength of the secondary voltage output. The higher output is always at the event cylinder. The ICM sends a camshaft position signal to the engine control module (ECM) based on the voltage difference between the event and waste cylinder firing energy. This system is called compression sense ignition. By monitoring the camshaft position and crankshaft position signals the ECM can accurately time the operation of the fuel injectors. If the ECM receives an intermittent CMP signal from the ICM then the CMP Resync Counter on the scan tool will increment. When the ECM cannot use the information from the CMP signal, a DTC will set. If the ECM detects too many CMP Resyncs within a calibrated amount of time, DTC P0341 will set.

DTC Descriptor

This diagnostic procedure supports the following DTC:

DTC P0341 Camshaft Position (CMP) Sensor Performance

Conditions for Running the DTC

    • The engine is running.
    • DTC P0341 runs continuously when the engine is running.

Conditions for Setting the DTC

    • The ECM detects more than 30 CMP Resync counts in a 256 second window when the manifold absolute pressure (MAP) is more than 50 kPa .
    • The above condition is met for more than 32 seconds.

Action Taken When the DTC Sets

    • The control module illuminates the malfunction indicator lamp (MIL) on the second consecutive ignition cycle that the diagnostic runs and fails.
    • The control module records the operating conditions at the time the diagnostic fails. The first time the diagnostic fails, the control module stores this information in the Failure Records. If the diagnostic reports a failure on the second consecutive ignition cycle, the control module records the operating conditions at the time of the failure. The control module writes the operating conditions to the Freeze Frame and updates the Failure Records.

Conditions for Clearing the MIL/DTC

    • The control module turns OFF the malfunction indicator lamp (MIL) after 3 consecutive ignition cycles that the diagnostic runs and does not fail.
    • A current DTC, Last Test Failed, clears when the diagnostic runs and passes.
    • A history DTC clears after 40 consecutive warm-up cycles, if no failures are reported by this or any other emission related diagnostic.
    • Clear the MIL and the DTC with a scan tool.

Diagnostic Aids

    • An intermittent fault in the crankshaft position (CKP) circuits may cause the ECM to resync the cam and may set this DTC. If the ECM is resyncing the camshaft, the CMP Resync Counter on the Scan tool will increment with the engine running.
    • An intermittent short to voltage on the camshaft position signal can set this DTC. A direct short to voltage on the camshaft position signal circuit will set DTC P0340, as there will be no change in the camshaft position signal input.
    • Electromagnetic interference (EMI) may also set DTC P0341. Inspect the wiring harness for damage. If the harness appears to be OK, observe the CMP resync counter on the scan tool while moving connectors and wiring harnesses related to the camshaft position signal. If the CMP resync counter still does not count, while observing the scan tool, operate any non-engine related electrical components on the vehicle. A change in display will indicate the location of the malfunction.
    • If this DTC is determined to be intermittent, refer to Intermittent Conditions .

Test Description

The numbers below refer to the step numbers on the diagnostic table.

  1. This step determines if DTC P0341 is the result of a hard malfunction or an intermittent condition.

  2. The counter should stop incrementing with the camshaft position signal circuit disconnected and set DTC P0340. If the counter still increments, this indicates that the ECM is malfunctioning.

  3. A faulty electrical connection in the camshaft position signal circuit can cause the CMP Resync Counter to increment. Anytime a faulty electrical connection is present, the CMP Reference Activity counter will stop incrementing.

Step

Action

Yes

No

Schematic Reference: Engine Controls Schematics

Connector End View Reference: Engine Control Module Connector End Views or Engine Controls Connector End Views

1

Did you perform the Diagnostic System Check - Vehicle?

Go to Step 2

Go to Diagnostic System Check - Vehicle in Vehicle DTC Information

2

  1. Install a scan tool.
  2. Turn ON the ignition, with the engine OFF.

Are any other DTCs set?

Go to Diagnostic Trouble Code (DTC) List - Vehicle in Vehicle DTC Information

Go to Step 3

3

  1. Start the engine.
  2. Observe the CMP Resync Counter parameter with the scan tool.

Is the CMP Resync Counter parameter incrementing?

Go to Step 4

Go to Diagnostic Aids

4

  1. Turn OFF the ignition.
  2. Disconnect the ignition control module (ICM).
  3. Connect a jumper wire from each terminal, except the camshaft position (CMP) signal circuit, in the ICM harness connector to the corresponding terminal at the ICM with the J 35616 Connector Test Adapter Kit.
  4. Start the engine.
  5. Observe the CMP Resync parameter on the scan tool.

Did the CMP Resync Counter parameter stop incrementing?

Go to Step 5

Go to Step 6

5

  1. Turn OFF the ignition.
  2. Test for an intermittent and for a poor connection at the ICM. Refer to Testing for Intermittent Conditions and Poor Connections and Connector Repairs in Wiring Systems.

Did you find and correct the condition?

Go to Step 9

Go to Step 7

6

  1. Disconnect the engine control module (ECM). Refer to Engine Control Module Replacement .
  2. Test for an intermittent and for a poor connection of the camshaft position signal circuit at the ECM connector. Refer to Testing for Intermittent Conditions and Poor Connections and Connector Repairs in Wiring Systems.

Did you find and correct the condition?

Go to Step 9

Go to Step 8

7

Replace the ICM. Refer to Ignition Control Module Replacement .

Did you complete the replacement?

Go to Step 9

--

8

Replace the ECM. Refer to Control Module References in Computer/Integrating Systems for replacement, setup, and programming.

Did you complete the replacement?

Go to Step 9

--

9

  1. Clear the DTCs with a scan tool.
  2. Turn OFF the ignition for 30 seconds.
  3. Start the engine.
  4. Operate the vehicle within the Conditions for Running the DTC. You may also operate the vehicle within the conditions that you observed from the Freeze Frame/Failure Records.

Does the DTC fail this ignition?

Go to Step 2

Go to Step 10

10

Observe the Capture Info with a scan tool.

Are there any DTCs that have not been diagnosed?

Go to Diagnostic Trouble Code (DTC) List - Vehicle in Vehicle DTC Information

System OK