GM Service Manual Online
For 1990-2009 cars only

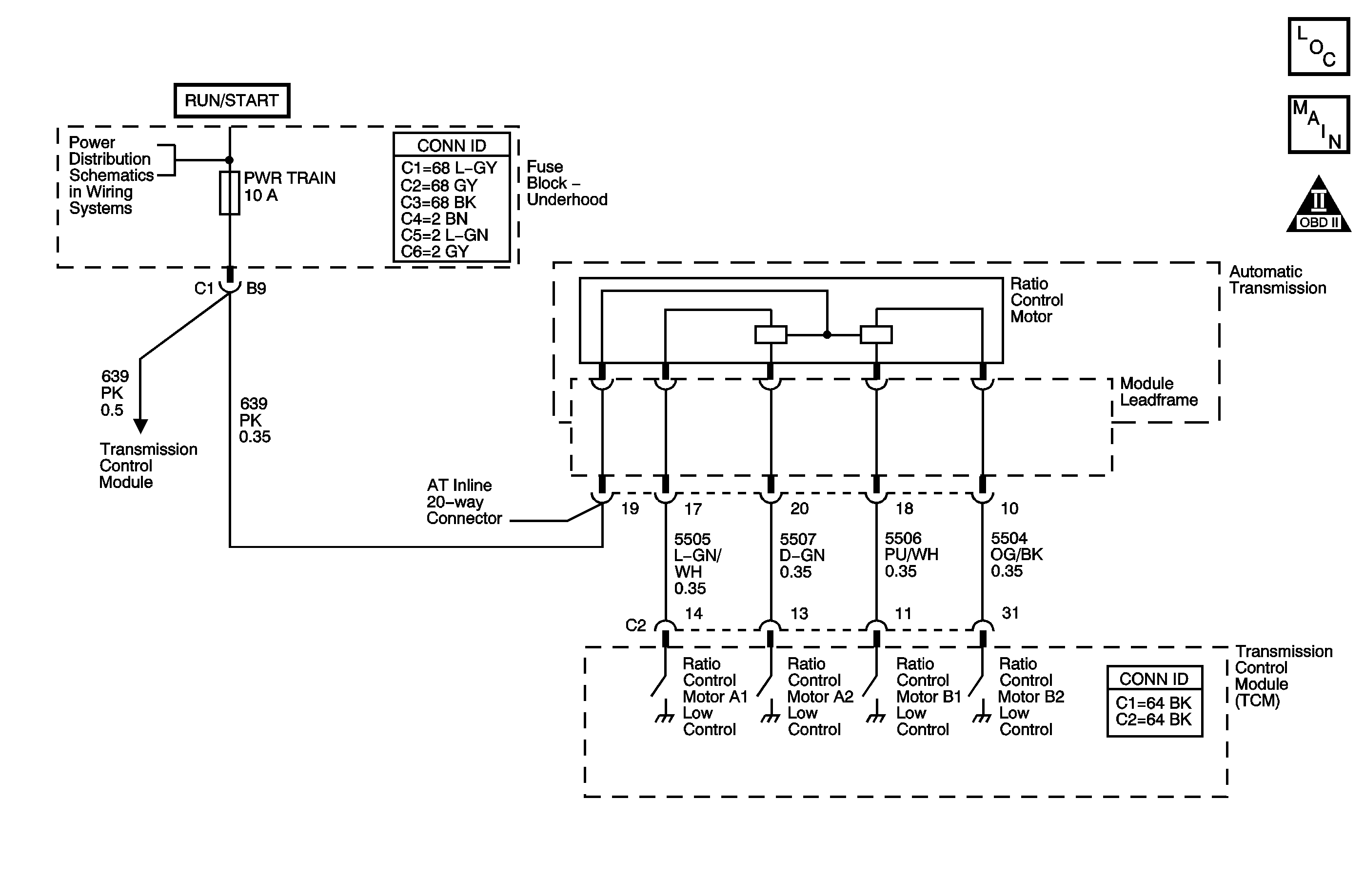
Object Number: 1548160  Size: MF
Master Electrical Component List
Automatic Transmission Controls Schematics
OBD II Symbol Description Notice

Circuit Description

The transmission control module (TCM) uses the ratio control motor to control the speed ratio. The ratio control motor is a linear position device, which changes the speed ratio by accurately controlling the position of the variable ratio control valve. Movement of the variable ratio control valve allows fluid to be applied and exhausted from the primary feed limit circuit. The TCM controls the ratio control motor by grounding four control circuits with power being supplied directly from the fuse block - underhood. The TCM monitors the status of the four low control circuits and can detect a short to power or a short to ground/open.

When either of these failures is detected, DTC P1886 sets. DTC P1886 is a type A DTC.

DTC Descriptor

This diagnostic procedure supports the following DTC:

DTC P1886 Ratio Control Motor Coil B2 Control Circuit

Conditions for Running the DTC

The engine speed is greater than 500 RPM for 5 seconds.

Conditions for Setting the DTC

The TCM detects an open, a short to ground, or a short to voltage on the ratio control motor B2 control circuit for 0.56 seconds.

Action Taken When the DTC Sets

    • The TCM requests the ECM to illuminate the malfunction indicator lamp (MIL).
    • The TCM moves the speed ratio towards a target ratio and then freezes ratio changes.
    • The TCM discontinues use of the closed loop ratio control algorithm. This causes the speed ratio to be defaulted and possibly not accurate. The resulting open loop control may or may not provide optimum ratio performance.
    • The ECM records the operating conditions when the Conditions for Setting the DTC are met. The ECM stores this information as Freeze Frame and Failure Records.
    • The TCM records the operating conditions when the Conditions for Setting the DTC are met. The TCM stores this information as Failure Records.
    • The TCM stores DTC P1886 in TCM history.

Conditions for Clearing the MIL/DTC

    • The ECM turns OFF the MIL after the third consecutive drive trip in which the TCM does not send a MIL illumination request.
    • A scan tool can clear the MIL/DTC.
    • The TCM clears the DTC from TCM history if the vehicle completes 40 warm-up cycles without an emission related diagnostic fault occurring.
    • The TCM cancels the DTC default actions when the ignition switch is OFF long enough in order to power down the TCM.

Diagnostic Aids

    • Inspect the connectors at the TCM, the transmission, and all other circuit connecting points for an intermittent condition. Refer to Testing for Intermittent Conditions and Poor Connections in Wiring Systems.
    • Inspect the circuit wiring for an intermittent condition. Refer to Testing for Electrical Intermittents in Wiring Systems.

Step

Action

Values

Yes

No

1

Did you perform the Diagnostic System Check - Vehicle?

--

Go to Step 2

Go to Diagnostic System Check - Vehicle in Vehicle DTC Information

2

  1. Install a scan tool.
  2. Turn ON the ignition, with the engine OFF.
  3. Important: 

       • Before clearing the DTC, use the scan tool in order to record the Failure Records. Using the Clear DTC Info function erases the Failure Records from the TCM.
       • Using the Clear DTC Info function erases stored DTCs in both the ECM and TCM.

  4. Record the DTC Failure Records.
  5. Clear the DTC.
  6. Turn OFF the ignition for 30 seconds.
  7. Start the engine and idle for 1 minute.

Is DTC P1883, P1884, or P1885 also set?

--

Go to Step 3

Go to Step 4

3

Test the Ignition 1 voltage circuit for an open between the fuse block - underhood and the inline 20-way connector.

Refer to Testing for Continuity and Wiring Repairs in Wiring Systems.

Did you find and correct the condition?

--

Go to Step 19

Go to Step 16

4

Using the scan tool, select Ratio Ctrl. Mtr. B2 Status.

Does the scan tool display OPEN/SHORT TO GND?

--

Go to Step 6

Go to Step 5

5

Does the scan tool display SHORT TO VOLTS?

--

Go to Step 7

Go to Intermittent Conditions in Engine Controls - 2.2L (L61)

6

  1. Disconnect the AT inline 20-way connector.
  2. Turn ON the ignition, with the engine OFF.
  3. Connect a test lamp between the Ignition 1 voltage circuit and the ratio control motor B2 low control circuit.

Is the test lamp blinking?

--

Go to Step 14

Go to Step 8

7

  1. Disconnect the AT inline 20-way connector.
  2. Turn ON the ignition, with the engine OFF.
  3. Connect a test lamp between the Ignition 1 voltage circuit and the ratio control motor B2 low control circuit.

Is the test lamp OFF?

--

Go to Step 10

Go to Step 17

8

Is the test lamp always ON?

--

Go to Step 9

Go to Step 11

9

Test the ratio control motor B2 low control circuit for a short to ground between the TCM C2 64-way connector and the AT inline 20-way connector.

Refer to Testing for Short to Ground and Wiring Repairs in Wiring Systems.

Did you find and correct the condition?

--

Go to Step 19

Go to Step 18

10

Test the ratio control motor B2 low control circuit for a short to voltage between the TCM C2 64-way connector and the AT inline 20-way connector.

Refer to Testing for a Short to Voltage and Wiring Repairs in Wiring Systems.

Did you find and correct the condition?

--

Go to Step 19

Go to Step 18

11

Connect a test lamp between the Ignition 1 voltage circuit and a good ground.

Is the test lamp always ON?

--

Go to Step 13

Go to Step 12

12

Test the Ignition 1 voltage circuit for an open between the fuse block - underhood and the AT inline 20-way connector.

Refer to Testing for Continuity and Wiring Repairs in Wiring Systems.

Did you find and correct the condition?

--

Go to Step 19

--

13

Test the ratio control motor B2 low control circuit for an open between the TCM C2 64-way connector and the AT inline 20-way connector.

Refer to Testing for Continuity and Wiring Repairs in Wiring Systems.

Did you find and correct the condition?

--

Go to Step 19

Go to Step 15

14

Inspect for faulty connections at the transmission.

Refer to Circuit Testing and Connector Repairs in Wiring Systems.

Did you find and correct the condition?

--

Go to Step 19

Go to Step 17

15

Inspect for faulty connections at the TCM.

Refer to Circuit Testing and Connector Repairs in Wiring Systems.

Did you find and correct the condition?

--

Go to Step 19

Go to Step 18

16

Replace the leadframe. The leadframe is part of the control solenoid valve assembly.

Refer to Control Valve Body Assembly Disassemble .

Did you complete the replacement?

--

Go to Step 19

--

17

Replace the ratio control motor. The ratio control motor is part of the control solenoid valve assembly.

Refer to Control Valve Body Assembly Disassemble .

Did you complete the replacement?

--

Go to Step 19

--

18

Replace the TCM.

Refer to Control Module References in Computer/Integrating Systems for replacement, set-up and programming.

Did you complete the replacement?

--

Go to Step 19

--

19

Perform the following procedure in order to verify the repair:

  1. Select DTC.
  2. Select Clear Info.
  3. Operate the vehicle within the Conditions for Running the DTC as specified in the supporting text.
  4. Select specific DTC.
  5. Enter DTC P1886.

Has the test run and passed?

--

Go to Step 20

Go to Step 2

20

With the scan tool, observe the stored information, capture info and DTC info.

Does the scan tool display any DTCs that you have not diagnosed?

--

Go to Diagnostic Trouble Code (DTC) List - Vehicle in Vehicle DTC Information

System OK