GM Service Manual Online
For 1990-2009 cars only

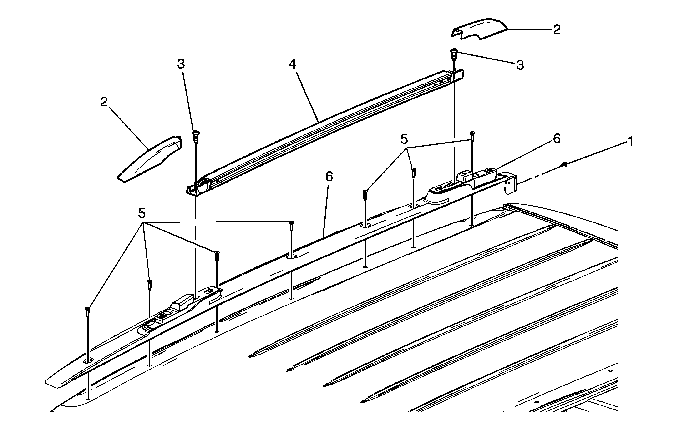
Object Number: 1717490  Size: MF

Callout

Component Name

Notice: Refer to Fastener Notice in the Preface section.

Fastener Tightening Specifications: Refer to Fastener Tightening Specifications .

1

Luggage Carrier Side Rail Rear Bolt (Qty: 1)

Tighten
3N·m (27 lb in)

2

Luggage Carrier Side Rail Finish Covers (Qty: 2)

3

Luggage Carrier Side Rail Plug Bolts (Qty: 2)

Tighten
3N·m (27 lb in)

4

Luggage Carrier Side Rail Guide

5

Luggage Carrier Side Rail Base Bolts (Qty: 7)

Tighten
6.5N·m (58 lb in)

6

Luggage Carrier Rail