GM Service Manual Online
For 1990-2009 cars only

    Object Number: 156168  Size: SH

    Important: Inspect the piston, pin and connecting rod with the components at room temperature. Do not use a wire brush to clean the piston ring grooves. Do not cut the ring grooves deeper with a groove cleaning tool.

  1. Inspect the piston for the following conditions:
  2. • Distortion or cracking
    • Eroded areas (1) at the top of the piston
    • Scuffed or damaged skirt (2)
    • Scoring to the piston pin bore (3)

    Object Number: 1197321  Size: SH
  3. Inspect the connecting rod for the following conditions:
  4. • Twisting (2)
    • Nicks or gouging in the pin or bearing bores (1 and 3)
    • Proper fit of the connecting rod and cap (4)

    Object Number: 4977  Size: SH
  5. Clean all the piston ring grooves thoroughly with a ring groove cleaning tool.

  6. Object Number: 897401  Size: SH
  7. Measure the piston diameter at a point 16 mm (0.63 in) from the bottom of the skirt (a).
  8. Specification

        • Piston diameter - new: 88.975-88.985 mm (3.5029-3.5033 in)
        • Piston diameter - service limit: 88.965 mm (3.5026 in)
        • 0.25 mm (0.0098 in) oversize piston diameter: 89.225-89.235 mm (3.5128-3.5132 in)

    Object Number: 4976  Size: SH
  9. Measure the piston pin diameter.
  10. Specification

        • Piston pin diameter - new: 21.962-21.965 mm (0.8646-0.8648 in)
        • Piston pin diameter - service: 21.954 mm (0.8643 in)

    Object Number: 4975  Size: SH
  11. Measure the piston pin bore.
  12. Calculate the pin-to-bore clearance.
  13. Specification

        • Piston pin-to-bore clearance - new: -0.005 to +0.001 mm (-0.0002 to +0.00004 in)
        • Piston pin-to-bore clearance - service limit: 0.004 mm (0.0002 in)

    Object Number: 897402  Size: SH
  14. Measure the connecting rod pin bore.
  15. Calculate the piston pin-to-connecting rod clearance.
  16. Specification

        • Piston pin-to-connecting rod clearance - new: 0.005-0.014 mm (0.0002-0.0006 in)
        • Piston pin-to-connecting rod clearance - service limit: 0.019 mm (0.0007 in)

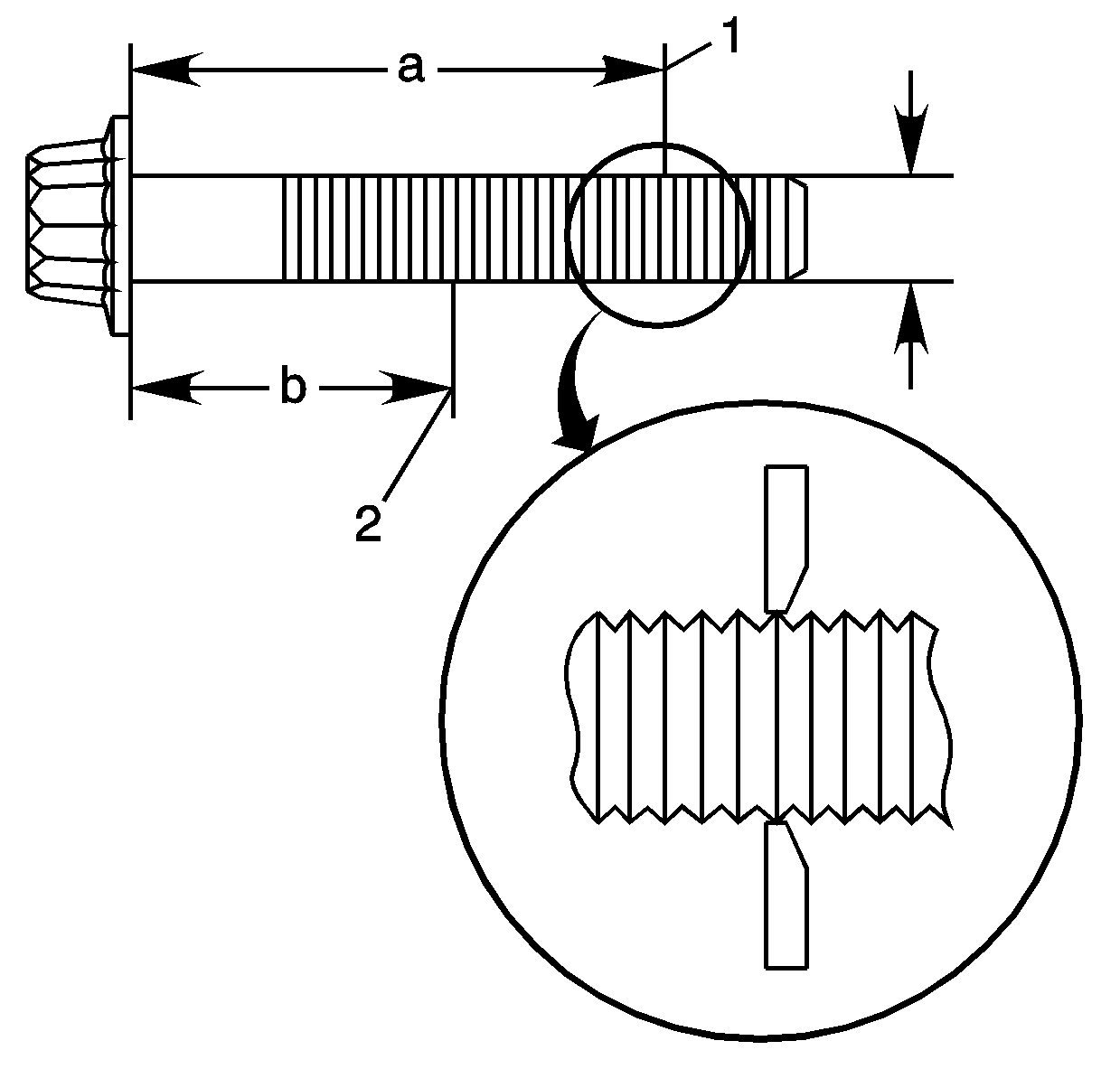
Connecting Rod Bolt Inspection


    Object Number: 897403  Size: SH
  1. Measure the diameter of each connecting rod bolt at the 2 measurement points (1 and 2) - 35 mm (1.38 in) (a) and 20 mm (0.79 in) (b).
  2. Calculate the difference between the 2 measurements. If the difference between the 2 measurements exceeds the specification, replace the bolt.
  3. Specification
    Connecting rod bolt - difference in diameter: 0.0-0.1 mm (0.0-0.004 in)

Piston Selection


    Object Number: 1308158  Size: SH
  1. Measure the piston diameter.
  2. Measure the cylinder bore diameter. Refer to Engine Block Cleaning and Inspection .
  3. Calculate the clearance between the piston and the cylinder bore.
  4. Specification

        • Piston-to-bore clearance - new: 0.015-0.04 mm (0.0006-0.0016 in)
        • Piston-to-bore clearance - service limit: 0.08 mm (0.003 in)
  5. A 0.25 mm (0.010 in) oversize piston can be identified by the numbers 25 on the top of the piston.

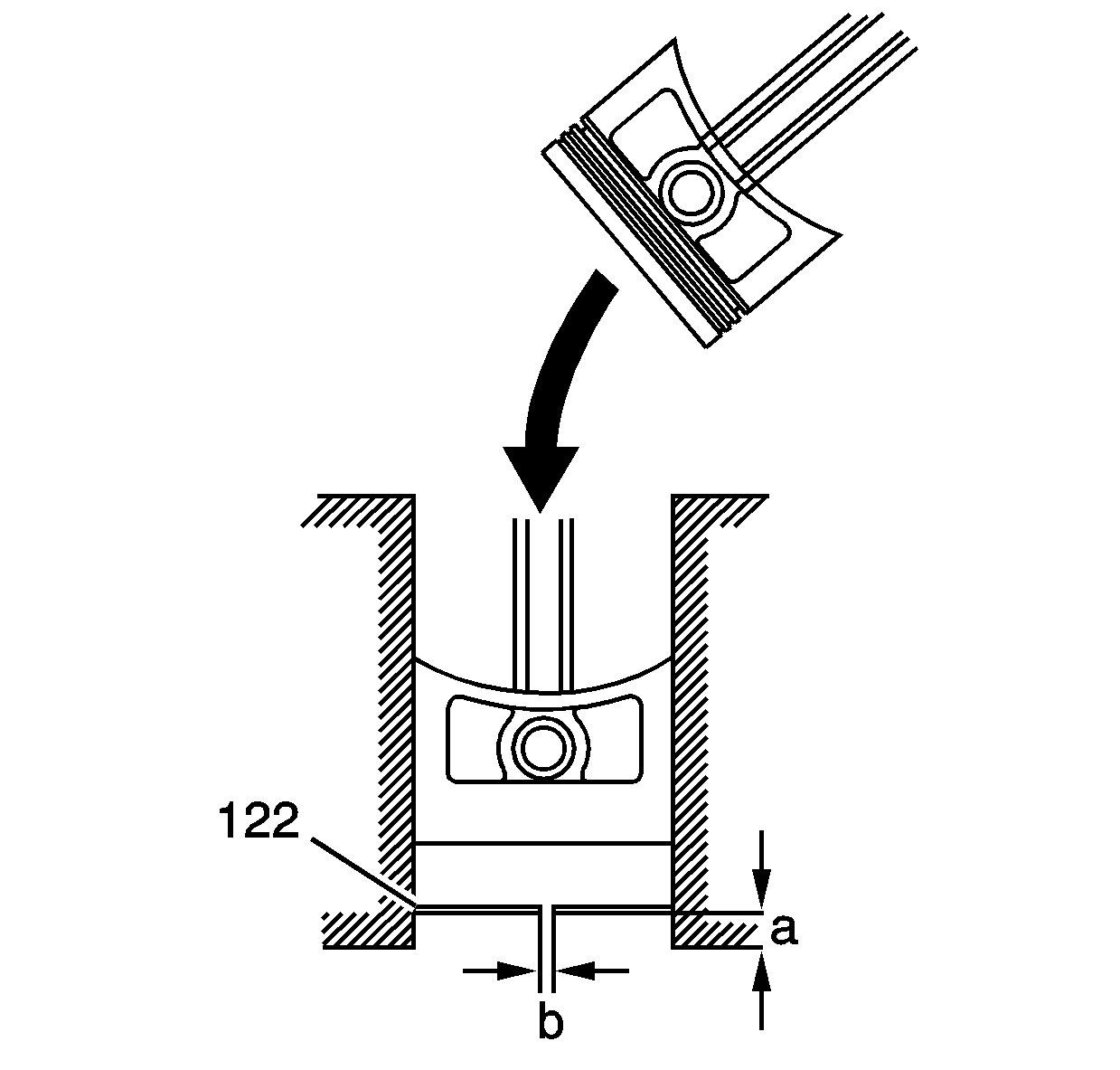
Piston Ring Selection


    Object Number: 897404  Size: SH
  1. Insert the piston ring (122) into the cylinder 15-20 mm (0.6-0.8 in) (a) from the bottom of the bore.
  2. Measure the piston ring end gap (b) with a feeler gage.
  3. 2.1. If the gap is too small, check to see if you have the proper rings for the application.
    2.2. If the gap is too large, check the cylinder bore diameter against the wear limits. Refer to Engine Block Cleaning and Inspection .
    2.3. If the bore diameter exceeds the service limit, the cylinder block must be bored and fitted with oversize pistons and piston rings.

    Specification

        • Piston ring end gap - top ring - production: 0.2-0.35 mm (0.008-0.014 in)
        • Piston ring end gap - second ring - production: 0.4-0.55 mm (0.016-0.022 in)
        • Piston ring end gap - oil ring - production: 0.2-0.7 mm (0.008-0.028 in)
        • Piston ring end gap - top ring - service limit: 0.6 mm (0.024 in)
        • Piston ring end gap - second ring - service limit: 0.7 mm (0.028 in)
        • Piston ring end gap - oil ring - service limit: 0.8 mm (0.031 in)