GM Service Manual Online
For 1990-2009 cars only

Object Number: 1825543  Size: SH

Caution: Keep the brakes applied at all times in order to prevent unexpected vehicle motion. Personal injury may result if the vehicle moves unexpectedly.

Notice: The total test running time should not be longer than 2 minutes. Running the test longer than 2 minutes may damage the transaxle.

Line pressures are calibrated for two sets of gear ranges -- DRIVE-PARK-NEUTRAL, and REVERSE. This allows the transaxle line pressure to be appropriate for different pressure needs in different gear ranges.

Before performing a line pressure check, verify that the pressure control solenoid for the transaxle is receiving the correct electrical signal from the PCM.

    Important: Some conditions may be intermittent, therefore this test should be performed at least 3 times.

  1. Install the scan tool.
  2. Start the engine and set the parking brake.
  3. Check for diagnostic trouble codes, including the diagnostic code for a stored pressure control solenoid.
  4. Repair the vehicle if necessary. Include the following areas:
  5. • Inspect the fluid level
    • Inspect the manual linkage at the transaxle
    • Install or connect the scan tool.
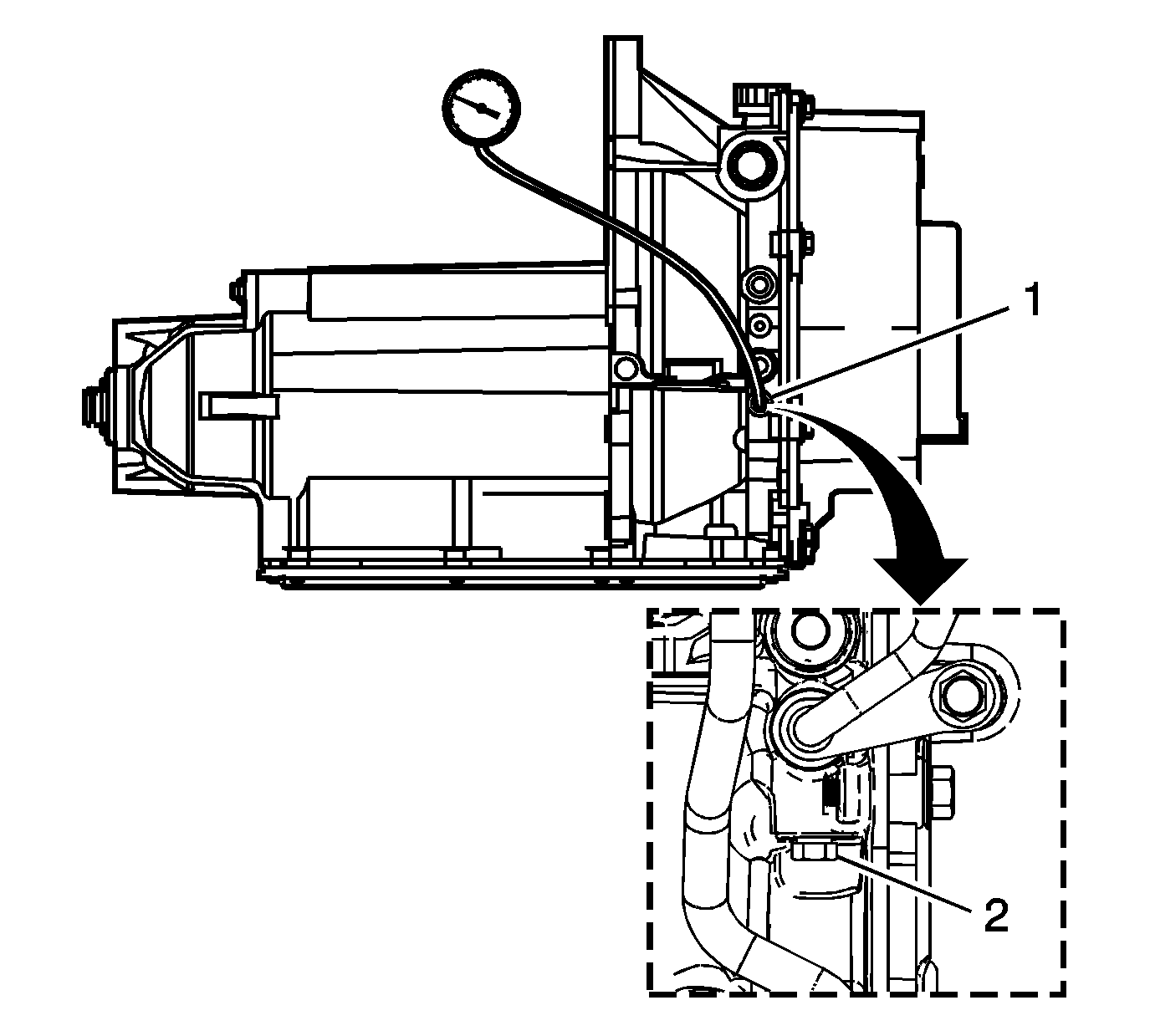
    • Install or connect the oil pressure gage at the line pressure tap plug (1), or L4 Hybrid (2).
  6. Put the gear selector in PARK and set the parking brake.
  7. Start the engine and allow the engine to warm up at idle.
  8. Access the PCS Control test on the scan tool.
  9. Increase DESIRED PCS in 0.1 amp increments. Read the corresponding line pressure on the pressure gage. Allow the pressure to stabilize for 5 seconds after each current charge.
  10. Important: Before installing the line pressure plug, apply GM P/N 12345382 (Canadian P/N 10953489) to the thread of the line pressure tap plug (1), or L4 Hybrid (2).

  11. Remove oil pressure gage and install line pressure tap plug (1), or L4 Hybrid (2).

If your pressure readings differ greatly from the line pressure table, refer to the Diagnosis Tables contained in this section.

The scan tool is only able to control the pressure control solenoid in PARK and NEUTRAL with the vehicle stopped. This protects the clutches from extremely high or low pressures in DRIVE or REVERSE ranges.

Refer to Line Pressure .

The pressures in the table assume a temperature of 70°C (158°F). The pressure will vary with a change in temperature.