GM Service Manual Online
For 1990-2009 cars only
Connector 1: Ambient Light Sensor
Connector 2: Backup Lamp - Left
Connector 3: Backup Lamp - Right
Connector 4: Backup Switch (L61 w/M/T)
Connector 5: Center High Mount Stop Lamp (CHMSL)
Connector 6: Courtesy/Map Lamp
Connector 7: Daytime Running Lamps (DRL) Resistor
Connector 8: Dimmer Switch (Dash Illumination)
Connector 9: Dome Lamp - Front
Connector 10: Dome Lamp - Rear
Connector 11: Door Jamb Switch - Driver
Connector 12: Door Jamb Switch - Front Passenger
Connector 13: Door Jamb Switch - Left Rear
Connector 14: Door Jamb Switch - Right Rear
Connector 15: Fog Lamp - Left (T96)
Connector 16: Fog Lamp - Right (T96)
Connector 17: Fog Lamp Switch (T96)
Connector 18: Hazard Switch
Connector 19: Headlamp - Left - High Beam
Connector 20: Headlamp - Left - Low Beam
Connector 21: Headlamp - Right - High Beam
Connector 22: Headlamp - Right - Low Beam
Connector 23: License Lamp - Left
Connector 24: License Lamp - Right
Connector 25: Liftgate Lamp - Left
Connector 26: Liftgate Lamp - Right
Connector 27: Park/Stop Lamp - Left Rear
Connector 28: Park/Stop Lamp - Right Rear
Connector 29: Park/Turn Signal Lamp - Left Front
Connector 30: Park/Turn Signal Lamp - Left Rear
Connector 31: Park/Turn Signal Lamp - Right Front
Connector 32: Park/Turn Signal Lamp - Right Rear
Connector 33: PRNDL Lamp
Connector 34: Stop Lamp Switch
Connector 35: Turn Signal Flasher Relay
Connector 36: Turn Signal/Multifunction Switch

Ambient Light Sensor


Object Number: 82383  Size: CH

Connector Part Information

  • OEM: 12047662
  • Service: See Catalog
  • Description: 2-Way F Metri-Pack 150 Series (BK)

Ambient Light Sensor

Pin

Wire Color

Circuit No.

Function

A

L-GN/BK

1137

DRL/Ambient Light Sensor Signal

B

YE/BK

1138

Low Reference

Backup Lamp - Left


Object Number: 1290411  Size: CH

Connector Part Information

  • OEM: 021940259
  • Service: See Catalog
  • Description: 3-Way F Bulb 3057 Socket (GY)

Backup Lamp - Left

Pin

Wire Color

Circuit No.

Function

MAJ

L-GN

24

Backup Lamp Supply Voltage

MIN

--

--

Not Used

GND

BK

750

Ground

Backup Lamp - Right


Object Number: 1290411  Size: CH

Connector Part Information

  • OEM: 021940259
  • Service: See Catalog
  • Description: 3-Way F Bulb 3057 Socket (GY)

Backup Lamp - Right

Pin

Wire Color

Circuit No.

Function

MAJ

L-GN

24

Backup Lamp Supply Voltage

MIN

--

--

Not Used

GND

BK

850

Ground

Backup Switch (L61 w/M/T)


Object Number: 635009  Size: CH

Connector Part Information

  • OEM: 12052641
  • Service: See Catalog
  • Description: 2-Way F Metri-Pack 150 Series (BK)

Backup Switch (L61 w/M/T)

Pin

Wire Color

Circuit No.

Function

A

PK

239

Ignition 1 Voltage

B

L-GN

24

Backup Lamp Supply Voltage

Center High Mount Stop Lamp (CHMSL)


Object Number: 1282958  Size: CH

Connector Part Information

  • OEM: 7283-5530-40
  • Service: See Catalog
  • Description: 2-Way F (L-GY)

Center High Mount Stop Lamp (CHMSL)

Pin

Wire Color

Circuit No.

Function

1

L-BU

20

Stop Lamp Switch Signal

2

BK

650

Ground

Courtesy/Map Lamp


Object Number: 333035  Size: CH

Connector Part Information

  • OEM: 12047781
  • Service: See Catalog
  • Description: 3-Way F Metri-Pack 150 Series (BK)

Courtesy/Map Lamp

Pin

Wire Color

Circuit No.

Function

A

OG

1732

Courtesy Lamps Supply Voltage

B

BK

750

Ground

C

WH

156

Courtesy Lamp Switch Signal

Daytime Running Lamps (DRL) Resistor


Object Number: 68721  Size: CH

Connector Part Information

  • OEM: 15300027
  • Service: See Catalog
  • Description: 2-Way F Metri-Pack 280 Series Sealed (BK)

Daytime Running Lamps (DRL) Resistor

Pin

Wire Color

Circuit No.

Function

A

GY

589

DRL Relay

B

BK

150

Ground

Dimmer Switch (Dash Illumination)


Object Number: 808685  Size: CH

Connector Part Information

  • OEM: 12020299
  • Service: See Catalog
  • Description: 5-Way F P/C Edgeboard - Standard (NA)

Dimmer Switch (Dash Illumination)

Pin

Wire Color

Circuit No.

Function

A

--

--

Not Used

B

BN/WH

230

I/P Lamps Dimmer Control

C

TN

470

Low Reference

D-E

--

--

Not Used

Dome Lamp - Front


Object Number: 130635  Size: CH

Connector Part Information

  • OEM: 12045813
  • Service: See Catalog
  • Description: 4-Way F Metri-Pack 150 Series (NA)

Dome Lamp - Front

Pin

Wire Color

Circuit No.

Function

A

WH

156

Courtesy Lamps Switch Signal

B

GY

157

Courtesy Lamp Control

C

BK

750

Ground

D

OG

1732

Courtesy Lamps Supply Voltage

Dome Lamp - Rear


Object Number: 130635  Size: CH

Connector Part Information

  • OEM: 12045813
  • Service: See Catalog
  • Description: 4-Way F Metri-Pack 150 Series (NA)

Dome Lamp - Rear

Pin

Wire Color

Circuit No.

Function

A

--

--

Not Used

B

GY

157

Courtesy Lamp Control

C

--

--

Not Used

D

OG

1732

Courtesy Lamps Supply Voltage

Door Jamb Switch - Driver


Object Number: 333035  Size: CH

Connector Part Information

  • OEM: 12047781
  • Service: See Catalog
  • Description: 3-Way F Metri-Pack 150 Series (BK)

Door Jamb Switch - Driver

Pin

Wire Color

Circuit No.

Function

A

GY/BK

745

Left Front Door Ajar Switch Signal

B

BK/WH

151

Ground

C

--

--

Not Used

Door Jamb Switch - Front Passenger


Object Number: 333035  Size: CH

Connector Part Information

  • OEM: 12047781
  • Service: See Catalog
  • Description: 3-Way F Metri-Pack 150 Series (BK)

Door Jamb Switch - Front Passenger

Pin

Wire Color

Circuit No.

Function

A

BK/WH

746

Passenger Door Ajar Switch Signal

B

BK

650

Ground

C

--

--

Not Used

Door Jamb Switch - Left Rear


Object Number: 295483  Size: CH

Connector Part Information

  • OEM: 15304635
  • Service: See Catalog
  • Description: 2-Way F Metri-Pack 150 Series (L-GY)

Door Jamb Switch - Left Rear

Pin

Wire Color

Circuit No.

Function

A

BK/WH

746

Passenger Door Ajar Switch Signal

B

BK

650

Ground

Door Jamb Switch - Right Rear


Object Number: 295483  Size: CH

Connector Part Information

  • OEM: 15304635
  • Service: See Catalog
  • Description: 2-Way F Metri-Pack 150 Series (L-GY)

Door Jamb Switch - Right Rear

Pin

Wire Color

Circuit No.

Function

A

BK/WH

746

Passenger Door Ajar Switch Signal

B

BK

650

Ground

Fog Lamp - Left (T96)


Object Number: 1413064  Size: CH

Connector Part Information

  • OEM: 12124819
  • Service: See Catalog
  • Description: 2-Way F Metri-Pack 280 Series (BK)

Fog Lamp - Left (T96)

Pin

Wire Color

Circuit No.

Function

A

PU

34

Fog Lamp Supply Voltage

B

BK

150

Ground

Fog Lamp - Right (T96)


Object Number: 1413064  Size: CH

Connector Part Information

  • OEM: 12124819
  • Service: See Catalog
  • Description: 2-Way F Metri-Pack 280 Series (BK)

Fog Lamp - Right (T96)

Pin

Wire Color

Circuit No.

Function

A

PU

34

Fog Lamp Supply Voltage

B

BK

150

Ground

Fog Lamp Switch (T96)


Object Number: 258245  Size: CH

Connector Part Information

  • OEM: 12065872
  • Service: See Catalog
  • Description: 7-Way F Micro-Pack 100 Series (GY)

Fog Lamp Switch (T96)

Pin

Wire Color

Circuit No.

Function

1

YE

317

Fog Lamp Relay Coil Supply Voltage

2

OG

192

Front Fog Lamp Switch Signal

3

PK

139

Ignition 1 Voltage

4

--

--

Not Used

5

BK

550

Ground

6

GY

8

Instrument Panel Lamp Supply Voltage

7

--

--

Not Used

Hazard Switch


Object Number: 1714847  Size: CH

Connector Part Information

  • OEM: 6098-0249
  • Service: See Catalog
  • Description: 10-Way F (GY)

Hazard Switch

Pin

Wire Color

Circuit No.

Function

A

L-GN

665

Turn/Hazard Relay Control

B

YE

243

Accessory Voltage

C

OG

1040

Battery Positive Voltage

D

PU

16

Turn Signal Flasher Signal

E

L-BU

14

Left Turn Signal Lamps Supply Voltage

F

D-BU

15

Right Turn Signal Lamps Supply Voltage

G

--

--

Not Used

H

GY

8

Instrument Panel Lamp Supply Voltage

I

BK/WH

151

Ground

J

--

--

Not Used

Headlamp - Left - High Beam


Object Number: 684797  Size: CH

Connector Part Information

  • OEM: 12059183
  • Service: See Catalog
  • Description: 2-Way F Metri-Pack 280 Series Sealed (BK)

Headlamp - Left - High Beam

Pin

Wire Color

Circuit No.

Function

A

OG

740

Battery Positive Voltage

B

PK

1200

Headlamp High Beam Signal

Headlamp - Left - Low Beam


Object Number: 684796  Size: CH

Connector Part Information

  • OEM: 12059181
  • Service: See Catalog
  • Description: 2-Way F Metri-Pack 280 Series Sealed (GY)

Headlamp - Left - Low Beam

Pin

Wire Color

Circuit No.

Function

A

OG

740

Battery Positive Voltage

B

D-BU

1201

Headlamp Low Beam Signal

Headlamp - Right - High Beam


Object Number: 684797  Size: CH

Connector Part Information

  • OEM: 12059183
  • Service: See Catalog
  • Description: 2-Way F Metri-Pack 280 Series Sealed (BK)

Headlamp - Right - High Beam

Pin

Wire Color

Circuit No.

Function

A

OG

640

Battery Positive Voltage

B

PK

1200

Headlamp High Beam Signal

Headlamp - Right - Low Beam


Object Number: 684796  Size: CH

Connector Part Information

  • OEM: 12059181
  • Service: See Catalog
  • Description: 2-Way F Metri-Pack 280 Series Sealed (GY)

Headlamp - Right - Low Beam

Pin

Wire Color

Circuit No.

Function

A

OG

640

Battery Positive Voltage

B

D-BU

1201

Headlamp Low Beam Signal

License Lamp - Left


Object Number: 744036  Size: CH

Connector Part Information

  • OEM: N/A
  • Service: See Catalog
  • Description: 2-Way Lamp Socket Wedge Base W-2 (WH)

License Lamp - Left

Pin

Wire Color

Circuit No.

Function

A

WH

9

Park Lamp Supply Voltage

B

BK

650

Ground

License Lamp - Right


Object Number: 744036  Size: CH

Connector Part Information

  • OEM: N/A
  • Service: See Catalog
  • Description: 2-Way Lamp Socket Wedge Base W-2 (WH)

License Lamp - Right

Pin

Wire Color

Circuit No.

Function

A

WH

9

Park Lamp Supply Voltage

B

BK

650

Ground

Liftgate Lamp - Left


Object Number: 1282874  Size: CH

Connector Part Information

  • OEM: 12186713
  • Service: See Catalog
  • Description: 2-Way F (BK)

Liftgate Lamp - Left

Pin

Wire Color

Circuit No.

Function

1

OG

1732

Courtesy Lamps Supply Voltage

2

GY

157

Courtesy Lamp Control

Liftgate Lamp - Right


Object Number: 1282874  Size: CH

Connector Part Information

  • OEM: 12186713
  • Service: See Catalog
  • Description: 2-Way F (BK)

Liftgate Lamp - Right

Pin

Wire Color

Circuit No.

Function

1

OG

1732

Courtesy Lamps Supply Voltage

2

GY

157

Courtesy Lamp Control

Park/Stop Lamp - Left Rear


Object Number: 1290388  Size: CH

Connector Part Information

  • OEM: 021940459
  • Service: See Catalog
  • Description: 3-Way F Bulb 3057 Socket (BK)

Park/Stop Lamp - Left Rear

Pin

Wire Color

Circuit No.

Function

MAJ

L-BU

20

Stop Lamp Switch Signal

MIN

BN

9

Park Lamp Supply Voltage

GND

BK

750

Ground

Park/Stop Lamp - Right Rear


Object Number: 1290388  Size: CH

Connector Part Information

  • OEM: 021940459
  • Service: See Catalog
  • Description: 3-Way F Bulb 3057 Socket (BK)

Park/Stop Lamp - Right Rear

Pin

Wire Color

Circuit No.

Function

MAJ

L-BU

20

Stop Lamp Switch Signal

MIN

BN

9

Park Lamp Supply Voltage

GND

BK

850

Ground

Park/Turn Signal Lamp - Left Front


Object Number: 1283128  Size: CH

Connector Part Information

  • OEM: ZF1-00561-UA
  • Service: See Catalog
  • Description: 3-Way F (BK)

Park/Turn Signal Lamp - Left Front

Pin

Wire Color

Circuit No.

Function

1

BK

150

Ground

2

BN

9

Park Lamp Supply Voltage

3

L-BU

14

Left Turn Signal Lamps Supply Voltage

Park/Turn Signal Lamp - Left Rear


Object Number: 1290375  Size: CH

Connector Part Information

  • OEM: 021780959
  • Service: See Catalog
  • Description: 3-Way F Bulb 3057 Socket (BK)

Park/Turn Signal Lamp - Left Rear

Pin

Wire Color

Circuit No.

Function

MAJ

D-BU

18

Left Rear Turn Lamp Supply Voltage

MIN

BN

9

Park Lamp Supply Voltage

GND

BK

750

Ground

Park/Turn Signal Lamp - Right Front


Object Number: 1283128  Size: CH

Connector Part Information

  • OEM: ZF1-00561-UA
  • Service: See Catalog
  • Description: 3-Way F (BK)

Park/Turn Signal Lamp - Right Front

Pin

Wire Color

Circuit No.

Function

1

BK

150

Ground

2

BN

9

Park Lamp Supply Voltage

3

D-BU

15

Right Turn Signal Lamps Supply Voltage

Park/Turn Signal Lamp - Right Rear


Object Number: 1290375  Size: CH

Connector Part Information

  • OEM: 021780959
  • Service: See Catalog
  • Description: 3-Way F Bulb 3057 Socket (BK)

Park/Turn Signal Lamp - Right Rear

Pin

Wire Color

Circuit No.

Function

MAJ

D-BU

19

Right Rear Turn Lamp Supply Voltage

MIN

BN

9

Park Lamp Supply Voltage

GND

BK

850

Ground

PRNDL Lamp


Object Number: 810080  Size: CH

Connector Part Information

  • OEM: 12033701
  • Service: See Catalog
  • Description: Lamp Socket Bulb Base Type W-2 Axial (BK)

PRNDL Lamp

Pin

Wire Color

Circuit No.

Function

A

GY

8

I/P Dimmer Lamps Switch Signal

B

BK

550

Ground

Stop Lamp Switch


Object Number: 73251  Size: CH

Connector Part Information

  • OEM: 12033701
  • Service: See Catalog
  • Description: 2-Way F Metri-Pack 480 Series (GY)

Stop Lamp Switch

Pin

Wire Color

Circuit No.

Function

A

OG

540

Battery Positive Voltage

B

L-BU

20

Stop Lamp Switch Signal

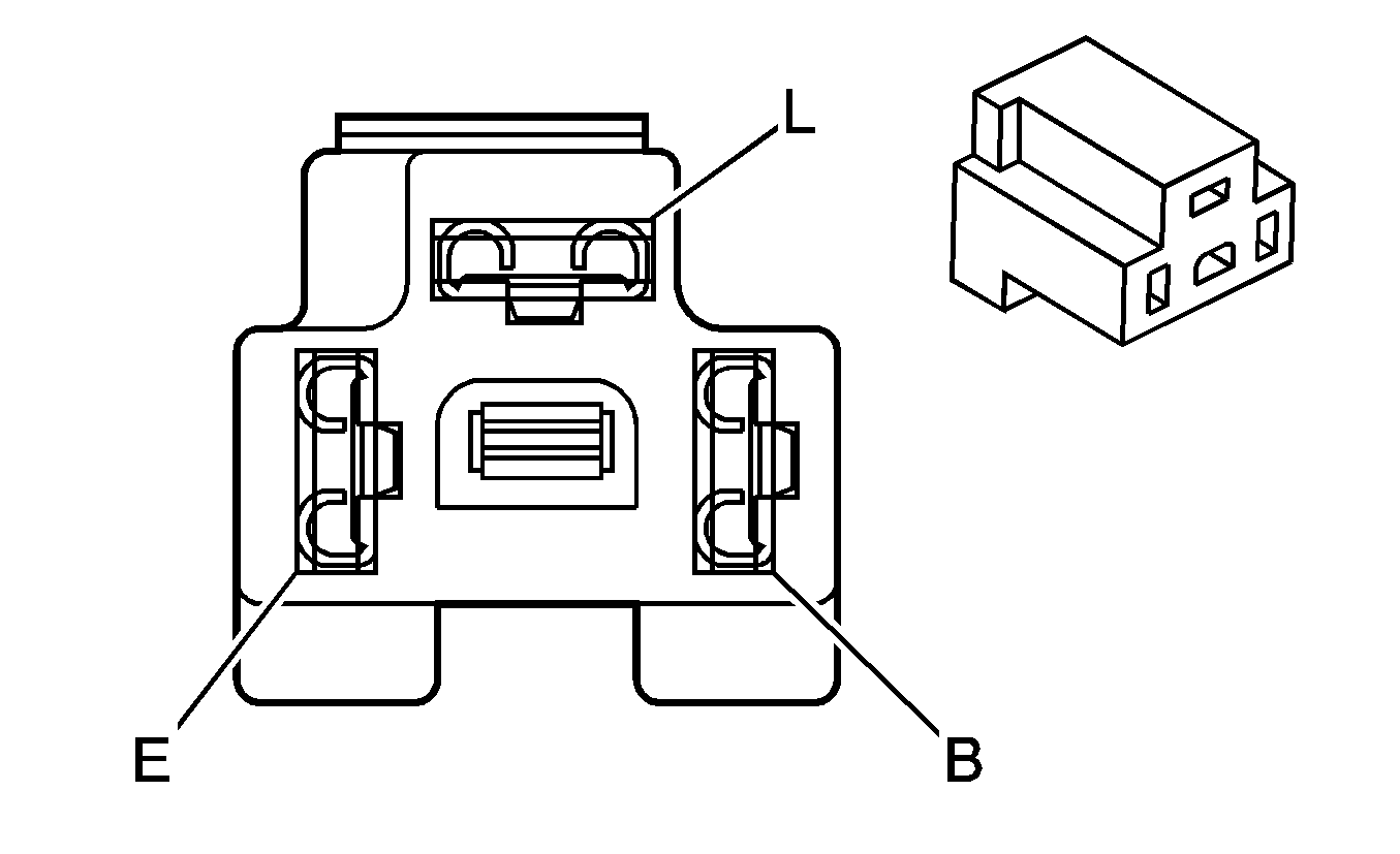
Turn Signal Flasher Relay


Object Number: 1716624  Size: CH

Connector Part Information

  • OEM: PH255-03020
  • Service: See Catalog
  • Description: 3-Way F (BK)

Turn Signal Flasher Relay

Pin

Wire Color

Circuit No.

Function

B

L-GN

665

Turn/Hazard Relay Control

L

PU

16

Turn Signal Flasher Signal

E

BK/WH

151

Ground

Turn Signal/Multifunction Switch


Object Number: 1283124  Size: CH

Connector Part Information

  • OEM: 12047976/929504-3
  • Service: See Catalog
  • Description: 8-Way F Metri-Pack 280 Series (BK)

Turn Signal/Multifunction Switch

Pin

Wire Color

Circuit No.

Function

1

BK

550

Ground

2

L-BU

14

Left Turn Signal Lamps Supply Voltage

3

OG

240

Battery Positive Voltage (w/o T82)

GY

691

Headlamp Relay Output (w/T82)

4

PU

16

Turn Signal Flasher Signal

5

D-BU

1201

Headlamp Low Beam Signal

6

D-BU

15

Right Turn Signal Lamps Supply Voltage

7

PK

1200

Headlamp High Beam Signal

8

BN

9

Park Lamp Supply Voltage (w/o T82)

L-BU

74

Park Lamp Switch Signal (w/T82)