| • | DT 46509 Tube Style Driver |
| • | SA9179NE Dial Indicator |
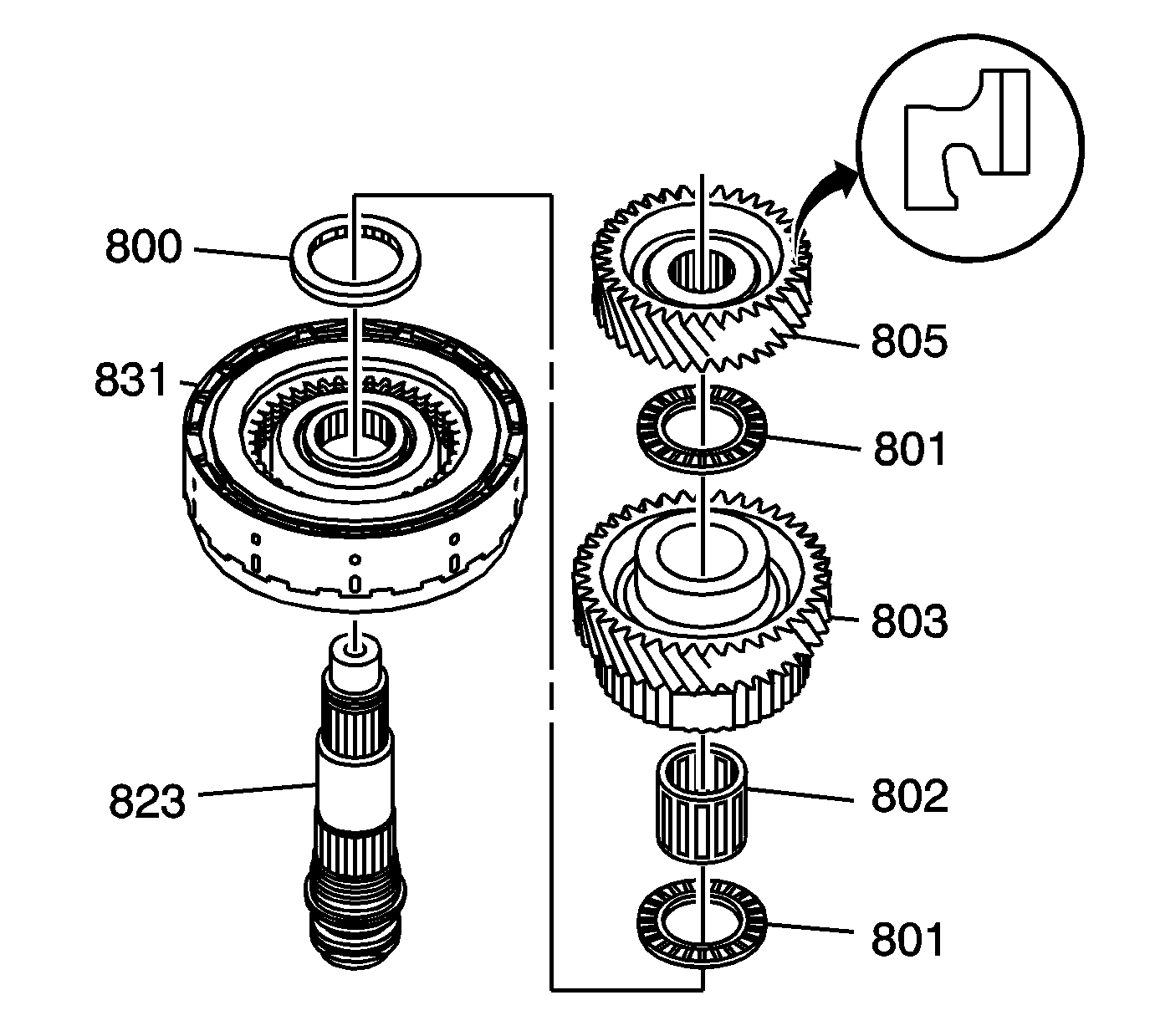
Important: The 3rd clutch shaft fluid passage seals (824) are installed after the installed height measurement.
| 12.1. | Position SA9179NE gage pointer on the top of the gear teeth. |
| 12.2. | Zero the gage. |
| 12.3. | Lift up on the 3rd drive gear (803) to measure the clearance. |
| 12.4. | Measure the axial clearance in 3 different locations by rotating the 3rd drive gear. |
| 12.5. | Average the 3 measurements for the axial clearance. |
Specification
The 3rd gear axial clearance is 0.005-0.045 mm (0.0002-0.0018 in)
| • | 3rd driven gear (805) not installed completely |
| • | 3rd drive gear (803) worn thrust surface |
| • | 3rd drive gear thrust bearing (801) worn or damaged |
| • | 3rd driven gear (805) worn thrust surface |