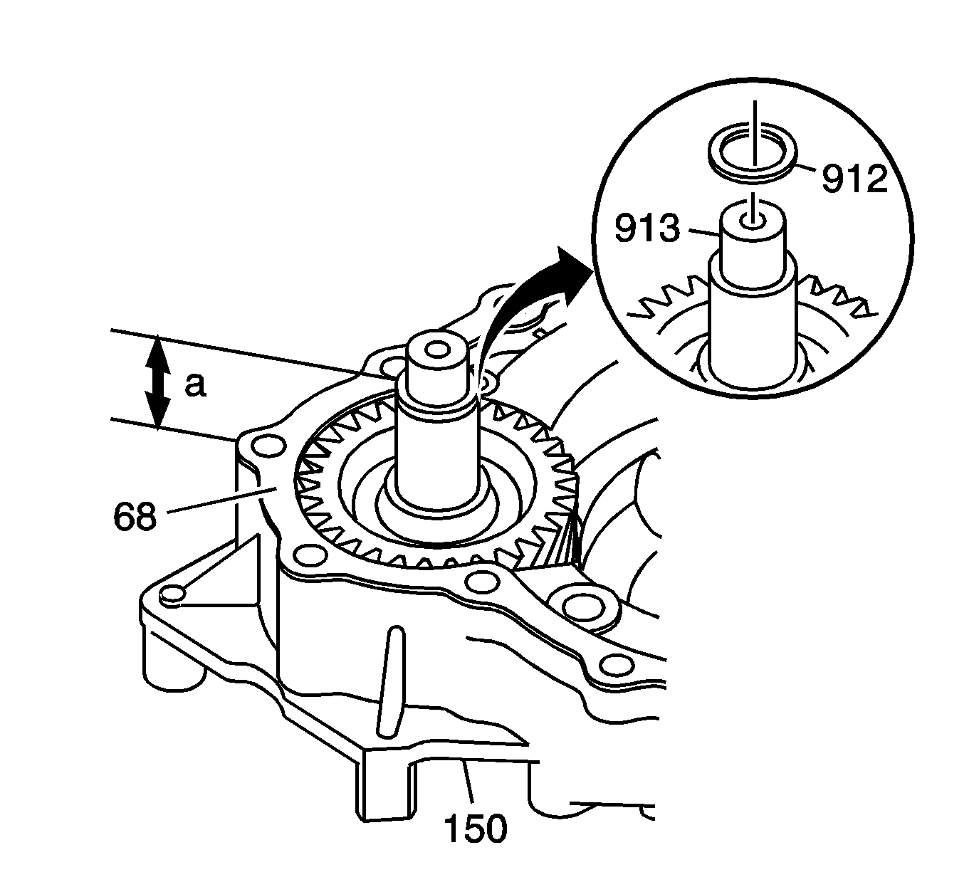
If any of the following components have been serviced or replaced, inspect the
installed height measurement to prevent internal damaged to the transaxle assembly.
| • | The transfer case input gear assembly (918) |
| • | The transfer case input gear bearing (911) |
| • | The transfer case input gear bearing (914) |
| • | The transmission case (31) |
| • | The torque converter housing (150) |
The transfer case input gear installed height measurement (a) can be
changed by replacing the transfer case driven gear with shaft, 28.5 mm selective
shim (912) as needed.
- Install the transfer case input gear assembly (913)
into the torque converter housing (150).
- Install a transfer case input gear 28.5 mm selective shim (912)
on top of the shaft (913).
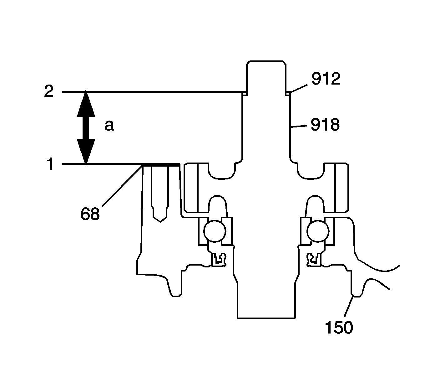
- Install a new torque converter housing gasket (68) on top of the
torque converter housing (150) ensuring to align the gasket with the two transmission
case locating pins.
- Measure the height (a) from the torque
converter housing gasket (1) and the top (2) of the transfer case input
gear 28.5 mm selective shim (912) in at least 3 places. Use the
average of the 3 measurements as the actual height.
Specification:
The height (a) is between 42.81-42.85 mm
(1.685-1.687 in)
- If the measurement is out of specification, remove the transfer case input
gear 28.5 mm selective shim (912) and measure its thickness.
- Select and install the correct transfer case input gear 28.5 mm
selective shim (912), and then measure the installation height again.