GM Service Manual Online
For 1990-2009 cars only
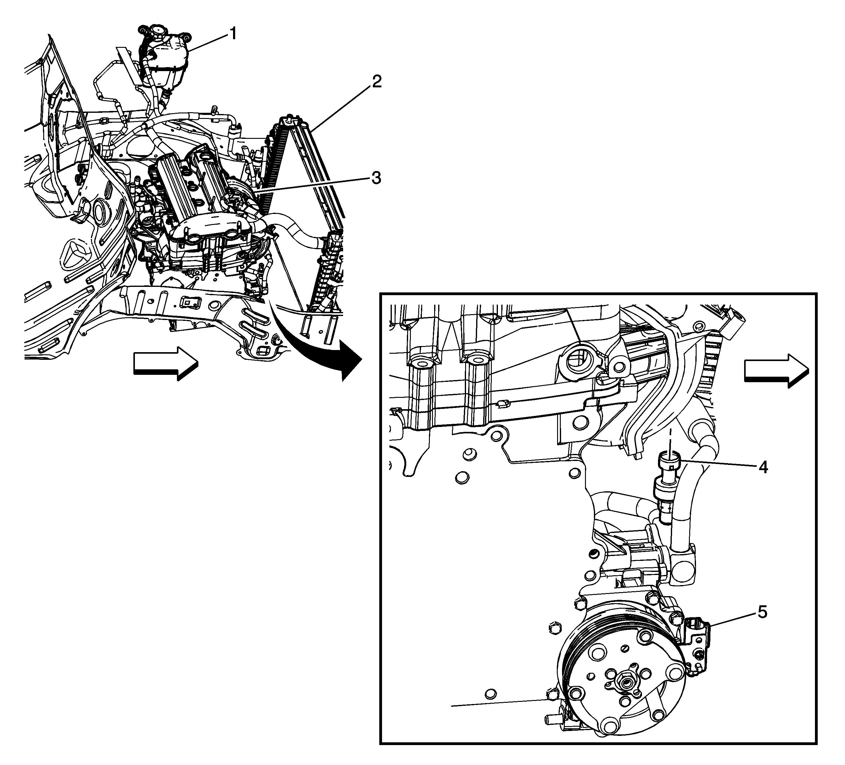
Figure 1:

Front Engine Compartment


Object Number: 1781945  Size: LF
(1)Surge Tank
(2)Radiator
(3)Engine - L61
(4)A/C Refrigerant Pressure Sensor
(5)A/C Compressor Clutch
Figure 2:

Instrument Panel Components


Object Number: 1781191  Size: LF
(1)Instrument Panel Cluster (IPC)
(2)Windshield Wiper/Washer Switch
(3)I/P Dimmer Control
(4)Hazard Switch
(5)Inflatable Restraint Front Passenger Presence System (PPS) Indicator
(6)Fog Lamp (T96) or Traction Control Switch (NW9)
(7)Ambient Light Sensor
(8)Inflatable Restraint I/P Module
(9)HVAC Control Module
(10)Cigar Lighter (DT4)
(11)Window Switch - Passenger
(12)Heated Seat Switches
(13)Window Switch - Driver
(14)Outside Rearview Mirror Switch (D22/DG7)
(15)Radio
(16)Steering Wheel Control Switch - Right (Radio)
(17)Inflatable Restraint Steering Wheel Module
(18)Steering Wheel Control Switch - Left (Cruise Control)
(19)Turn Signal/Multifunction Switch
Figure 3:

HVAC Module Components


Object Number: 1781964  Size: LF
(1)Mode Actuator - Floor
(2)Mode Actuator - Defrost
(3)Evaporator Temperature Sensor
(4)Mode Actuator - Panel
(5)Temperature Actuator
(6)Recirculation Actuator
(7)Blower Motor
(8)Blower Motor Resistor Assembly
(9)C202