GM Service Manual Online
For 1990-2009 cars only
Connector 1: A/C Compressor Clutch (L61)
Connector 2: A/C Compressor Clutch (L66)
Connector 3: A/C Compressor Clutch (HP7)
Connector 4: A/C Refrigerant Pressure Sensor (L61)
Connector 5: A/C Refrigerant Pressure Sensor (L66)
Connector 6: A/C Refrigerant Pressure Sensor (HP7)
Connector 7: Blower Motor Resistor
Connector 8: Evaporator Temperature Sensor
Connector 9: Heater Coolant Pump (HP7)
Connector 10: HVAC Blower Motor
Connector 11: HVAC Control Module C1
Connector 12: HVAC Control Module C2
Connector 13: Mode Actuator - Defrost
Connector 14: Mode Actuator - Floor
Connector 15: Mode Actuator - Panel
Connector 16: Recirculation Actuator
Connector 17: Temperature Actuator

A/C Compressor Clutch (L61)


Object Number: 1553026  Size: CH

Connector Part Information

  • OEM: XW4T-14A624-AA
  • Service: See Catalog
  • Description: 2-Way F (BK)

A/C Compressor Clutch (L61)

Pin

Wire Color

Circuit No.

Function

1

D-GN

59

A/C Compressor Clutch Supply Voltage

2

BK

150

Ground

A/C Compressor Clutch (L66)


Object Number: 1332630  Size: CH

Connector Part Information

  • OEM: 13008219
  • Service: See Catalog
  • Description: 2-Way F (BK)

A/C Compressor Clutch (L66)

Pin

Wire Color

Circuit No.

Function

1

D-GN

59

A/C Compressor Clutch Supply Voltage

2

BK

150

Ground

A/C Compressor Clutch (HP7)


Object Number: 1334534  Size: CH

Connector Part Information

  • OEM: 12162017
  • Service: 12101937
  • Description: 2-Way F Metri-Pack 150 Series Sealed (GY)

Terminal Part Information

  • Terminal/Tray: 12048074/2
  • Core/Insulation Crimp: E/1
  • Release Tool/Test Probe: 12094429/J-35616-2A (GY)

A/C Compressor Clutch (HP7)

Pin

Wire Color

Circuit No.

Function

A

D-GN

59

A/C Compressor Clutch Supply Voltage

B

BK

150

Ground

A/C Refrigerant Pressure Sensor (L61)


Object Number: 726824  Size: CH

Connector Part Information

  • OEM: 15344137
  • Service: See Catalog
  • Description: 3-Way F (BK)

A/C Refrigerant Pressure Sensor (L61)

Pin

Wire Color

Circuit No.

Function

1

BK

2751

Low Reference

2

GY

2700

5-Volt Reference

3

RD/BK

380

A/C Refrigerant Pressure Sensor Signal

A/C Refrigerant Pressure Sensor (L66)


Object Number: 1332628  Size: CH

Connector Part Information

  • OEM: 13008378
  • Service: See Catalog
  • Description: 3-Way F (BK)

A/C Refrigerant Pressure Sensor (L66)

Pin

Wire Color

Circuit No.

Function

1

YE/BU

605

5-Volt Reference A

2

GN/YE

2751

Low Reference

3

WH

380

A/C Refrigerant Pressure Sensor Signal

A/C Refrigerant Pressure Sensor (HP7)


Object Number: 1519475  Size: CH

Connector Part Information

  • OEM: 15477863
  • Service: 88988107
  • Description: 3-Way F GT 150 Series Sealed (BK)

Terminal Part Information

  • Terminal/Tray: 15326267/19
  • Core/Insulation Crimp: E/4
  • Release Tool/Test Probe: 15315247/J-35616-2A (GY)

A/C Refrigerant Pressure Sensor (HP7)

Pin

Wire Color

Circuit No.

Function

1

BK

2751

Low Reference

2

GY

2700

5-Volt Reference - 1

3

RD/BK

380

A/C Refrigerant Pressure Sensor Signal

Blower Motor Resistor


Object Number: 697053  Size: CH

Connector Part Information

  • OEM: 12129565
  • Service: See Catalog
  • Description: 4-Way F Metri-Pack 280 Series Sealed (GY)

Blower Motor Resistor

Pin

Wire Color

Circuit No.

Function

A

TN

63

Blower Motor Medium 1 Control

B

PU

73

Blower Motor High Control

C

L-BU

72

Blower Motor Medium 2 Control

D

YE

60

Blower Motor Low Control

Evaporator Temperature Sensor


Object Number: 635009  Size: CH

Connector Part Information

  • OEM: 12052641
  • Service: See Catalog
  • Description: 2-Way Metri-Pack 150 Series (BK)

Evaporator Temperature Sensor

Pin

Wire Color

Circuit No.

Function

A

GY

731

Evaporator Temperature Sensor Signal

B

PU

719

Low Reference

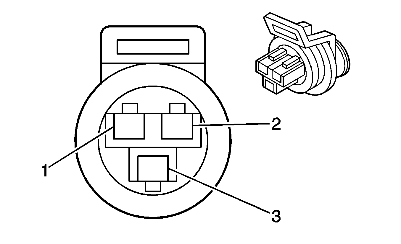
Heater Coolant Pump (HP7)


Object Number: 1721512  Size: CH

Connector Part Information

  • OEM: 15383327
  • Service: See Catalog
  • Description: 2-Way F (BK)

Terminal Part Information

  • Terminal/Tray: 15326267/19
  • Core/Insulation Crimp: E/4
  • Release Tool/Test Probe: 15315247/J-35616-2A (GY)

Heater Coolant Pump (HP7)

Pin

Wire Color

Circuit No.

Function

1

TN

2022

Coolant Pump Control

2

OG

2940

Battery Positive Voltage

HVAC Blower Motor


Object Number: 1283126  Size: CH

Connector Part Information

  • OEM: E6DB-14489-ALA
  • Service: See Catalog
  • Description: 2-Way F (BK)

HVAC Blower Motor

Pin

Wire Color

Circuit No.

Function

1

OG

1140

Battery Positive Voltage

2

PU

73

Blower Motor High Control

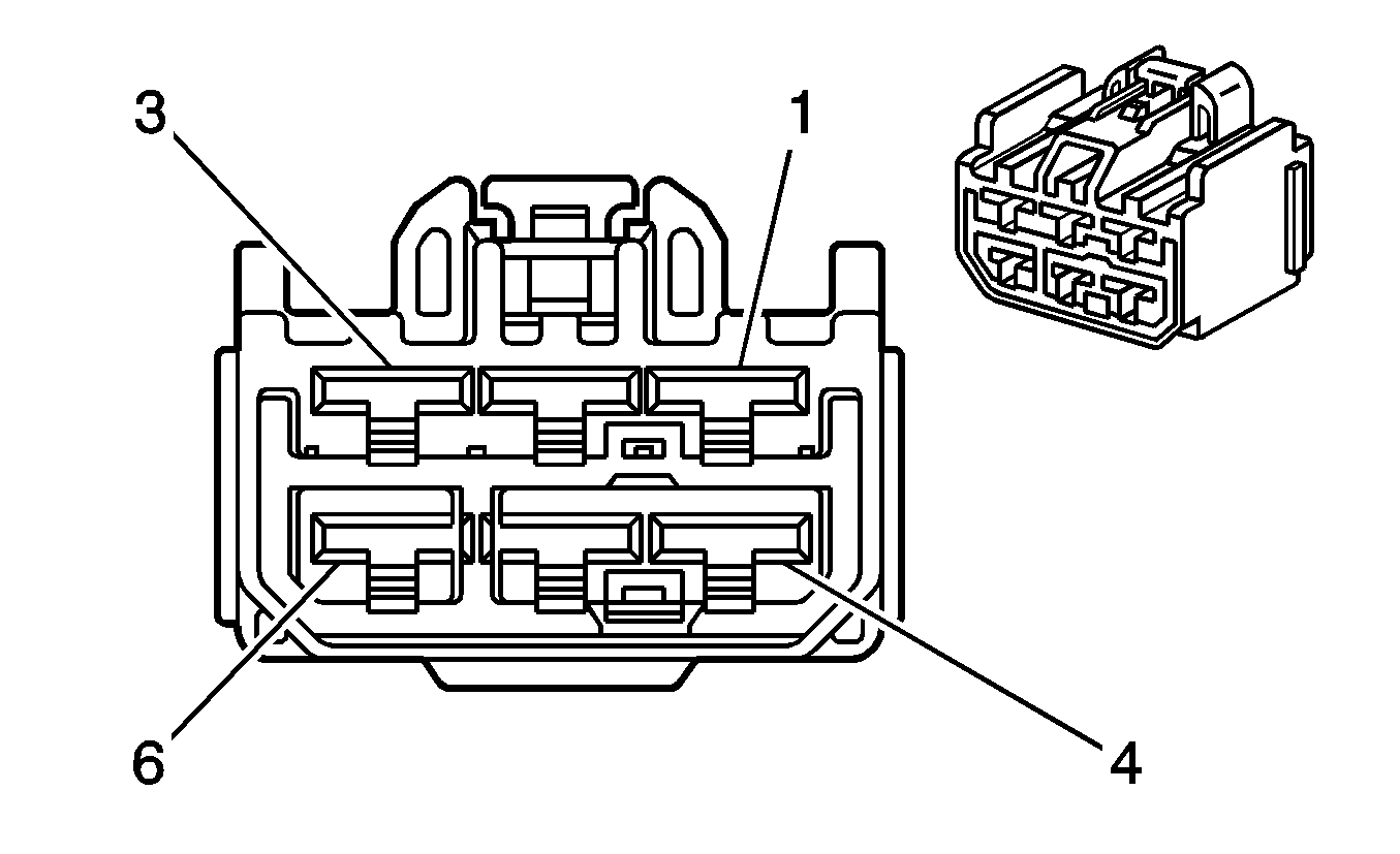
HVAC Control Module C1


Object Number: 1372291  Size: CH

Connector Part Information

  • OEM: 1318917-1
  • Service: See Catalog
  • Description: 24-Way F (WH)

HVAC Control Module C1

Pin

Wire Color

Circuit No.

Function

1

L-BU

292

Rear Defogger Switch Signal

2

L-GN/BK

1647

Recirculation Door Control B

3

PK/WH

1648

Recirculation Door Control A

4

PU

361

Defrost Mode Valve Solenoid Control A

5

PU/WH

3361

Defrost Mode Valve Solenoid Control B

6

L-GN

2210

Air Temperature Door Control - Cold

7

D-BU

1199

Air Temperature Door Control - Hot

8

GY

705

5-Volt Reference

9

WH

193

Rear Defogger Relay Control

10

L-GN

66

A/C Request Signal

11

GY

8

Park Lamp Supply Voltage

12

BK/WH

151

Ground

13

YE

60

Blower Motor Low Control - Redundant

14

L-GN/WH

366

Lower Mode Valve Solenoid Control A

15

L-GN/BK

3366

Lower Mode Valve Solenoid Control B

16

RD

362

Upper Mode Valve Solenoid Control A

17

OG/WH

3362

Upper Mode Valve Solenoid Control B

18

--

--

Not Used

19

L-BU

733

Air Temperature Door Position Signal

20

YE/BK

713

Defrost Mode Valve Position Sensor Signal

21

YE/BK

1814

Lower Mode Door Position Signal

22

RD

708

Mode Door Position Signal

23

BK

407

Low Reference

24

BN

41

Ignition 3 Voltage

HVAC Control Module C2


Object Number: 1282957  Size: CH

Connector Part Information

  • OEM: 7283-5591-40
  • Service: See Catalog
  • Description: 6-Way F (L-GY)

HVAC Control Module C2

Pin

Wire Color

Circuit No.

Function

1

PU

73

Blower Motor High Control

2

TN

63

Blower Motor Medium 1 Control

3

BN

7741

HVAC Blower Relay Control

4

YE

60

Blower Motor Low Control

YE

60

Blower Motor Low Control

5

--

--

Not Used

6

L-BU

72

Blower Motor Medium 2 Control

Mode Actuator - Defrost


Object Number: 280764  Size: CH

Connector Part Information

  • OEM: 12064993
  • Service: See Catalog
  • Description: 6-Way F Micro-Pack 100 Series (BK)

Mode Actuator - Defrost

Pin

Wire Color

Circuit No.

Function

5

PU

361

Defrost Mode Valve Solenoid Control A

6

PU/WH

3361

Defrost Mode Valve Solenoid Control B

7

--

--

Not Used

8

BK

407

Low Reference

9

YE/BK

713

Defrost Mode Valve Position Sensor Signal

10

GY

705

5-Volt Reference

Mode Actuator - Floor


Object Number: 280764  Size: CH

Connector Part Information

  • OEM: 12064993
  • Service: See Catalog
  • Description: 6-Way F Micro-Pack 100 Series (BK)

Mode Actuator - Floor

Pin

Wire Color

Circuit No.

Function

5

L-GN/WH

366

Lower Mode Valve Solenoid Control A

6

L-GN/BK

3366

Lower Mode Valve Solenoid Control B

7

--

--

Not Used

8

BK

407

Low Reference

9

YE/BK

1814

Lower Mode Door Position Signal

10

GY

705

5-Volt Reference

Mode Actuator - Panel


Object Number: 280764  Size: CH

Connector Part Information

  • OEM: 12064993
  • Service: See Catalog
  • Description: 6-Way F Micro-Pack 100 Series (BK)

Mode Actuator - Panel

Pin

Wire Color

Circuit No.

Function

5

RD

362

Upper Mode Valve Solenoid Control A

6

OG/WH

3362

Upper Mode Valve Solenoid Control B

7

--

--

Not Used

8

BK

407

Low Reference

9

RD

708

Mode Door Position Signal

10

GY

705

5-Volt Reference

Recirculation Actuator


Object Number: 280764  Size: CH

Connector Part Information

  • OEM: 12064993
  • Service: See Catalog
  • Description: 6-Way F Micro-Pack 100 Series (BK)

Recirculation Actuator

Pin

Wire Color

Circuit No.

Function

5

L-GN/BK

1647

Recirculation Door Control B

6

PK/WH

1648

Recirculation Door Control A

7-10

--

--

Not Used

Temperature Actuator


Object Number: 280764  Size: CH

Connector Part Information

  • OEM: 12064993
  • Service: See Catalog
  • Description: 6-Way F Micro-Pack 100 Series (BK)

Temperature Actuator

Pin

Wire Color

Circuit No.

Function

5

L-GN

2210

Air Temperature Door Control - Cold

6

D-BU

1199

Air Temperature Door Control - Hot

7

--

--

Not Used

8

BK

407

Low Reference

9

L-BU

733

Air Temperature Door Position Signal

10

GY

705

5-Volt Reference