GM Service Manual Online
For 1990-2009 cars only

Removal Procedure

Caution: Ensure that the vehicle is properly supported and squarely positioned. To help avoid personal injury when a vehicle is on a hoist, provide additional support for the vehicle on the opposite end from which the components are being removed.


    Object Number: 1884621  Size: SH
  1. Raise and suitably support the vehicle. Refer to Lifting and Jacking the Vehicle .
  2. Disconnect the fuel tank wiring harness electrical connector (1) from the evaporative emission (EVAP) canister vent solenoid valve.

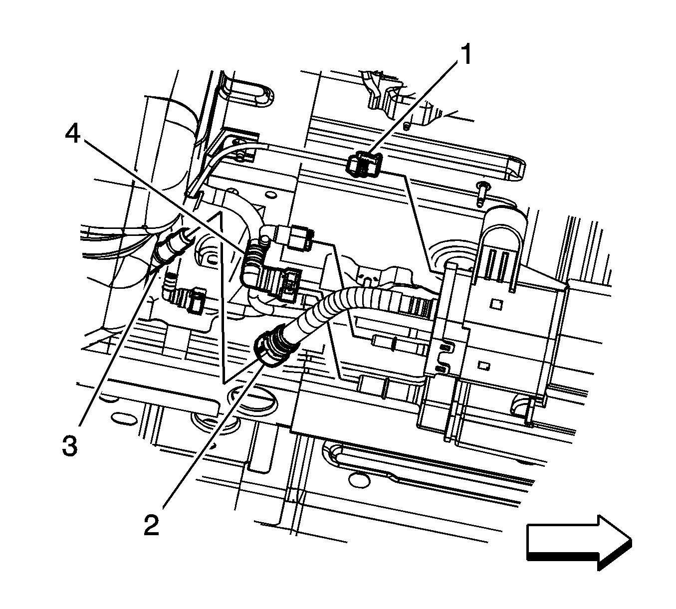
  3. Object Number: 1885584  Size: SH
  4. Disconnect the fuel tank vapor line quick connect fitting (4) from the EVAP canister. Refer to Plastic Collar Quick Connect Fitting Service .
  5. Disconnect the chassis EVAP line quick connect fitting (1) from the EVAP canister. Refer to Plastic Collar Quick Connect Fitting Service .
  6. Disconnect the EVAP canister line quick connect fitting (2) from the fuel tank fresh air line (3). Refer to Plastic Collar Quick Connect Fitting Service .

  7. Object Number: 1885884  Size: SH
  8. Remove the EVAP canisters nuts.
  9. Remove the canister from the vehicle underbody.

Installation Procedure


    Object Number: 1885884  Size: SH
  1. Position the EVAP canister to the underbody studs.
  2. Notice: Refer to Fastener Notice in the Preface section.

  3. Install the EVAP canister nuts.
  4. Tighten
    Tighten the nuts to 8 N·m (71 lb in).


    Object Number: 1885584  Size: SH
  5. Connect the EVAP canister line quick connect fitting (2) to the fuel tank fresh air line (3). Refer to Plastic Collar Quick Connect Fitting Service .
  6. Connect the fuel tank vapor line quick connect fitting (4) to the EVAP canister. Refer to Plastic Collar Quick Connect Fitting Service .
  7. Connect the chassis EVAP line quick connect fitting (1) to the EVAP canister. Refer to Plastic Collar Quick Connect Fitting Service .

  8. Object Number: 1884621  Size: SH
  9. Connect the fuel tank wiring harness electrical connector (1) to the EVAP canister vent solenoid valve.
  10. Lower the vehicle.