GM Service Manual Online
For 1990-2009 cars only

Tools Required

    • J 23327 Clutch Spring Compressor
    • J 41232 Return Spring Compressor
    • J 41097-1 Inner Seal Remover Adapter
    • J 41097-2 Inner Seal Remover Adapter Ring
    • J 25031-A Inner Seal Remover
    • J 4646 Pliers

    Object Number: 2179637  Size: SH
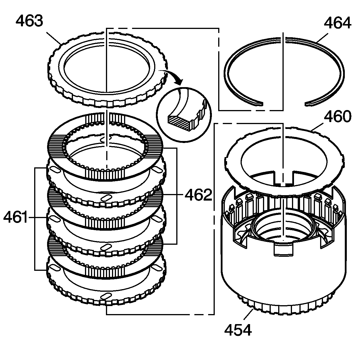
  1. Remove the reverse clutch snap ring (464).
  2. Remove the reverse clutch plates (one backing plate (463), three steel plates (461), three fiber plates (462), and a waved plate (460).

  3. Object Number: 20292  Size: SH
  4. Compress the reverse clutch return spring. Use the J 41232 and J 23327 or equivalent.
  5. Remove the reverse clutch return spring and the retainer snap ring (459).
  6. Remove the J 41232 and J 23327 .

  7. Object Number: 20842  Size: SH
  8. Remove the reverse clutch return spring and retainer assembly (458).
  9. Remove the reverse clutch piston and seal assembly (457).

  10. Object Number: 20293  Size: SH

    Important: If the seal assembly is not damaged do not remove the seal assembly.

  11. Inspect the reverse clutch inner seal (456).
  12. If the seal assembly is damaged, perform the following procedure in order to remove the seal assembly:
  13. 9.1. Use the J 4646 or equivalent in order to install the J 41097-1 under the outer lip of the reverse clutch inner seal (456).
    9.2. Place the J 41097-2 on the inner hub of the reverse clutch housing (454).
    9.3. Use the puller J 25031-A in order to remove the seal.

    Object Number: 20294  Size: SH

    Important: Be careful when removing the second roller clutch not to score the roller clutch inner race with the screwdrivers.

  14. Remove the 2nd roller clutch (452) and roller clutch retainer (450) by prying up on the roller clutch assembly with two screwdrivers. The second roller clutch retainer is pressed onto the reverse clutch housing (454) and is not reusable after removal.

  15. Object Number: 20296  Size: SH

    Important: In order to remove the 2nd roller clutch (452), rotate the roller clutch clockwise until indexed with the roller clutch cam (451) ramps.

  16. Remove the 2nd roller clutch (452) from the inside of the roller clutch cam (451).

  17. Object Number: 25516  Size: SH
  18. Inspect the reverse housing  (454) for excessive band wear and damaged splines.
  19. Inspect the retainer and ball capsule for damage or clogging.
  20. Inspect the fluid feed holes for proper opening.

  21. Object Number: 25510  Size: SH
  22. Inspect the roller clutch for excessive wear (451 and 452).
  23. Inspect the spring assembly for dislocated or damaged springs (458).
  24. Inspect all components for damage and excessive wear.
  25. Clean and dry each of the components.