| Connector 1: | Fuse Block - Auxiliary (HP7) Label |
| Connector 2: | Fuse Block - Auxiliary (HP7) Top View |
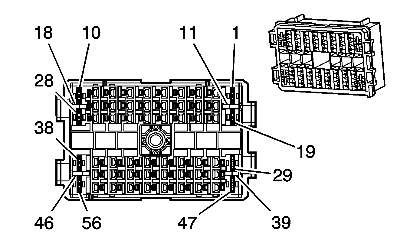
| Connector 3: | Fuse Block -- Auxiliary (HP7) Bottom View |
| Connector 4: | Fuse Block - Auxiliary (HP7) Connector |
| Connector 5: | Fuse Block - Underhood Label |
| Connector 6: | Fuse Block - Underhood Top View |
| Connector 7: | Fuse Block - Underhood Bottom View |
| Connector 8: | Fuse Block - Underhood X1 |
| Connector 9: | Fuse Block - Underhood X2 |
| Connector 10: | Fuse Block - Underhood X3 |
| Connector 11: | Fuse Block - Underhood X4 (Battery Positive Cable) |
| Connector 12: | Fuse Block - I/P Label |
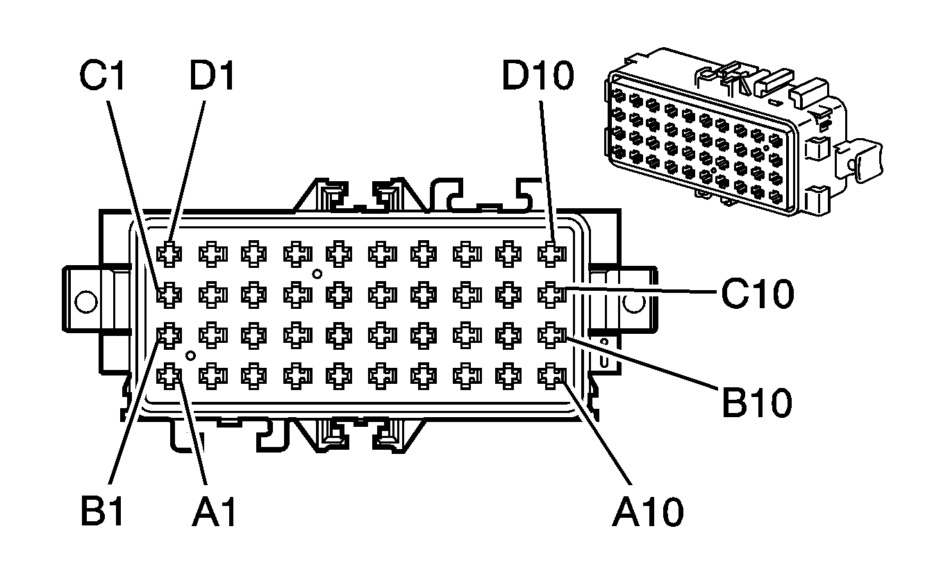
| Connector 13: | Fuse Block - I/P Top View |
| Connector 14: | Fuse Block - I/P Bottom View |
| Connector 15: | Fuse Block - I/P X1 |
| Connector 16: | Fuse Block - I/P X2 |
| Connector 17: | Inline Fuse - Electric Power Steering (EPS) (LAT/LE5) |
| Connector 18: | Junction Block - Battery Positive Cable (HP7 |
Device | Rating | Description |
|---|---|---|
AUX TRANSPUMP Fuse | 20A | Automatic Transmission Auxiliary Fluid Pump |
HILL HOLD VLVS Fuse | 10 | HILL HOLD VLVS Relay |
HYBRID PUMPS Fuse | 20A | Coolant Pump - Auxiliary |
AUX TRANSPUMP Relay | - - | Starter Generator Control Module (SGCM) |
HILL HOLD VLVS Relay | - - | Hill Hold Barke Delay Valves, Starter Generator Control Module (SGCM) |
Connector Part Information
|
Terminal Part Information
|
Pin | Wire | Circuit | Function |
|---|---|---|---|
A1 | -- | -- | Not Used |
A2 | 1 GY/WH | 5259 | Battery Positive Voltage |
A3 | -- | -- | Not Used |
A4 | 0.8 RD/WH | 3140 | Battery Positive Voltage |
A5 | 0.5 BN | 909 | Hill Hold Brake Delay Valves Relay Contact Output Voltage |
A6 | -- | -- | Not Used |
A7 | 0.35 PK | 639 | Ignition 1 Voltage |
A8 | 2 RD/BK | 42 | Battery Positive Voltage |
A9 | 0.5 RD/WH | 2940 | Battery Positive Voltage |
A10 | -- | -- | Not Used |
B1 | -- | -- | Not Used |
B2 | 0.5 PK/WH | 5537 | Automatic Transmission Auxiliary Fluid Pump Battery Voltage |
B3 | -- | -- | Not Used |
B4 | 0.8 RD/WH | 3140 | Battery Positive Voltage |
B5 | 0.35 GY | 990 | Hill Hold Brake Delay Valves Relay Control |
B6 | -- | -- | Not Used |
B7 | 0.5 RD/WH | 3240 | Battery Positive Voltage |
B8 | 2 RD/BK | 40 | Battery Positive Voltage |
B9 | 0.5 RD/WH | 3240 | Battery Positive Voltage |
B10 | -- | -- | Not Used |
C1-C7 | -- | -- | Not Used |
C8 | 2 RD/BK | 42 | Battery Positive Voltage |
C9 | 1 RD/WH | 3140 | Battery Positive Voltage |
C10 | -- | -- | Not Used |
D1-D10 | -- | -- | Not Used |
Device | Rating | Description |
|---|---|---|
4WD/ESCM Fuse | 15A | Battery Disconnect Switch (HP7), Evaporative Emissions Canister Vent Solenoid, Rear Differential Clutch Control Module, Starter Generator Control Module (SGCM) (HP7) |
ABS Fuse | 40A | Electronic Brake Control Module (EBCM) Motor |
ABS Fuse | 20A | Electronic Brake Control Module (EBCM) |
A/C CLTCH Fuse | 10A | A/C Compressor Clutch Relay |
AMP Fuse | 30A | Audio Amplifier |
BCM Fuse | 10A | Body Control Module (BCM) Voltage Sensing |
BLWR Fuse | 40A | HVAC Blower Motor Control Module |
DEFOG Fuse | 30A | Rear Window Defogger |
DRL Fuse | 15A | Daytime Running Lights Resistor |
ECM Fuse | 20A | Engine Control Module (ECM) |
ECM/TCM/SGCM Fuse | 15A | Engine Control Module (ECM), Transmission Control Module (TCM) and Starter Generator Control Module (SGCM) (HP7) |
ENG 1 Fuse | 15A | Evaporative Emissions Canister Purge Solenoid, Injector 1,Injector 2, Injector 3, Injector 4 (LAT), Injector 1, Injector 2, Injector 3, Injector4, Injector5, Injector6, (LZ4), Injector 1, Injector 3,Injector 5 (LY7) and Ignition Coil 1, Ignition Coil 3, Ignition Coil 5 (LY7) |
ENG 2 Fuse | 15A | Injectors 2, 4, 6 (LY7), Ignition Module (LZ4), Ignition Coil 1, Ignition Coil 2, Ignition Coil 3, Ignition Coil 4 (LAT) and Ignition Coil 2, Ignition Coil 4, Ignition Coil 6 (LY7) |
ENG 3 Fuse | 15A | Evaporative Emissions (EVAP) Canister Purge Solenoid Valve, Heated Oxygen Sensors (HO2S), Mass Air Flow (MAF) Intake Air Temperature (IAT) Sensor |
FAN AUX Fuse | 40A | Engine Cooling Fan - Right |
FAN MAIN Fuse | 40A | Engine Cooling Fan - Left |
FRT FOG Fuse | 20A | Fog Lamps |
HTD SEAT | 20A | Heated Seat Switch Driver, Heated Seat Switch Passenger |
HDLP HI LT Fuse | 10A | Headlamp - Left High Beam |
HDLP HI RT Fuse | 10A | Headlamp - Right High Beam |
HDLP LO LT Fuse | 10A | Headlamp - Left Low Beam |
HDLP LO RT Fuse | 10A | Headlamp - Right Low Beam |
HORN Fuse | 15A | HORN Relay |
HYBRID BEC Fuse | 30 | Fuse Block - Auxiliary (HP7) |
IP BECFuse | 60A | I/P Fuse Block - AIR BAG, AIRCON, AUX OUTLET1, AUX OUTLET 2, BCM(VB1), BCM(VB2), BCM(VB3), BCM(VB4), BCM(VB5), BCM(VB6), BCM(VB7), CIGAR, DRL, DR LOCK, F /DR LK, FSCM, IGNITION SW, MEMORY, ONSTAR, PROVISION, POWER SEAT, REAR CLOSURE, TRAILER STOP/TURN , WASHER Fuses; DRLOCK, DR UNLOCK, F/DR LK, FRT WASHER PUMPAND REAR CLOSURE Relays |
IP BEC Fuse | 40A | I/P Fuse Block Fuses - Airbag, Cluster, ECM/TCM, FSCM, ISRVM/RAIN, KEY CAPTURS, OSRVM, PROVISION, PWR WIN DRIV, PWR WIN PASS, SUNROOF, and the ACC/RAP, RUN/CRANK RelayS |
OSRVM HTR Fuse | 10 | Heated Washer Nozzle - Left, Heated Washer Nozzle - Right, Outside Rear View Mirror - Driver, Outside Rear View Mirror - Passenger |
REAR WPR Fuse | 20A | Rear Window Wiper Motor |
Run Fuse | 10A | I/P Fuse Block Ignition 2, Heated Seat Control Module - Driver, Heated Seat Control Module - Passenger, Haeted Seat Element - Driver Cushion, Haeted Seat Element - Driver Back,Haeted Seat Element - Passenger Cushion, Haeted Seat Element - Passenger Back |
STRTR Fuse | 20A | STARTER Relay |
STOP LP Fuse | 10A | Stop Lamp - Left, Stop Lamp - Right |
S/ROOF Fuse | 20 | Sunroof Control Module |
T/LAMP LT Fuse | 10A | Park/Turn Lamp - Left, Marker Lamp - Left Front and Tail Lamp - Left |
T/LAMP RT Fuse | 10A | Park/Turn Lamp - Right, Marker Lamp - Right Front and Tail Lamp - Right |
TRLR T/LAMP Fuse | 10A | Trailer Connector Adapter |
WPR Fuse | 25A | WIPER CONTROL Relay, Wiper Speed Relay |
Spare Fuse | 10A | Spare |
Spare Fuse | 15A | Spare |
Spare Fuse | 25A | Spare |
Relays | 30A | Spare |
A/C CLTCH Relay | -- | A/C Compressor Clutch |
DEFOG Relay | -- | Rear Window Defogger and Heating Fuse |
FAN AUX Relay | -- | Right Engine Cooling Fan |
FAN MAIN Relay | -- | Left Engine Cooling Fan |
FAN CNTRL Relay | -- | Right Engine Cooling Fan |
FRT FOG Relay | -- | FRT FOG Fuse |
HDLP HI Relay | -- | HDLP HI LT, HDLP HI RT Fuses |
HDLP LO Relay | -- | HDLP LO LT, HDLP LO RT, DRL Fuses |
HORN Relay | -- | Horn |
PWR/TRN Relay | -- | ECM, ENG1, ENG2, ENG3 Fuses |
Run Relay | -- | Run Fuse |
STRTR Relay | -- | Starter Motor |
STOP LP Relay | -- | STOP LP Fuse |
T/LAMP Relay | -- | T/LAMP LT Fuse, T/LAMP RT Fuse, TRLR T/LAMP Fuse |
WPR CNTRL Relay | -- | Windshield Wiper Motor |
WPR SPD Relay | -- | Wiper Motor Speed |
Connector Part Information
|
Terminal Part Information
|
Pin | Wire | Circuit | Function |
|---|---|---|---|
1 | 1 RD/WH | 2240 | Battery Positive Voltage |
2 | 0.5 RD/WH | 540 | Battery Positive Voltage |
3 | 0.8 D-GN | 392 | Rear Window Washer Pump Control |
4 | 0.5 WH | 1310 | EVAP Canister Vent Solenoid Control |
5 | 0.5 D-GN/WH | 465 | Fuel Pump Relay Control |
6 | 0.8 BN | 141 | Ignition 3 Voltage |
7 | 0.5 PK | 639 | Ignition 1 Voltage |
8 | 0.8 L-BU | 20 | Stop Lamp Supply Voltage |
9 | 2 PU | 293 | Rear Defog Element Supply Voltage |
10 | 1 RD/WH | 640 | Battery Positive Voltage (KA1) |
11 | -- | -- | Not Used |
12 | 0.5 BK/WH | 251 | Ground (LE5) |
13 | -- | -- | Not Used |
14 | 0.5 D-BU/WH | 1315 | Right Front Turn Signal Lamp Supply Voltage |
15 | 0.5 WH | 17 | Stop Lamp Switch Signal |
16 | 0.5 RD/WH | 2140 | Battery Positive Voltage |
17 | -- | -- | Not Used |
18 | 1 RD/WH | 440 | Battery Positive Voltage |
19 | -- | -- | Not Used |
20 | 0.35 YE | 5530 | Hood Open Switch Signal |
21 | 0.35 BN/WH | 419 | MIL Control |
22 | 0.35 D-BU | 5985 | Accessory Wakeup Serial Data |
23 | -- | -- | Not Used |
24 | 3 RD/WH | 240 | Battery Positive Voltage |
25 | 1 D-GN | 95 | Windshield Washer Switch Signal |
26 | -- | -- | Not Used |
27 | 0.5 GY | 589 | DRL Resistor Supply Voltage |
28 | -- | -- | Not Used |
29 | 0.8 D-BU/WH | 1315 | Right Front Turn Signal Lamp Supply Voltage |
30 | 0.8 RD/WH | 2140 | Battery Positive Voltage |
31 | 0.35 L-GN | 5486 | Run Relay Coil Control |
32 | 1 PU | 92 | Windshield Wiper Motor High Speed |
33 | -- | -- | Not Used |
34 | 0.8 L-BU/WH | 1314 | Left Front Turn Signal Lamp Supply Voltage |
35 | 0.35 TN | 860 | Front Windshield Wiper Switch High Signal |
36 | 0.35 TN/WH | 1969 | Headlamp High Beam Relay Control |
37 | 3 RD/WH | 3040 | Battery Positive Voltage |
38 | 0.35 TN | 28 | Horn Relay Control |
39 | 0.5 OG | 228 | Windshield Washer Pump Control |
40 | -- | -- | Not Used |
41 | 0.5 L-BU/WH | 1314 | Left Front Turn Signal Lamp Supply Voltage |
42 | 0.5 OG | 267 | Heated Mirror/Rear Defog Relay Coil Supply Voltage |
43 | 0.35 D-GN/WH | 1317 | Fog Lamp Relay Control |
44 | 5 RD/WH | 2040 | Battery Positive Voltage |
45 | 2 RD/WH | 940 | 5-Volt Reference (U61) |
46 | 0.35 WH | 193 | Rear Defog Relay Control |
47 | 0.35 TN/WH | 99 | Windshield Washer Fluid Level Signal |
48 | 6 RD/WH | 140 | Battery Positive Voltage |
49 | 0.35 OG | 267 | Heated Mirror/Rear Defog Relay Coil Supply Voltage |
50 | 0.35 OG | 267 | Heated Mirror/Rear Defog Relay Coil Supply Voltage |
51 | 0.5 PU | 709 | Left Park Lamp Supply Voltage |
52 | -- | -- | Not Used |
53 | 0.35 PK/WH | 1970 | Headlamp Low Beam Relay Control |
54 | 0.5 WH | 5065 | Stop Lamp Relay Coil Supply Voltage |
0.8 WH | 5065 | Stop Lamp Relay Coil Supply Voltage | |
55 | 0.35 PU | 5531 | Hood Closed Switch Signal |
56 | 0.35 GY | 91 | Windshield Wiper Switch Signal 2 |
57 | 0.5 BN | 5184 | Left Trailer Park Lamp |
58 | 0.35 D-BU | 45 | Park Lamp Supply Voltage |
59 | 0.5 BN/WH | 309 | Right Park Lamp Supply Voltage |
60 | 2 RD/WH | 2140 | Battery Positive Voltage |
Connector Part Information
|
Terminal Part Information
|
Pin | Wire | Circuit | Function |
|---|---|---|---|
1 | 3 L-BU | 409 | Cooling Fan Motor Supply Voltage |
2 | -- | -- | Not Used |
3 | 0.5 D-BU | 473 | High Speed Cooling Fan Relay Control |
4 | -- | -- | Not Used |
5 | 1 PK/BK | 5291 | Ignition 1 Voltage |
6 | 0.5 RD/WH | 40 | Battery Positive Voltage |
0.5 RD/WH | 40 | Battery Positive Voltage (LY7 or LZ4) | |
7 | 0.5 D-GN | 335 | Low Speed Cooling Fan Relay Control |
8 | 0.5 PK/BK | 5293 | Powertrain Main Relay Fused Supply (3) |
0.5 PK/BK | 5293 | Powertrain Main Relay Fused Supply (3) (LY7) | |
9 | 0.5 PK/BK | 5293 | Powertrain Main Relay Fused Supply (3) |
10 | -- | -- | Not Used |
11 | 1 PK/BK | 5292 | Ignition 1 Voltage (LAT/LE5/LY7) |
12 | 1 PK/BK | 5292 | Ignition 1 Voltage (LAT/LE5/LY7) |
13 | 1 PK/BK | 5291 | Ignition 1 Voltage |
14 | 1 PK/BK | 5291 | Ignition 1 Voltage (LY7) |
15 | 0.5 RD/WH | 40 | Battery Positive Voltage |
0.5 RD/WH | 40 | Battery Positive Voltage | |
16 | -- | -- | Not Used |
17 | 0.8 PK/BK | 6341 | Powertrain Relay Contact Signal |
18 | 0.8 PK/BK | 5293 | Powertrain Main Relay Fused Supply (3) |
0.5 PK/BK | 5293 | Powertrain Main Relay Fused Supply (3) (LY7/LZ4) | |
19 | -- | -- | Not Used |
20 | 1 PK/BK | 5292 | Ignition 1 Voltage |
21 | 1 PK/BK | 5292 | Ignition 1 Voltage (LAT/LE5/LY7) |
22 | 0.5 PK/BK | 5291 | Ignition 1 Voltage (LY7) |
23-24 | -- | -- | Not Used |
25 | 0.5 BN/WH | 419 | MIL Control |
26 | 0.5 D-BU | 5985 | Accessory Wakeup Serial Data |
0.35 D-BU | 5985 | Accessory Wakeup Serial Data | |
27 | 0.5 PK/BK | 5293 | Powertrain Main Relay Fused Supply (3) (LY7/LZ4) |
28 | -- | -- | Not Used |
29 | 3 GY | 532 | Cooling Fan Motor Supply Voltage |
30-34 | -- | -- | Not Used |
35 | 0.5 PK | 639 | Ignition 1 Voltage |
0.5 PK | 639 | Ignition 1 Voltage | |
36 | 0.5 WH | 17 | Stop Lamp Switch Signal or Stop Lamp Supply Voltage |
0.5 WH | 17 | Stop Lamp Switch Signal or Stop Lamp Supply Voltage | |
37 | 0.5 YE | 5991 | Powertrain Relay Coil Control |
38-40 | -- | -- | Not Used |
41 | 0.5 BK/WH | 251 | Ground (LE5) |
42 | 0.5 D-GN/WH | 465 | Fuel Pump Relay Control |
43 | -- | -- | Not Used |
44 | 0.5 PK | 639 | Ignition 1 Voltage |
45 | 0.5 PU/WH | 6386 | Starter Enable Relay (PPEI 3) Control |
46 | 0.5 D-GN/WH | 459 | A/C Compressor Clutch Relay Control |
47 | 3 WH | 504 | Cooling Fan Low Reference (LY7/LZ4) |
48-49 | -- | -- | Not Used |
50 | 0.5 WH | 1310 | EVAP Canister Vent Solenoid Control |
51 | -- | -- | Not Used |
52 | 0.5 D-GN | 59 | A/C Compressor Clutch Supply Voltage |
53 | 0.5 PK | 639 | Run/Crank Ignition 1 Voltage (LAT/LE5) |
54 | 0.5 BK/WH | 251 | Ground |
55 | -- | -- | Not Used |
56 | 2 PU | 6 | Starter Solenoid Crank Voltage |
Connector Part Information
|
Terminal Part Information
|
Pin | Wire | Circuit | Function |
|---|---|---|---|
1-2 | -- | -- | Not Used |
3 | 0.5 PU | 34 | Fog Lamps Supply Voltage (T37/T96) |
4 | 0.5 D-GN/WH | 711 | Left Headlamp High Beam Supply Voltage |
5-9 | -- | -- | Not Used |
10 | 3 BK | 150 | Ground |
11 | 0.5 PU | 709 | Left Park Lamp Supply Voltage |
12-19 | -- | -- | Not Used |
20 | 0.5 BN/WH | 309 | Right Park Lamp Supply Voltage |
0.5 BN/WH | 309 | Right Park Lamp Supply Voltage | |
21-26 | -- | -- | Not Used |
27 | 0.5 YE | 712 | Left Headlamp Low Beam Supply Voltage |
28-30 | -- | -- | Not Used |
31 | 0.5 L-BU/WH | 1314 | Left Front Turn Signal Lamp Supply Voltage |
32-33 | -- | -- | Not Used |
34 | 0.5 GY | 589 | DRL Resistor Supply Voltage |
35 | 0.5 D-GN | 29 | Horn Control |
36 | 0.5 D-GN | 29 | Horn Control |
37 | 0.5 TN/WH | 312 | Right Headlamp Low Beam Supply Voltage |
38-40 | -- | -- | Not Used |
41 | 0.5 D-BU/WH | 1315 | Right Front Turn Signal Lamp Supply Voltage |
42 | 0.35 TN/WH | 99 | Windshield Washer Fluid Level Signal |
43 | 0.5 OG | 228 | Windshield Washer Pump Control |
44 | -- | -- | Not Used |
45 | 0.35 YE | 5530 | Hood Open Switch Signal |
46 | 0.5 L-GN/BK | 311 | Right Headlamp High Beam Supply Voltage |
47-49 | -- | -- | Not Used |
50 | 0.35 PU | 5531 | Hood Closed Switch Signal |
51 | 0.8 D-GN | 392 | Rear Window Washer Pump Control |
52-54 | -- | -- | Not Used |
55 | 0.5 GY | 589 | DRL Resistor Supply Voltage |
56 | -- | -- | Not Used |
Terminal Part Information
|
Fuse Block - Underhood X4 (Battery Positive Cable) | Wire | Circuit | Function |
|---|---|---|---|
+ | 19 | 1 | Battery Positive Voltage |
8 | 1 | Battery Positive Voltage -- Electric Power Steering (LE5/LAT) |
Device | Rating | Description |
|---|---|---|
AIRBAG Fuse | 10A | Inflatable Restraint I/P Module Indicator (AOS), Inflatable Restraint Sensing and Diagnostic Module (SDM) |
AIRBAG Fuse | 10A | Inflatable Restraint Sensing and Diagnostic Module (SDM), |
AIRCON Fuse | 15A | Data Link Connector (DLC), FATC/AIR CON, Rear Seat Audio, Rear Seat Entertainment, XM Radio Receiver |
APO1 Fuse | 20A | Accessory Power Outlet - Center Console |
APO2 | 20A | Accessory Power Outlet - Rear |
AUDIO Fuse | 15A | AUDIO System, Instrument Cluster, Remote Control Door Lock Receiver (RCDLR), Security LED, Universal Garage Door Opener (UGDO) |
BCM (VB1) Fuse | 10A | Body Control Module (BCM) |
BCM (VB2) Fuse | 10A | BCM (INADVERT/CTSY LMP PWR) |
BCM (VB3) Fuse | 10A | BCM (LH TURNHZD) |
BCM (VB4) Fuse | 10A | BCM (BACKUP/STOP) |
BCM (VB5) Fuse | 10A | BCM (Courtesy lamps, WASHER PUMP) |
BCM (VB6) Fuse | 10A | BCM (RH TURN/HZD) |
BCM (VB7) Fuse | 10A | BCM (DIM PWR) |
CIGAR Fuse | 20A | Cigar Lighter |
CLUSTER Fuse | 10A | Instrument Cluster, AOS Display |
DRL Fuse | 15A | HDLP Low Relay |
DR LCK Fuse | 25A | Door Lock Motor |
ECM/TCM Fuse | 10A | Engine Control Module (ECM), Transmission Control Module (TCM), FRT Fog Relay |
F/DR LCK Fuse | 15A | Front Driver Door Lock |
FSCM Fuse | 10A | Fuel System Control Module |
FSCM Fuse | 20A | Fuel System Control Module |
IGN SW Fuse | 2A | Ignition Switch, Immobilizer |
ISRVM Fuse | 10A | Compass,Inside Rearview Mirror, Rain Sensor |
KEY CAP Fuse | 10A | Key Capture Solenoid, Park Switch |
ONSTAR Fuse | 10A | ONSTAR Module |
OSRVM Fuse | 2A | Outside Rearview Mirror Switch |
PWR WIN DRIV Fuse | 20A | Driver Side Power Window |
PWR WIN PASS Fuse | 30A | Passenger Side Power Window |
PWR SEAT Fuse | 20A | Power Seat |
RR CLR Fuse | 10A | Liftgate Latch Assembly Power Release |
S/ROOF Fuse | 10A | Sunroof Module |
TRL Fuse | 15A | Trailer Stop/Turn Module |
WASHER Fuse | 10A | Washer Pump |
WHL SW Fuse | 2 A | Steering Wheel Switch |
Spare Fuse | ||
Spare Fuse | ||
Spare Fuse | ||
Spare Fuse | ||
Fuse Remover | ||
RELAYS | ||
ACC/RAP Relay | -- | KEY CAP, OSRVM, DRIV PWR WIN , PASS PWR WIN and S/ROOF Fuses |
DRL Relay | -- | HDLP LO Relay |
DR LOCK Relay | -- | Door Lock Motor Control |
DR UNLOCK Relay | -- | Door Unlock Motor |
F/DR LCK Relay | -- | Front Driver Door Lock, Fuel Door Actuator |
FRT WASHER PUMP Relay | -- | Front Washer Pump |
REAR CLOSURE Relay | -- | Rear Closure Fuse |
RUN/CRANK Relay | -- | Airbag, Cluster, ECM/TCM, FSCM, ISRVM Fuses |
Connector Part Information
|
Terminal Part Information
|
Pin | Wire | Circuit | Function |
|---|---|---|---|
1 | 2 YE | 643 | Accessory Voltage |
2 | -- | -- | Not Used |
3 | 0.35 TN | 28 | Horn Relay Control |
4 | 0.5 GY | 589 | DRL Resistor Supply Voltage |
5 | 0.35 L-BU | 1344 | Trunk Release Relay Control |
6 | 0.35 BN | 253 | Trunk Release Relay Control |
7 | 0.5 RD/WH | 1840 | Battery Positive Voltage (UUC) |
0.5 RD/WH | 1840 | Battery Positive Voltage (UUC) | |
8 | 0.35 BN | 41 | Ignition 3 Voltage (KA1) |
0.35 BN | 41 | Ignition 3 Voltage (KA1) | |
9-10 | -- | -- | Not Used |
11 | 0.35 TN | 28 | Horn Relay Control |
12 | -- | -- | Not Used |
13 | 5 RD/WH | 2040 | Battery Positive Voltage |
14 | 0.8 RD/WH | 3140 | Battery Positive Voltage |
15 | 0.5 RD/WH | 1840 | Battery Positive Voltage (U2K) |
16 | 0.35 BN | 41 | Ignition 3 Voltage (AE8) |
17 | 2 YE | 743 | Accessory Voltage |
2 YE | 743 | Accessory Voltage | |
18 | 0.35 PK | 239 | Ignition 1 Voltage |
19 | 0.5 PK | 339 | Ignition 1 Voltage |
20 | 0.5 OG | 228 | Windshield Washer Pump Control |
21 | 0.8 RD/WH | 1240 | Battery Positive Voltage |
22 | -- | -- | Not Used |
23 | 0.5 L-BU | 6128 | Rear Closure Unlatch Motor Unlatch Control |
24 | 0.8 BN | 141 | Ignition 3 Voltage |
25 | 0.35 YE | 5199 | Run/Crank Relay Coil Control |
26-27 | -- | -- | Not Used |
28 | 0.8 RD/WH | 1340 | Battery Positive Voltage |
29-30 | -- | -- | Not Used |
31 | 0.35 TN | 755 | RAP Relay Coil Control |
32 | 0.5 PK | 639 | Ignition 1 Voltage |
33 | 0.35 L-GN/BK | 592 | DRL Relay Control |
34 | 0.8 RD/WH | 1440 | Battery Positive Voltage |
35 | -- | -- | Not Used |
36 | 0.5 RD/WH | 1940 | Battery Positive Voltage |
37 | 0.8 RD/WH | 2640 | Battery Positive Voltage |
38 | -- | -- | Not Used |
39 | 0.8 RD/WH | 2840 | Battery Positive Voltage |
40-41 | -- | -- | Not Used |
42 | 0.8 RD/WH | 1540 | Battery Positive Voltage |
43 | 0.35 OG | 2268 | Windshield Washer Relay Control |
44 | 2 RD/WH | 2940 | Battery Positive Voltage |
45 | 0.35 YE | 143 | Accessory Voltage |
46 | 0.5 YE | 343 | Accessory Voltage |
47 | 0.5 GY | 295 | Door Lock Actuator Lock Control |
48 | 6 RD/WH | 140 | Battery Positive Voltage |
49 | 0.5 TN | 294 | Door Lock Actuator Unlock Control |
50 | 0.5 RD/WH | 2540 | Battery Positive Voltage |
51 | 0.8 RD/WH | 2740 | Battery Positive Voltage |
52 | 2 RD/WH | 440 | Battery Positive Voltage (AE8) |
53 | -- | -- | Not Used |
54 | 0.35 L-BU | 5921 | Driver Door Unlock Relay Control |
55 | 0.5 TN | 694 | Driver Door Lock Actuator Unlock Control |
56 | 0.35 L-BU | 195 | Door Lock Control |
57 | 0.8 BK | 450 | Ground |
58 | 0.35 WH | 194 | Door Unlock Control |
59-60 | -- | -- | Not Used |
Connector Part Information
|
Terminal Part Information
|
Pin | Wire | Circuit | Function |
|---|---|---|---|
1-2 | -- | -- | Not Used |
3 | 0.35 YE | 1491 | Backlight Lamps Control |
4 | 0.35 YE/BK | 9088 | Steering Wheel Controls Dimming Power |
5-9 | -- | -- | Not Used |
10 | 0.35 PK | 439 | Ignition 1 Voltage |
11 | 0.35 PK | 139 | Ignition 1 Voltage |
12-13 | -- | -- | Not Used |
14 | 0.35 RD/WH | 740 | Battery Positive Voltage |
15 | 0.5 RD/WH | 740 | Battery Positive Voltage |
16-17 | -- | -- | Not Used |
18 | 0.35 YE | 243 | Accessory Voltage (ME7/MH2/MH4/MN5) |
19-21 | -- | -- | Not Used |
22 | 0.35 RD/WH | 1740 | Battery Positive Voltage |
23-24 | -- | -- | Not Used |
25 | 0.35 PK | 139 | Ignition 1 Voltage |
26-28 | -- | -- | Not Used |
29 | 0.35 RD/WH | 1740 | Battery Positive Voltage |
30 | 0.8 RD/WH | 1040 | Battery Positive Voltage |
31-34 | -- | -- | Not Used |
35 | 1 RD/WH | 1940 | Battery Positive Voltage |
36 | 0.8 RD/WH | 1640 | Battery Positive Voltage |
37-40 | -- | -- | Not Used |
41 | 0.5 RD/WH | 1940 | Battery Positive Voltage |
42 | 0.8 RD/WH | 1140 | Battery Positive Voltage |
43-48 | -- | -- | Not Used |
49 | 0.5 RD/WH | 1940 | Battery Positive Voltage |
50 | 0.5 RD/WH | 1840 | Battery Positive Voltage |
51 | 0.5 BN | 41 | Ignition 3 Voltage |
52-53 | -- | -- | Not Used |
54 | 0.35 TN | 28 | Horn Relay Control |
55-56 | -- | -- | Not Used |
57 | 0.5 RD/WH | 1940 | Battery Positive Voltage |
58 | 0.5 RD/WH | 1840 | Battery Positive Voltage |
59 | 0.5 BN | 41 | Ignition 3 Voltage |
60 | -- | -- | Not Used |
Connector Part Information
|
Terminal Part Information
|
Pin | Wire | Circuit | Function |
|---|---|---|---|
1 | 8 RD | 1 | Battery Positive Voltage |
2 | 8 RD/BK | 42 | Battery Positive Voltage |
Terminal Part Information
|
Pin | Wire | Circuit | Function |
|---|---|---|---|
+ | 32 RD | 1 | Battery Positive Voltage |
8 RD | 1 | Battery Positive Voltage |