GM Service Manual Online
For 1990-2009 cars only

This vehicle has two different types of ignition lock cylinders based on what type of steering column the vehicle is equipped with. The electric power steering (EPS) option, usually found on 4 cylinder models, and the non EPS, usually found on 6 cylinder models, use different ignition lock cylinder designs.

Ignition Lock Cylinder - Non EPS

The non EPS ignition lock cylinder uses 8 of the 10 key cut positions, 1-8 when counting from the key head. The tumbler orientations alternate in adjacent locations from side to side with 4 tumblers on each side.


    Object Number: 1978209  Size: SH

    Important: The ignition lock cylinder tumblers (1) are not self retaining and must be held in place if the key is not fully inserted in the lock cylinder (2), or until the lock cylinder (2) is assembled into the case assembly (5).

  1. Hold the uncoded cylinder assembly (2) positioned so the side with the security plug (3) faces to the left of the key head.
  2. Insert one tumbler spring (7) into each of the 4 tumbler spring holes.
  3. The first tumbler (1) to be loaded will be key cut position 1, the first number in the key code. Install this tumbler in the tumbler slot closest to the head of the lock cylinder (2), the end where the key is inserted.
  4. Advancing one tumbler slot at a time, install tumblers 3, 5, and 7 sequentially on the same side as tumbler 1.
  5. Turn the lock cylinder over and insert one tumbler spring (7) into each of the 4 tumbler spring holes on the opposite side of the lock cylinder.
  6. Insert tumbler 2 into the tumbler slot closest to the head of the lock cylinder (2), the end where the key is inserted.
  7. Advancing one tumbler slot at a time, install tumblers 4, 6, and 8 sequentially on the same side as tumbler 2.
  8. Check for correct tumbler loading by holding the tumblers (1) in position and inserting the correct key into the lock cylinder. All tumblers (1) should be flush with the housing of the lock cylinder.
  9. Lightly lubricate the tumblers and small detent recessed areas the tumblers are in with GM Super Lube GM P/N 12346241 or equivalent light lithium grease.
  10. Insert the key into the coded lock cylinder (2) and hold the lock cylinder positioned so the side with the security plug (3) faces to the left of the key head.

  11. Object Number: 1978220  Size: SH
  12. Hold the ignition lock housing positioned so the security plug actuator lever (3) also faces to the right of the key head.
  13. Push the exposed end of the security plug actuator lever (3) toward the center of the lock cylinder housing (1) and hold it. Insert the coded lock cylinder (2) with the key in it into the ignition lock cylinder housing (1) until the cap is flush with the housing.
  14. Rotate the keyed lock cylinder counterclockwise slightly until it stops and detents outward slightly. The key should be able to be removed and the lock cylinder should remain in the housing.

  15. Object Number: 1978222  Size: SH
  16. Install the retaining clip (1) onto the coded lock cylinder where it comes out of the back of the lock cylinder housing.

  17. Object Number: 1978209  Size: SH
  18. Install the trim cap (4) on the ignition lock assembly.

Ignition Lock Cylinder - EPS

The ignition lock cylinder used 7 of the 10 key cut positions, 4-10 when counting from the key head. The tumbler (3) orientations alternate in adjacent locations from side to side with 3 on one side and 4 on the other.

Special Tools

BO-47869 Lock Cylinder Staking Tool


    Object Number: 1814300  Size: SH

    Caution: Wear safety glasses in order to avoid eye damage.

    Important: The ignition lock cylinder tumblers (3) are not self-retaining and must be held in place if the key is not fully inserted into the lock cylinder.

  1. Hold the uncoded cylinder plug (5) positioned so the side with the sidebar slot is facing to the left and the 3 spring holes are on top.
  2. Insert one tumbler spring (7) each into the 3 tumbler spring holes.
  3. The first tumbler to be loaded will be key cut position number 5, the fifth number in the key code. Determine the cut depth at this position and install the corresponding tumbler (8) into the tumbler slot second from the front of the cylinder plug (5) (the end where the key is inserted).
  4. In the same manner, determine the cut depth and corresponding tumbler and install the 2 remaining tumblers (8) into the tumbler slots located at key cut positions 7 and 9.
  5. Check for correct loading by holding the tumblers (8) in position and fully inserting the matching key into the cylinder plug (5). All tumblers should be flush with the outside diameter of the cylinder plug.
  6. Rotate the cylinder plug (5) so that the side with the sidebar slot is facing to the right and then remove the matching key. Remember the tumblers (8) are not self-retaining and must be held in place.
  7. Insert one tumbler spring (7) each into the 4 tumbler spring holes.
  8. The first tumbler to be loaded will be key cut position number 4. Determine the cut depth at this position and install the corresponding tumbler (8) into the tumbler slot nearest the front of the cylinder plug (5).
  9. In the same manner, determine the cut depth and corresponding tumbler and install the 3 remaining tumblers (8) into the slots located at key cut positions 6, 8, and 10.
  10. Check for correct loading by holding the tumblers (8) in position and fully inserting the matching key into the cylinder plug assembly (5). All tumblers should be flush with the outside diameter of the cylinder plug.
  11. Lightly lubricate tumbler (8) surfaces using the lubrication provided.
  12. Hold the cylinder plug (5) positioned so the side with the sidebar slot is facing to the left. Insert the U-shaped plunger shaft (6) into the grooves on the right side of the cylinder plug.
  13. Install the cylinder plug assembly (5) into the cylinder sleeve assembly (4). There is a slight interference fit between the cylinder plug and the cylinder sleeve assembly, so be sure that the cylinder plug is fully seated into the bottom of the cylinder sleeve. The cylinder plug should be slightly below flush with the inner face of the cylinder sleeve. Once the cylinder plug assembly is fully installed into the cylinder sleeve assembly, the tumblers (8) will be fully enclosed and retained.

  14. Object Number: 1814295  Size: SH
  15. Install the actuator (11) into the pocket in the front face of the cylinder plug.
  16. Install the security plate (10) on top of the cylinder plug in the cylinder sleeve assembly.
  17. Notice: Refer to Fastener Notice in the Preface section.


    Object Number: 1814301  Size: SH
  18. Securely stake the security plate (10) into the cylinder sleeve assembly (4). Assemble the cylinder sleeve assembly and security plate. When loading cylinder sleeve assembly into the BO-47869 , ensure staking cup number 12 is positioned cup toward cylinder sleeve. Secure assembled BO-47869 in a vise. Rotate the forcing screw (13) in order to uniformly stake the cylinder sleeve material over the security plate.
  19. Tighten
    Tighten the forcing screw (13) to 23-28 N·m (17-21 lb ft). Once the security plate has been staked to the assembly, ensure the actuator can rotate freely inside the assembly by inserting a key and removing it.


    Object Number: 1814300  Size: SH
  20. Install and stake the cover (9) onto the head of the cylinder sleeve assembly (4) by crimping the cover material in 4 places into the pockets around the head of the cylinder sleeve. Ensure the cover is securely held onto the cylinder sleeve and that the key can be inserted into the cylinder sleeve assembly through the slot in the cover.
  21. Install the sidebar (3) into the cylinder sleeve assembly (4).
  22. Install the 2 sidebar springs (2) into the cylinder sleeve assembly (4).
  23. Install the stake and the 2 sidebar spring retainers (1) onto the cylinder sleeve assembly (4) by crimping the material on the cylinder sleeve onto the sidebar spring retainers. Ensure the sidebar spring retainers are securely attached to the cylinder sleeve.
  24. Insert the matching key into the cylinder assembly and confirm the following:
  25. 21.1. The sidebar drops to be flush or below flush with the outer diameter of the cylinder sleeve (4) when the matching key is fully inserted into the cylinder assembly.
    21.2. The sidebar protrudes out of the diameter of the cylinder sleeve when the matching key is removed from the cylinder assembly.
    21.3. With the matching keys installed, the plunger protrudes to be flush or almost flush with the rear of the cylinder sleeve.
  26. Install the ignition cylinder assembly into the steering column of the vehicle

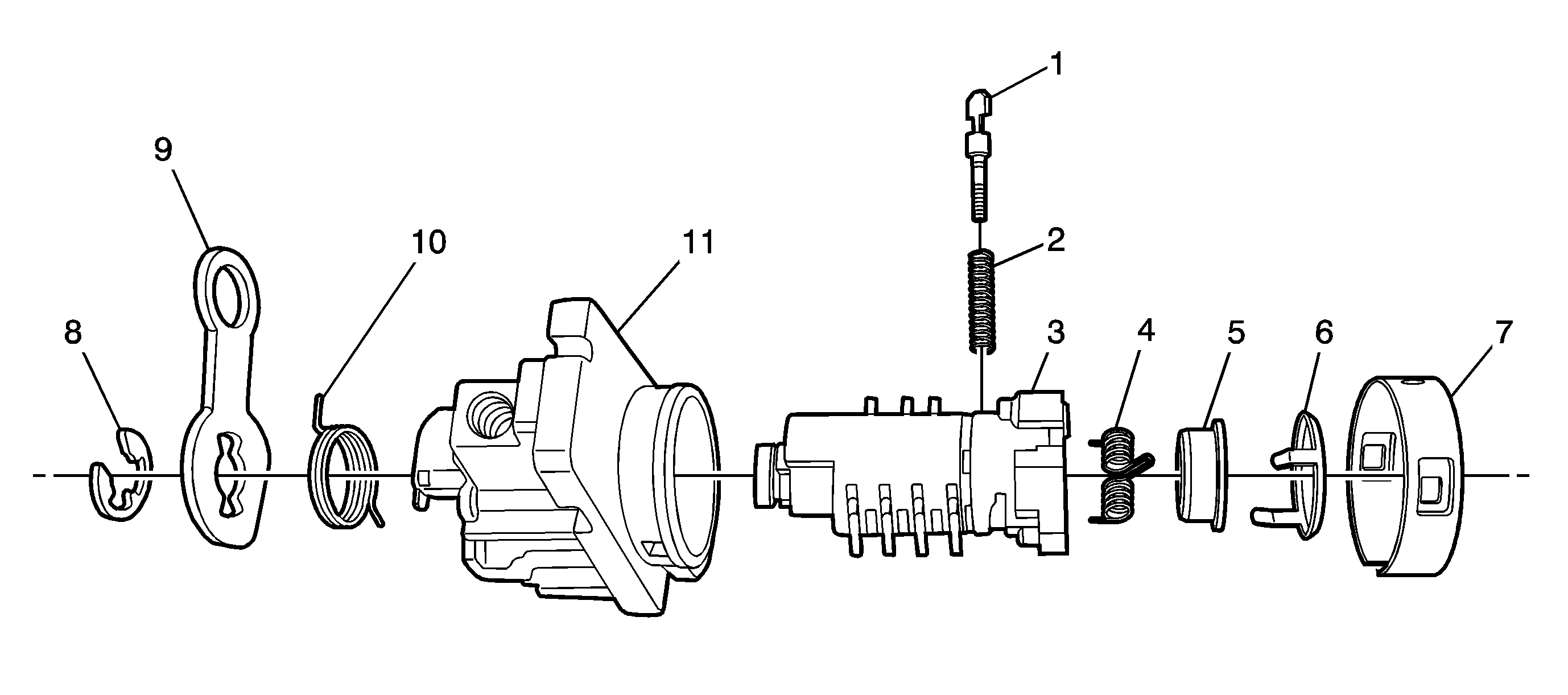
Door Lock Cylinder

The door lock cylinder uses 8 of the 10 key cut positions, 1-8 when counting from the key head. The tumbler orientations alternate in adjacent locations from side to side with 4 tumblers on each side.


    Object Number: 1978233  Size: SF

    Important: The door lock cylinder tumblers (3) are not self-retaining and must be held in place if the key is not fully inserted into the lock cylinder or until the lock cylinder (4) is assembled into the case assembly (1).

  1. Hold the uncoded door lock cylinder (3) with the housing window facing up.
  2. Insert one tumbler spring (2) into each of the 4 tumbler spring holes.
  3. The first tumbler (1) to be loaded will be key cut position 2, the second number in the key code. Install this tumbler in the tumbler slot closest to the head of the lock cylinder housing, the end where the key is inserted.
  4. Advancing one tumbler slot at a time, install tumblers 4, 6, and 8 sequentially on the same side as tumbler 2.
  5. Turn the lock cylinder over and insert one tumbler spring (2) into each of the 4 tumbler spring holes on the opposite side of the lock cylinder.
  6. Insert tumbler 1 into the tumbler slot closest to the head of the lock cylinder housing (3), the end where the key is inserted.
  7. Advancing one tumbler slot at a time, install tumblers 3, 5, and 7 sequentially on the same side as tumbler 1.
  8. Check for correct tumbler loading by holding the tumblers (1) in position and inserting the correct key into the lock cylinder. All tumblers (1) should be flush with the housing of the lock cylinder.
  9. Lightly lubricate the tumblers and small detent recessed areas the tumblers are in with GM Super Lube GM P/N 12346241, or equivalent light lithium grease.
  10. Holding the tumblers in place, remove the key from the coded lock cylinder (3) and install the key door spring (4) with the center loop of the spring facing the key slot.
  11. Install the key door (5) and hold in the closed position while pushing the key door cover (6) onto the coded lock cylinder (3). The key door (5) should be under tension from the key door spring (4), and the key door cover (6) tab will engage with the assembled lock cylinder (3), holding the key door cover in place once installed.
  12. Install the coded lock cylinder assembly into the door lock cylinder housing so the cut out area in the back of the lock cylinder assembly (3) lines up with the cut out area in the back of the door lock cylinder housing (11).
  13. Install the door lock cylinder housing cap (7) and crimp the cap into position in 2 areas at 1 o'clock and 7 o'clock when looking at the face of the assembly in car position.
  14. Install the return spring (10), inner winding end first, in the smaller notch in the lock cylinder housing (11).
  15. Using a small flat-blade tool, pull the outer winding of the spring (10) clockwise until it engages with the larger notch in the lock cylinder housing (11). Ensure the return spring is seated fully in the opening.

  16. Object Number: 1978239  Size: SH
  17. Install the door lock cylinder lever (9) and lever retaining clip (8).
  18. Install the coded door lock cylinder assembly into the door handle.

Instrument Panel Lock Cylinder

The instrument panel lock cannot be taken apart. This lock can only be replaced as a lock and latch assembly. The lock cylinder in this latch cannot be tumbled to match the code of the ignition lock cylinder. A key to match the replacement lock should be included with the replacement lock. Refer to Instrument Panel Compartment Door Lock Replacement.