GM Service Manual Online
For 1990-2009 cars only

Object Number: 1753809  Size: MF

Callout

Component Name

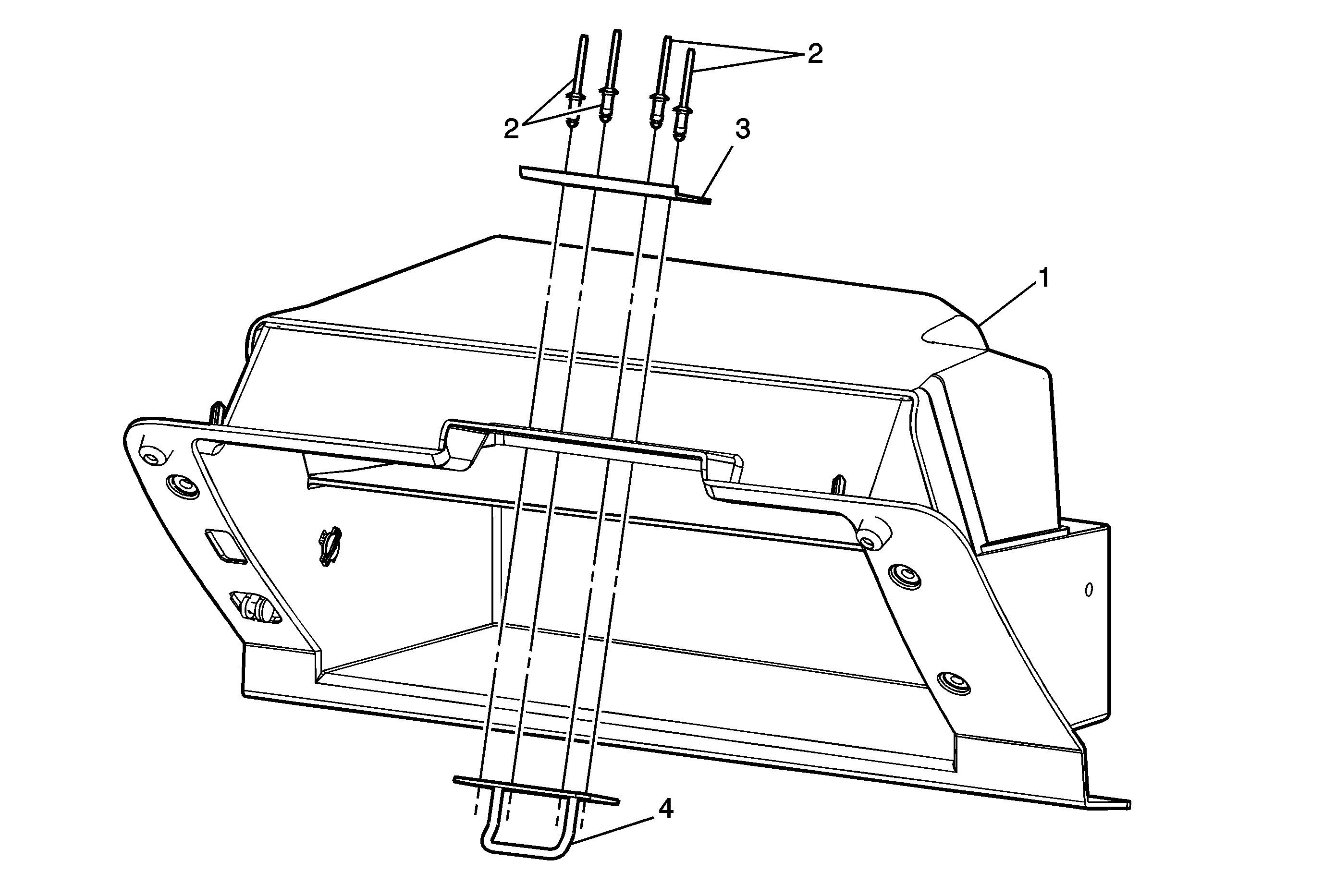
1

Instrument Panel Compartment Assembly

Refer to Instrument Panel Compartment Replacement .

2

Rivets (Qty 4)

3

Instrument Compartment Striker Plate

4

Instrument Compartment Striker Assembly