GM Service Manual Online
For 1990-2009 cars only

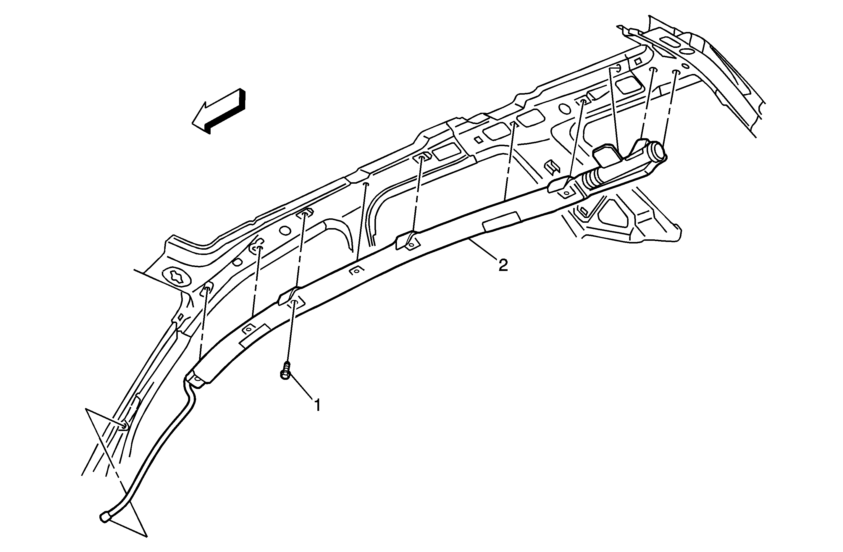
Object Number: 1720002  Size: MF

Callout

Component Name

Caution: Refer to SIR Inflator Module Handling and Storage Caution in the Preface section.

Caution: Use care when working around the roof rail inflator module because sharp objects may puncture the roof rail airbag and the airbag will not deploy correctly.

In order to avoid personal injury, if any part of the module is damaged replace the entire module

Preliminary Procedures

  1. Disable the SIR system. Refer to SIR Disabling and Enabling .
  2. Remove the headliner. Refer to Headlining Trim Panel Replacement .

1

Inflatable Restraint Roof Rail Module Bolt (Qty: 8)

Notice: Refer to Fastener Notice in the Preface section.

Tighten
5 N·m (44 lb in)

2

Inflatable Restraint Roof Rail Module

Procedure

  1. Disconnect the electrical connector.
  2. Remove all clips and plastic guides from the structure. Clips are designed for single usage only. The new inflator assembly will contain new clips and plastic guides.
  3. Position the module tether rearward of the molding attaching clips visually inspect the side curtain to assure that the curtain is not twisted.
  4. Start at the rear of the vehicle and install the inflator module to the structure with integral T-locator and fasteners working from the rear of the vehicle.
  5. After replacing the module, deploy the old module before disposal. If the module was replaced under warranty, fully deploy and dispose of the module after the required retention period. Refer to Inflator Module Handling and Scrapping .