GM Service Manual Online
For 1990-2009 cars only

Object Number: 1817622  Size: MF

Callout

Component Name

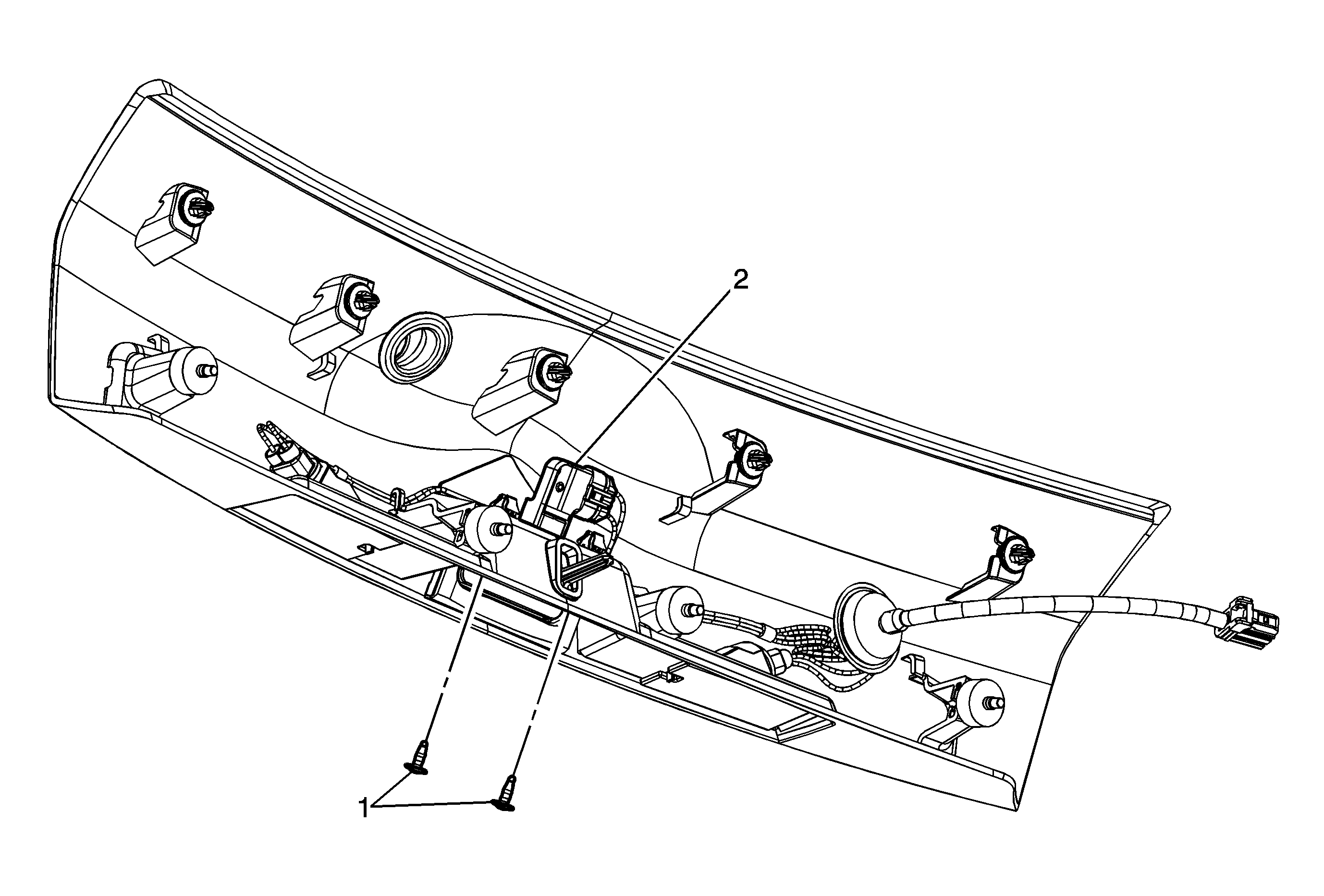
Preliminary Procedure

Remove the liftgate center applique. Refer to Liftgate Center Applique Replacement.

1

Liftgate Handle Screws (Qty: 2)

Notice: Refer to Fastener Notice in the Preface section.

Tighten
3 N·m (27 lb in)

2

Liftgate Handle

Tip
Disconnect the electrical connector.