GM Service Manual Online
For 1990-2009 cars only

To access the tools:

  1. Locate the jack and wheel wrench, which are located on the passenger's side of the rear cargo area, behind an access door. Pull out the access door to reach them.

  2. Object Number: 1399885  Size: A2
  3. Remove the wing-bolt on the jack and then remove it.
  4. Remove the hook and loop fastener straps holding the bag containing the wheel wrench. Remove the wheel wrench from the bag.

The following instructions explain how to remove the underbody-mounted spare underneath your vehicle.

Notice: If you remove or restow a tire from/to the storage position under the vehicle while it is supported by a jack, you could damage the tire and/or your vehicle. Always remove or restow a tire when the vehicle is on the ground.

  1. Open the liftgate. See Liftgate for more information.

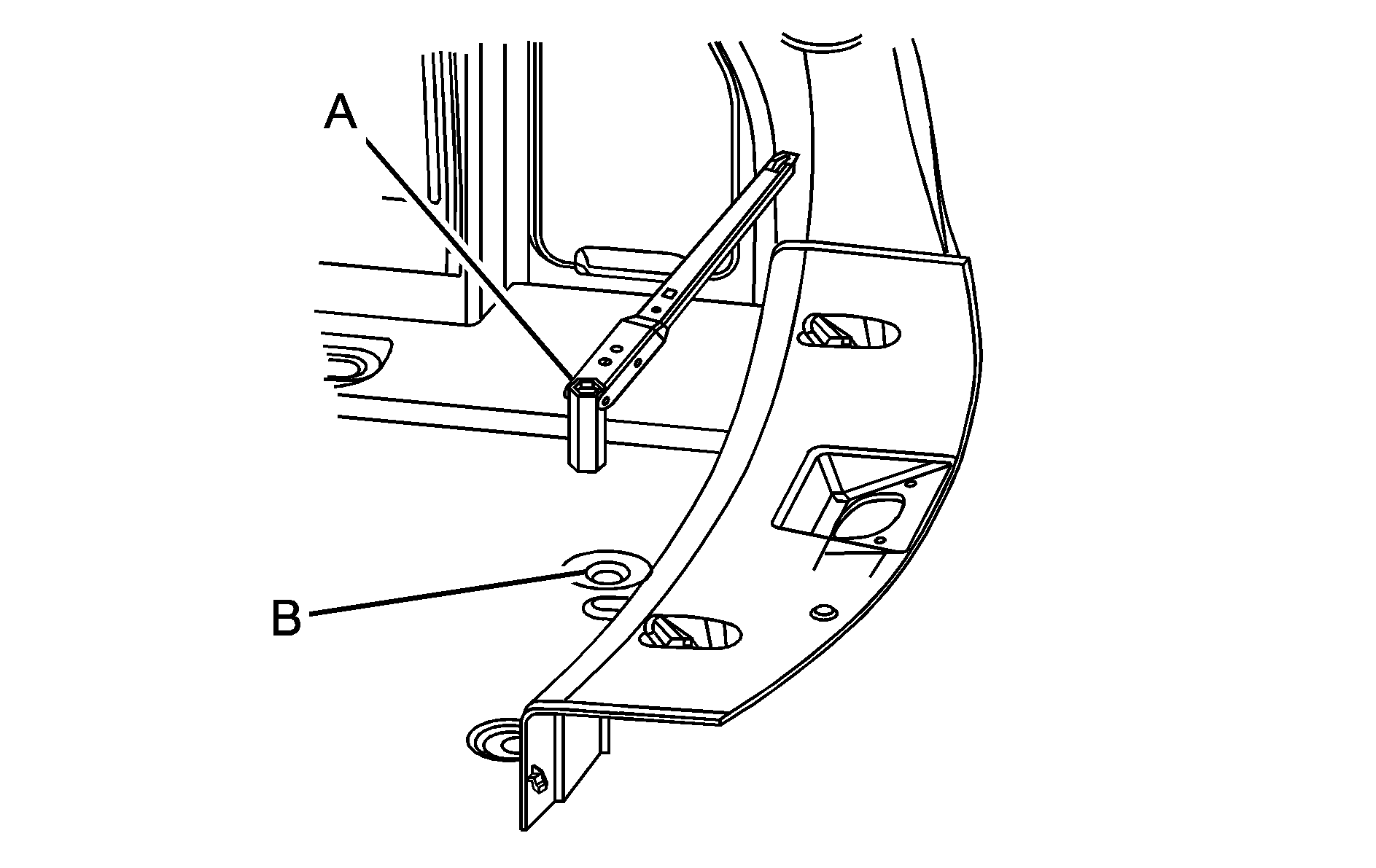
  2. Object Number: 1751347  Size: B3
  3. Place the wheel wrench (A) onto the hoist drive nut (B).
  4. Turn the wheel wrench counterclockwise to lower the spare tire. Keep turning the wheel wrench until the spare tire can be pulled out from under the vehicle.
  5. If the spare tire does not lower to the ground, the secondary latch is engaged causing the tire not to lower. See Secondary Latch System for more information.


    Object Number: 1306942  Size: B3
  6. Tilt the retainer at the end of the cable when the tire has been completely lowered, and pull it through the wheel opening.
  7. Pull the tire out from under the vehicle.
  8. Notice: If you drive away before the spare tire or secondary latch system cable has been reinstalled, you could damage your vehicle. Always reinstall this cable before driving your vehicle.

  9. Put the spare tire near the flat tire.