GM Service Manual Online
For 1990-2009 cars only

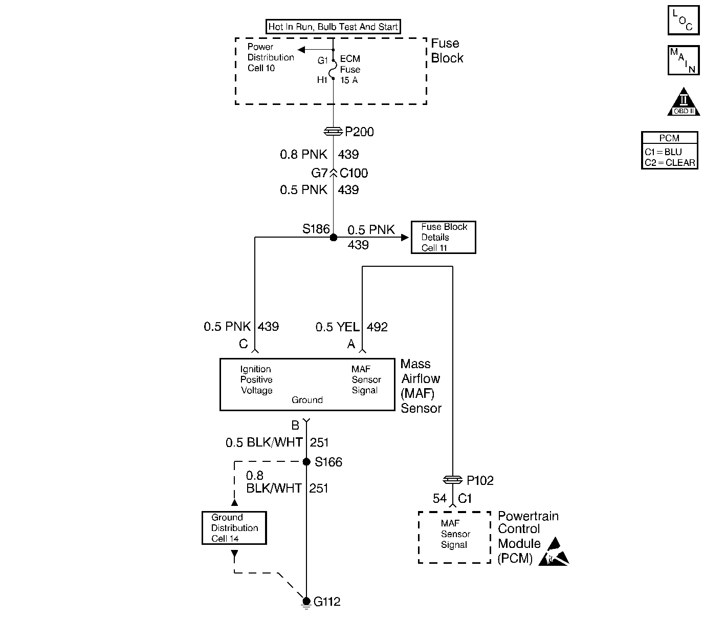
Object Number: 28296  Size: LF
Engine Controls Components
MAF, EVAP, and EGR Systems
OBD II Symbol Description Notice
Handling ESD Sensitive Parts Notice

Circuit Description

The Mass Air Flow (MAF) sensor measures the amount of air which passes through it into the engine during a given time. The PCM uses the mass air flow information to monitor engine operating conditions for fuel delivery calculations. A large quantity of air entering the engine indicates an acceleration or high load situation, while a small quantity of air indicates deceleration or idle.

The MAF sensor produces a frequency signal which can be monitored using a scan tool. The frequency will vary within a range of around 2000 Hertz at idle to near 10,000 Hertz at maximum engine load. DTC P0102 will be set if the signal from the MAF sensor is below the possible range of a normally operating MAF sensor.

Conditions for Setting the DTC

    • The engine is running.
    • MAF signal frequency is below 1200 Hertz
    • Above conditions present for over 0.5 seconds.
    • Throttle angle below 75%.

Action Taken When the DTC Sets

    • The PCM will illuminate the malfunction indicator lamp (MIL) during the first trip in which the diagnostic test has been run and failed.
    • The PCM will store conditions which were present when the DTC set as Freeze Frame and Failure Records data.

Conditions for Clearing the MIL/DTC

    • The PCM will turn OFF the MIL during the third consecutive trip in which the diagnostic has been run and passed.
    • The History DTC will clear after 40 consecutive warm-up cycles have occurred without a malfunction.
    • The DTC can be cleared by using the scan tool.

Diagnostic Aids

Check for the following conditions:

    • Poor connection at PCM. Inspect harness connectors for backed out terminals, improper mating, broken locks, improperly formed or damaged terminals, and poor terminal to wire connection.
    • Misrouted harness. Inspect the MAF sensor harness to ensure that it is not routed too close to high voltage wires such as spark plug leads.
    • Damaged harness. Inspect the wiring harness for damage. If the harness appears to be OK, observe the scan tool while moving connectors and wiring harnesses related to the MAF sensor. A change in the display will indicate the location of the fault.
    • Plugged intake air duct or filter element. A wide open throttle acceleration from a stop should cause the Mass Air Flow displayed on a scan tool to increase from about 4-7 gm/s at idle to 100 gm/s or greater at the time of the 1-2 shift. If not, check for a restriction.

If DTC P0102 cannot be duplicated, the information included in the Fail Records data can be useful in determining vehicle mileage since the DTC was last set.

Test Description

Number(s) below refer to the Step number(s) on the Diagnostic Chart:

  1. This step verifies that the problem is present at idle.

  2. A voltage reading of less than 4 or over 6 volts at the MAF sensor signal circuit indicates a fault in the wiring or a poor connection.

  3. Verifies that ignition feed voltage and a good ground are available at the MAF sensor.

  4. This vehicle is equipped with a PCM which utilizes an Electrically Erasable Programmable Read Only Memory (EEPROM). When the PCM is being replaced, the new PCM must be programmed. Refer to PCM Replacement and Programming Procedures in Powertrain Control Module (PCM) and Sensors.

Step

Action

Value(s)

Yes

No

1

Was the Powertrain On-Board Diagnostic System Check performed?

--

Go to Step 2

Go to Powertrain OBD System Check

2

  1. Start engine.
  2. With the engine idling, monitor MAF FREQUENCY display on the scan tool Eng. 1 data list.

Is MAF FREQUENCY below the specified value?

1200 Hz (1.2 kHz)

Go to Step 4

Go to Step 3

3

  1. Ignition ON, engine OFF.
  2. Review and record scan tool Fail Records data
  3. Operate vehicle within Fail Records conditions as noted.
  4. Using a scan tool, monitor SPECIFIC DTC info for DTC P0102.

Does scan tool indicate DTC P0102 failed this ignition?

--

Go to Step 4

Refer to Diagnostic Aids

4

  1. Check for the following conditions:
  2. • Objects blocking the MAF sensor inlet screen
    • Intake manifold vacuum leaks
    • Vacuum leaks at throttle body;
    • Vacuum leaks at EGR valve flange and pipes
    • Crankcase ventilation valve faulty, missing, or incorrectly installed.
  3. If a problem is found, repair as necessary.

Was a problem found?

--

Go to Step 14

Go to Step 5

5

  1. Ignition OFF.
  2. Disconnect the MAF sensor connector.
  3. Ignition ON, engine OFF.
  4. Using a DVM, measure voltage between the MAF signal circuit and battery ground.

Is the voltage near the specified value?

5V

Go to Step 6

Go to Step 9

6

Connect a test light between the MAF sensor ignition feed and ground circuits at the MAF sensor harness connector.

Is the test light ON?

--

Go to Step 8

Go to Step 7

7

Connect a test light between MAF sensor ignition feed circuit and battery ground

Is the test light ON?

--

Go to Step 10

Go to Step 11

8

  1. Check for a poor connection at the MAF sensor.
  2. If a poor connection is found, replace faulty terminal(s) (refer to Engine Electrical).

Was a poor connection found?

--

Go to Step 14

Go to Step 12

9

  1. Check the MAF signal circuit between the PCM and the MAF sensor for an open, short to ground, short to the MAF ground circuit, or short to voltage.
  2. If the MAF signal circuit is open or shorted, repair it as necessary (refer to Engine Electrical).

Was the MAF signal circuit open or shorted?

--

Go to Step 14

Go to Step 13

10

Locate and repair the open in the ground circuit to the MAF sensor (refer to Engine Electrical).

Is action complete?

--

Go to Step 14

--

11

Locate and repair the open in the ignition feed circuit to the MAF sensor (refer to Engine Electrical).

Is action complete?

--

Go to Step 14

--

12

Replace the MAF sensor.

Is action complete?

--

Go to Step 14

--

13

Replace the PCM.

Important: Replacement PCM must be programmed Refer to PCM Replacement/Programming.

Is action complete?

--

Go to Step 14

--

14

  1. Ignition ON, engine OFF, review and record scan tool Fail Records data.
  2. Clear DTCs.
  3. Operate vehicle within Fail Records conditions as noted.
  4. Using a scan tool, monitor SPECIFIC DTC info for DTC P0102.

Does scan tool indicate DTC P0102 failed this ignition?

--

Go to Step 2

Repair complete