GM Service Manual Online
For 1990-2009 cars only
Makes
🢒
Buick
🢒
1999
🢒
Century
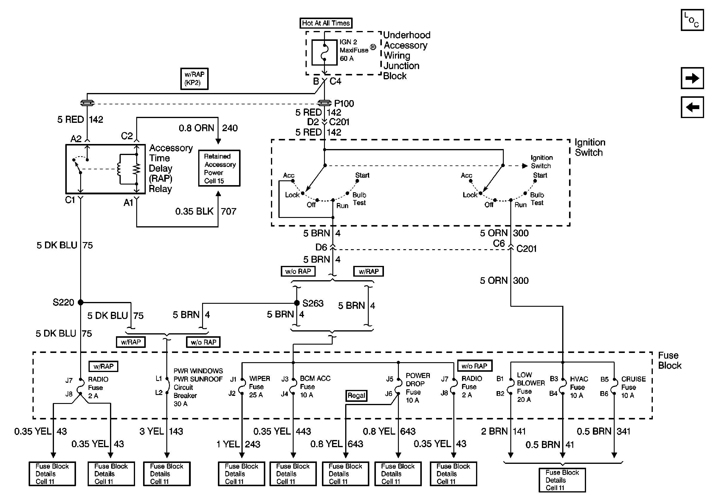
🢒 Cell 10: Accessory Time Delay Relay, and Ignition Switch
Cell 10: Accessory Time Delay Relay, and Ignition Switch
Cell 10: Accessory Time Delay Relay, and Ignition Switch
Power and Grounding Components
Cell 10: Ignition Switch
Cell 10: Battery, and Generator
Cell 11: WIPER, BCM ACC, POWER DROP, RADIO and STRG WHL CONT Fuses
Cell 11: WIPER, BCM ACC, POWER DROP, RADIO and STRG WHL CONT Fuses
Cell 11: PWR WINDOWS-PWR SUNROOF, REAR DEFOG and POWER SEATS Circuit Breakers
Cell 11: WIPER, BCM ACC, POWER DROP, RADIO and STRG WHL CONT Fuses
Cell 11: WIPER, BCM ACC, POWER DROP, RADIO and STRG WHL CONT Fuses
Cell 11: WIPER, BCM ACC, POWER DROP, RADIO and STRG WHL CONT Fuses
Cell 11: WIPER, BCM ACC, POWER DROP, RADIO and STRG WHL CONT Fuses
Cell 11: WIPER, BCM ACC, POWER DROP, RADIO and STRG WHL CONT Fuses
Cell 11: LOW BLOWER, CRUISE and HVAC Fuses