GM Service Manual Online
For 1990-2009 cars only
Makes
🢒
Buick
🢒
1999
🢒
Century
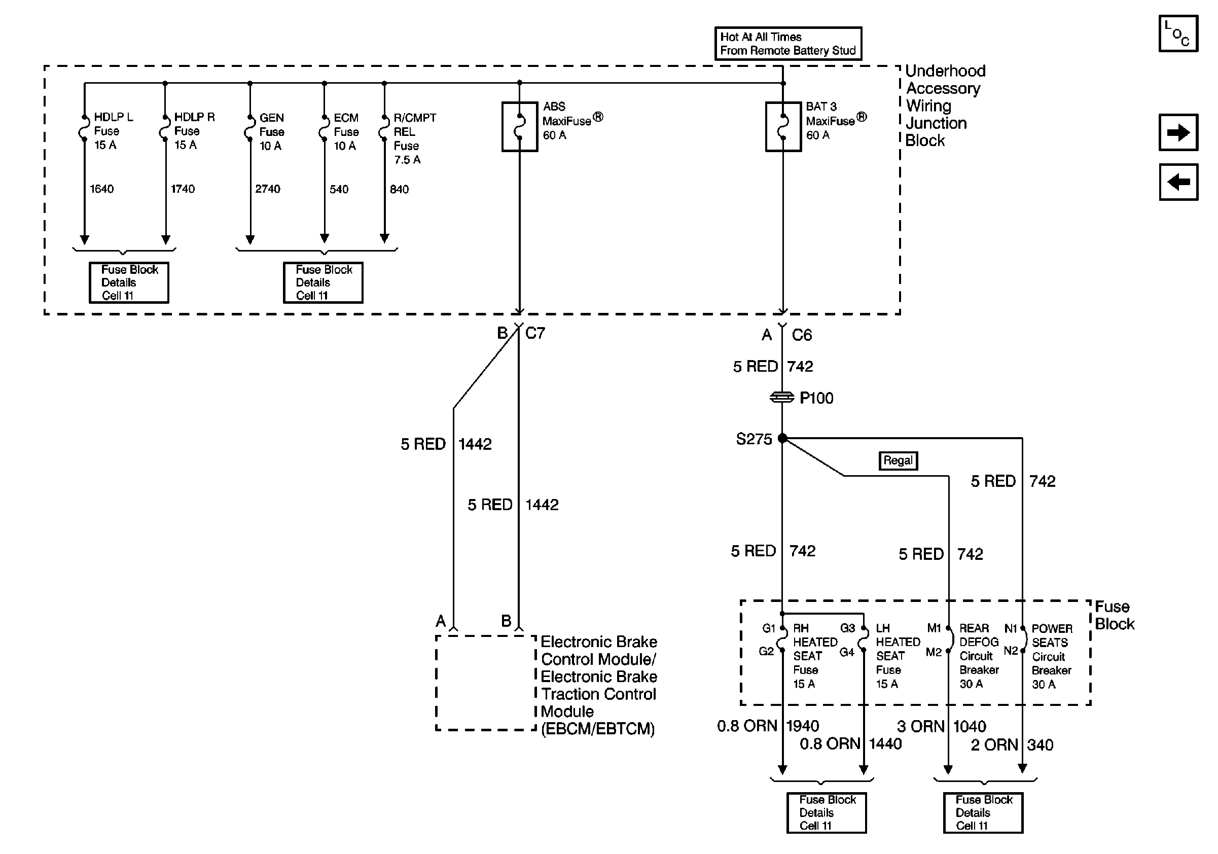
🢒 Cell 10: EBCM/EBTCM
Cell 10: EBCM/EBTCM
Cell 10: EBCM/EBTCM
Power and Grounding Components
Cell 10: Underhood Accessory Wiring Junction Block
Cell 10: Ignition Switch
Cell 11: HIGH BLOWER, HAZARD, STOP LAMPS, DOOR LOCKS, POWER MIRRORS, RH HEATED SEAT AND LH HEATED SEAT Fuses
Cell 11: PWR WINDOWS-PWR SUNROOF, REAR DEFOG and POWER SEATS Circuit Breakers
Cell 11: LP PARK, HDLP L and HDLP R Fuses
Cell 11: R/CMPT REL, ECM, GEN, F/PMP, FOG LP, A/C CLU, and HORN Fuses